TOP
|
特許
|
意匠
|
商標
特許ウォッチ
Twitter
他の特許を見る
10個以上の画像は省略されています。
公開番号
2025153472
公報種別
公開特許公報(A)
公開日
2025-10-10
出願番号
2024055970
出願日
2024-03-29
発明の名称
電池の固定構造
出願人
サクサ株式会社
代理人
個人
主分類
H01M
50/244 20210101AFI20251002BHJP(基本的電気素子)
要約
【課題】筐体内に電池を固定するにあたって固定するための部材を必要としない電池の固定構造を提供する。
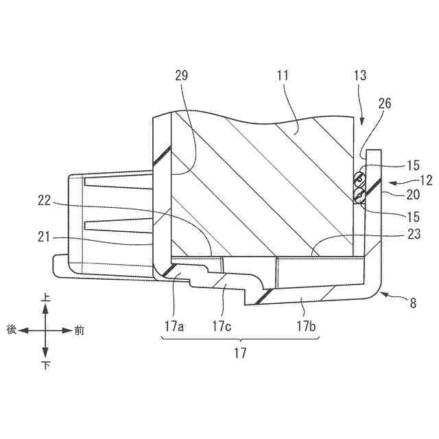
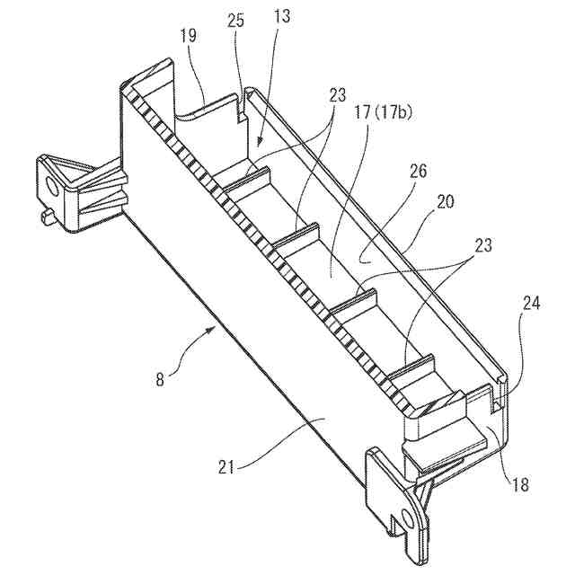
【解決手段】電子機器の筐体と、筐体内の電子部品と、リード線15が接続された電池11と、電池収納部13とを備える。電池収納部13は、リード線15が挿入される切り欠き(挿入部)を有する。挿入部に挿入されたリード線15が電池11と電池収納部13の上下方向に延びる縦壁面26との間に挟まれ、縦壁面26と対向する他の縦壁面29に向けて電池11が付勢されて電池収容部13の中で固定される。
【選択図】 図7
特許請求の範囲
【請求項1】
電子機器の筐体と、
前記筐体の内部に設けられた電子部品と、
前記電子部品に給電するリード線が接続された電池と、
前記筐体の内部に設けられ、前記電池を収納可能な大きさで上方に向けて開口する凹部からなる電池収納部とを備え、
前記電池収納部は、前記リード線が挿入される挿入部を有し、
前記挿入部に挿入された前記リード線が前記電池と前記電池収納部の上下方向に延びる縦壁面との間に挟まれることにより、前記縦壁面と対向する他の縦壁面に向けて前記電池が付勢されて前記電池収納部の中で固定されることを特徴とする電池の固定構造。
続きを表示(約 410 文字)
【請求項2】
請求項1に記載した電池の固定構造において、
前記電池収納部の前記他の縦壁面は、前記電池の背面と対向するように形成され、
前記挿入部は、前記電池収納部の両側部に形成され、
前記リード線は、前記電池の正面と前記電池収納部の正面壁との間に挿入されて前記電池を前記他の縦壁面に向けて付勢するものであることを特徴とする電池の固定構造。
【請求項3】
請求項2に記載した電池の固定構造において、
前記挿入部は、前記電池収納部の前記正面壁の一側部と他側部とに形成された切り欠きによって構成されていることを特徴とする電池の固定構造。
【請求項4】
請求項1~請求項3の何れか一つに記載した電池の固定構造において、
前記電池収納部の前記電池が載置される底は、上下方向に延びる板からなる複数のリブによって形成されていることを特徴とする電池の固定構造。
発明の詳細な説明
【技術分野】
【0001】
本発明は、電子機器の筐体内で電池を固定する電池の固定構造に関する。
続きを表示(約 1,600 文字)
【背景技術】
【0002】
筐体内に電池が収納された電子機器としては、例えば特許文献1に記載されたものがある。特許文献1に開示された電子機器は、形状が異なる複数の電池や、電池に代わるACアダプターを筐体内に収納できるように構成されている。
【先行技術文献】
【特許文献】
【0003】
特許第5061561号公報
【発明の概要】
【発明が解決しようとする課題】
【0004】
電子機器の筐体内に電池を収納する場合は、電池を筐体に固定するために何らかの固定構造や固定用の部材が必要である。このため、部品数を増やすことなく電池を筐体内に固定することが可能な電池の固定構造が要請されている。
本発明の目的は、筐体内に電池を固定するにあたって固定するための部材を必要としない電池の固定構造を提供することである。
【課題を解決するための手段】
【0005】
この目的を達成するために本発明に係る電池の固定構造は、電子機器の筐体と、前記筐体の内部に設けられた電子部品と、前記電子部品に給電するリード線が接続された電池と、前記筐体の内部に設けられ、前記電池を収納可能な大きさで上方に向けて開口する凹部からなる電池収納部とを備え、前記電池収納部は、前記リード線が挿入される挿入部を有し、前記挿入部に挿入された前記リード線が前記電池と前記電池収納部の上下方向に延びる縦壁面との間に挟まれることにより、前記縦壁面と対向する他の縦壁面に向けて前記電池が付勢されて前記電池収納部の中で固定されるものである。
【0006】
本発明は、前記電池の固定構造において、前記電池収納部の前記他の縦壁面は、前記電池の背面と対向するように形成され、前記挿入部は、前記電池収納部の両側部に形成され、前記リード線は、前記電池の正面と前記電池収納部の正面壁との間に挿入されて前記電池を前記他の縦壁面に向けて付勢するものであってもよい。
【0007】
本発明は、前記電池の固定構造において、前記挿入部は、前記電池収納部の前記正面壁の一側部と他側部とに形成された切り欠きによって構成されていてもよい。
【0008】
本発明は、前記電池の固定構造において、前記電池収納部の前記電池が載置される底は、上下方向に延びる板からなる複数のリブによって形成されていてもよい。
【発明の効果】
【0009】
本発明によれば、筐体内に電池を固定するにあたって固定するための部材を必要としない電池の固定構造を提供することができる。
【図面の簡単な説明】
【0010】
図1は、本発明に係る電池の固定構造を採用した電子機器の一部を示す斜視図である。
図2は、第1の実施の形態による電池収納ボックスと電池の斜め上方から見た斜視図である。
図3は、電池収納ボックスと電池の斜め下方から見た斜視図である。
図4は、電池収納ボックスの一部を破断して示す斜視断面図である。
図5は、電池収納ボックスの一部を破断して示す斜視断面図である。
図6は、電池収納ボックスの要部を拡大して示す平面図である。
図7は、電池収納ボックスと電池の側方から見た縦断面図である。
図8は、電池収納ボックスと電池の上方から見た横断面図である。
図9は、リード線の断面図である。
図10は、第2の実施の形態による電池収納ボックスと電池の斜視図である。
図11は、第2の実施の形態による電池収納ボックスと電池の下部の正面図である。
図12は、第3の実施の形態による電池収納ボックスと電池の斜視断面図である。
【発明を実施するための形態】
(【0011】以降は省略されています)
この特許をJ-PlatPat(特許庁公式サイト)で参照する
関連特許
サクサ株式会社
中継装置
1か月前
サクサ株式会社
中継装置
1か月前
サクサ株式会社
中継装置
1か月前
サクサ株式会社
無線システム
1か月前
サクサ株式会社
無線通信装置
1か月前
サクサ株式会社
無線通信装置
1か月前
サクサ株式会社
電池の固定構造
1か月前
サクサ株式会社
開き角度規制構造
1か月前
サクサ株式会社
管理装置及び管理方法
23日前
サクサ株式会社
通信装置及びプログラム
12日前
サクサ株式会社
選曲装置及び選曲プログラム
1か月前
サクサ株式会社
クッキー終端処理プログラム及び中継装置
1か月前
サクサ株式会社
ネットワークシステム、ネットワーク制御装置及びアクセスポイント装置
2日前
APB株式会社
蓄電セル
16日前
東ソー株式会社
絶縁電線
18日前
個人
フレキシブル電気化学素子
1か月前
日新イオン機器株式会社
イオン源
26日前
マクセル株式会社
電源装置
10日前
株式会社ユーシン
操作装置
1か月前
ローム株式会社
半導体装置
1か月前
株式会社東芝
端子台
10日前
ローム株式会社
半導体装置
17日前
株式会社GSユアサ
蓄電装置
11日前
株式会社ホロン
冷陰極電子源
24日前
太陽誘電株式会社
コイル部品
1か月前
株式会社GSユアサ
蓄電装置
11日前
株式会社GSユアサ
蓄電装置
3日前
オムロン株式会社
電磁継電器
1か月前
株式会社GSユアサ
蓄電設備
1か月前
株式会社GSユアサ
蓄電設備
1か月前
ノリタケ株式会社
熱伝導シート
1か月前
トヨタ自動車株式会社
蓄電装置
11日前
トヨタ自動車株式会社
バッテリ
1か月前
日本特殊陶業株式会社
保持装置
2日前
トヨタ自動車株式会社
バッテリ
16日前
トヨタ自動車株式会社
蓄電装置
1か月前
続きを見る
他の特許を見る