TOP
|
特許
|
意匠
|
商標
特許ウォッチ
Twitter
他の特許を見る
10個以上の画像は省略されています。
公開番号
2025154682
公報種別
公開特許公報(A)
公開日
2025-10-10
出願番号
2024057817
出願日
2024-03-29
発明の名称
選曲装置及び選曲プログラム
出願人
サクサ株式会社
,
サクサシステムエンジニアリング株式会社
代理人
個人
,
個人
主分類
G10K
15/02 20060101AFI20251002BHJP(楽器;音響)
要約
【課題】 ストリーミングサービスにおいて、所定の構内における複数の利用者の感情の総意を把握して、これに応じて楽曲の選曲が行えるようにする
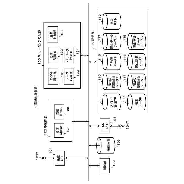
【解決手段】 データ収集部132が、感情認識用データを収集し、所定の分析タイミングで、感情認識部133が、所定の集計時点ごと、端末装置ごと、感情種別ごとに、感情種別のレベル値を算出する。パラメータ計算部134が、(1)所定の集計時点ごと、所定の感情種別ごとに、感情種別のレベル値の合計値を算出し、(2)所定の感情種別ごとに、感情種別のレベル値の合計値の平均値を算出し、(3)所定の感情種別ごとに、重み付け値を算出する。選曲制御部135が、重み付け値と、選曲データテーブル117の所定の感情種別ごとの楽曲数とに基づいて、所定の感情種別ごとの選曲率を算出して、これに従い、楽曲リスト119から次に再生するべき楽曲を選曲する。
【選択図】図3
特許請求の範囲
【請求項1】
ネットワークに接続された音声再生装置に対して、前記ネットワークを通じて楽曲データを選曲して提供する選曲装置であって、
所定の感情種別ごとに予め分類された配信可能な楽曲の曲数を有する選曲データテーブル記憶手段と、
配信対象の楽曲の楽曲識別情報と、配信対象の前記楽曲のそれぞれを評価することにより割り当てられる前記所定の感情種別とを対応付けた楽曲リスト記憶手段と、
前記ネットワークに接続された端末装置を通じて取得されるデータであって、前記音声再生装置から放音される楽曲を聴取する聴取者の感情を認識するための感情認識用データを、前記端末装置ごとに収集して、収集データ記憶手段に記録する収集手段と、
所定の分析タイミングにおいて、前記収集データ記憶手段の前記感情認識用データを用いて、所定の集計時点ごとであって、前記端末装置ごとに、前記所定の感情種別ごとのレベル値を算出し、第1の感情解析データ記憶手段に記録する感情認識手段と、
前記第1の感情解析データ記憶手段の格納データについて、前記集計時点ごとに、前記所定の感情種別ごとの前記レベル値の合計値を算出し、第2の感情解析データ記憶手段に格納する第1のパラメータ計算手段と、
前記第2の感情解析データ記憶手段の格納データについて、前記所定の感情種別ごとに、前記レベル値の前記合計値の平均値を算出し、平均値記憶手段に記録する第2のパラメータ計算手段と、
前記平均値記憶手段の格納データについて、前記所定の感情種別ごとに、選曲調整のための重み付け値を算出し、選曲調整データ記憶手段に記録する第3のパラメータ計算手段と、
前記選曲調整データ記憶手段の前記所定の感情種別ごとの重み付け値と、前記選曲データテーブル記憶手段の前記所定の感情種別ごとの前記楽曲の曲数とを用いて、前記所定の感情種別ごとの選曲率を算出し、当該選曲率に従って、前記楽曲リスト記憶手段から次に再生すべき楽曲を選曲する選曲制御手段と
を備えることを特徴とする選曲装置。
続きを表示(約 1,400 文字)
【請求項2】
請求項1に記載に選曲装置であって、
前記選曲データテーブル記憶手段には、前記所定の感情種別ごとに予め調整値が設定されており、
前記選曲制御手段は、前記所定の感情種別ごとに、前記重み付け値と、前記調整値と、前記楽曲の曲数とを用いて、選曲率を算出する
ことを特徴とする選曲装置。
【請求項3】
請求項1または請求項2に記載の選曲装置であって、
前記楽曲リスト記憶手段には、複数の前記所定の感情種別が割り当てられた楽曲が存在し、
前記選曲制御手段は、楽曲のそれぞれに割り当てられている1以上の前記所定の感情種別のそれぞれを考慮して、次に選曲すべき楽曲を選曲する
ことを特徴とする選曲装置。
【請求項4】
請求項1または請求項2に記載の選曲装置であって、
前記ネットワークに接続された端末装置は、グループ化されて管理されており、
前記収集手段、前記感情認識手段、前記第1のパラメータ計算手段、前記第2のパラメータ計算手段、前記第3のパラメータ計算手段、前記選曲制御手段のそれぞれは、グループ化された前記端末装置の範囲ごとに、楽曲の選曲を行うようにする
ことを特徴とする選曲装置。
【請求項5】
ネットワークに接続された音声再生装置に対して、前記ネットワークを通じて楽曲データを選曲して提供する選曲装置に搭載されるコンピュータで実行される選曲プログラムであって、
前記選曲装置は、所定の感情種別ごとに予め分類された配信可能な楽曲の曲数を有する選曲データテーブル記憶手段と、配信対象の楽曲の楽曲識別情報と、配信対象の前記楽曲のそれぞれを評価することにより割り当てられる前記所定の感情種別とを対応付けた楽曲リスト記憶手段とを備えており、
前記ネットワークに接続された端末装置を通じて取得されるデータであって、前記音声再生装置から放音される楽曲を聴取する聴取者の感情を分析するための感情認識用データを、前記端末装置ごとに収集して、収集データ記憶手段に記録する収集ステップと、
所定の分析タイミングにおいて、前記収集データ記憶手段の前記感情認識用データを用いて、所定の集計時点ごとであって、前記端末装置ごとに、前記所定の感情種別ごとのレベル値を算出し、第1の感情解析データ記憶手段に記録する感情認識ステップと、
前記第1の感情解析データ記憶手段の格納データについて、前記集計時点ごとに、前記所定の感情種別ごとの前記レベル値の合計値を算出し、第2の感情解析データ記憶手段に格納する第1のパラメータ計算ステップと、
前記第2の感情解析データ記憶手段の格納データについて、前記所定の感情種別ごとに、前記レベル値の前記合計値の平均値を算出し、平均値記憶手段に記録する第2のパラメータ計算ステップと、
前記平均値記憶手段の格納データについて、前記所定の感情種別ごとに、選曲調整のための重み付け値を算出し、選曲調整データ記憶手段に記録する第3のパラメータ計算ステップと、
前記選曲調整データ記憶手段の前記所定の感情種別ごとの重み付け値と、前記選曲データテーブル記憶手段の前記所定の感情種別ごとの前記楽曲の曲数とを用いて、前記所定の感情種別ごとの選曲率を算出し、当該選曲率に従って、前記楽曲リスト記憶手段から次に再生すべき楽曲を選曲する選曲制御ステップと
を有することを特徴とする選曲プログラム。
発明の詳細な説明
【技術分野】
【0001】
この発明は、例えば、会社のオフィスにおいて再生される楽曲を選曲する選曲装置、当該選曲装置で用いられる選曲プログラムに関する。
続きを表示(約 2,700 文字)
【背景技術】
【0002】
近年、主に働き方改革の一環として、ストリーミング形式で楽曲データの配信を受けて再生して提供するサービス(以下、ストリーミングサービスという。)を取り入れている企業、団体が増えてきている。ストリーミングサービスは、BGM(background music)サービスとも呼ばれ、主に楽曲を構内(オフィス)に再生して放音することで、静かな環境を彩るもので、コミュニケーション改善施策の一環として導入されることが多い。
【0003】
従来のストリーミングサービスは、楽曲をあらかじめ決められた順番に従って再生するものである。例えば、曜日ごとに決められたジャンルの楽曲を再生するものや曲調ごとにグループ分けされたプレイリストをもとに再生するものがある。そのため、次に再生される楽曲が必ずしもその現場の雰囲気に即しているものとは言えないことがある。また利用者側から見ても、導入後ある程度の期間が経過すると次の楽曲が体感として予測できてしまうためその刺激性は薄れ、コミュニケーションのきっかけにもならず形骸化している側面が見受けられる。
【0004】
このため、後に記す特許文献1に開示された自動選曲装置と同様の手法により、楽曲の選曲を行うことが考えられる。当該特許文献1に開示された自動選曲装置は、音楽の楽曲データとその曲の心理的な印象を表す空間の座標値である音楽感性空間座標値とが登録されているデータベースを備える。ユーザの音声の音声信号から、物理的特徴量を抽出し、これに基づいて、ユーザの感情を表す感情情報を生成する。生成した当該感情情報に基づいて、推奨する曲の心理的な印象を表す空間の座標値である音楽感性空間座標値を決定し、決定した当該音楽感性空間座標値に最も近い曲を、データベースから選曲して、再生する。これにより、ユーザ(聴取者)の感情に近い楽曲の再生が可能になる。
【先行技術文献】
【特許文献】
【0005】
特開2006-155157号公報
【発明の概要】
【発明が解決しようとする課題】
【0006】
特許文献1に開示された自動選曲装置は、カーオーディオ機器、ホームオーディオ機器等に利用されるものであり、個人的な利用に適したものである。このため、上述した企業、団体のオフィスにおいて利用されるストリーミングサービスへの適用には適していないと考えられる。すなわち、オフィスには複数の従業者が存在し、複数の従業者によって当該構内(オフィス内)の感情状態(雰囲気)が形成される。当該構内の感情状態は、複数の従業者によって形成されるため、種々の感情状態が含まれているものと考えられる。
【0007】
以上のことに鑑み、ストリーミングサービスにおいて、所定の構内における複数の利用者の感情の総意を把握して、これに応じて楽曲の選曲が行えるようにすることを目的とする。
【課題を解決するための手段】
【0008】
上記課題を解決するため、請求項1に記載の発明の選曲装置は、
ネットワークに接続された音声再生装置に対して、前記ネットワークを通じて楽曲データを選曲して提供する選曲装置であって、
所定の感情種別ごとに予め分類された配信可能な楽曲の曲数を有する選曲データテーブル記憶手段と、
配信対象の楽曲の楽曲識別情報と、配信対象の前記楽曲のそれぞれを評価することにより割り当てられる前記所定の感情種別とを対応付けた楽曲リスト記憶手段と、
前記ネットワークに接続された端末装置を通じて取得されるデータであって、前記音声再生装置から放音される楽曲を聴取する聴取者の感情を分析するための感情認識用データを、前記端末装置ごとに収集して、収集データ記憶手段に記録する収集手段と、
所定の分析タイミングにおいて、前記収集データ記憶手段の前記感情認識用データを用いて、所定の集計時点ごとであって、前記端末装置ごとに、前記所定の感情種別ごとのレベル値を算出し、第1の感情解析データ記憶手段に記録する感情認識手段と、
前記第1の感情解析データ記憶手段の格納データについて、前記集計時点ごとに、前記所定の感情種別ごとの前記レベル値の合計値を算出し、第2の感情解析データ記憶手段に格納する第1のパラメータ計算手段と、
前記第2の感情解析データ記憶手段の格納データについて、前記所定の感情種別ごとに、前記レベル値の前記合計値の平均値を算出し、平均値記憶手段に記録する第2のパラメータ計算手段と、
前記平均値記憶手段の格納データについて、前記所定の感情種別ごとに、選曲調整のための重み付け値を算出し、選曲調整データ記憶手段に記録する第3のパラメータ計算手段と、
前記選曲調整データ記憶手段の前記所定の感情種別ごとの重み付け値と、前記選曲テーブル記憶手段の前記所定の感情種別ごとの前記楽曲の曲数とを用いて、前記所定の感情種別ごとの選曲率を算出し、当該選曲率に従って、前記楽曲リスト記憶手段から次に再生すべき楽曲を選曲する選曲制御手段と
を備えることを特徴とする。
【0009】
この請求項1に記載の発明の選曲装置によれば、所定の感情種別ごとに予め分類された配信可能な楽曲の曲数を有する選曲データテーブル記憶手段を備える。また、配信対象の楽曲の楽曲識別情報と、配信対象の前記楽曲のそれぞれを評価することにより割り当てられる前記所定の感情種別とを対応付けた楽曲リスト記憶手段を備える。収集手段が、感情認識用データを収集し、収集された感情認識用データを感情認識手段が用いて、所定の分析タイミングで、所定の集計時点ごと、端末装置ごと、感情種別ごとに、感情種別のレベル値を算出する。
【0010】
次に、第1のパラメータ計算手段が、所定の集計時点ごと、所定の感情種別ごとに、感情種別のレベル値の合計値を算出し、第2のパラメータ計算手段が、所定の感情種別ごとに、感情種別のレベル値の合計値の平均値を算出する。次に、第3のパラメータ計算手段が、所定の感情書別ごとに、重み付け値を算出する。選曲制御手段は、重み付け値と、選曲データテーブル記憶手段の所定の感情種別ごとの楽曲数とに基づいて、所定の感情種別ごとの選曲率を算出して、これに従い、楽曲リスト記憶手段から次に再生するべき楽曲を選曲する。
【発明の効果】
(【0011】以降は省略されています)
この特許をJ-PlatPat(特許庁公式サイト)で参照する
関連特許
サクサ株式会社
無線システム
25日前
サクサ株式会社
管理装置及び管理方法
18日前
サクサ株式会社
通信装置及びプログラム
7日前
サクサ株式会社
選曲装置及び選曲プログラム
25日前
サクサ株式会社
クッキー終端処理プログラム及び中継装置
25日前
個人
歌唱補助器具
6日前
個人
管楽器用リガチャ-
14日前
大和ハウス工業株式会社
音低減設備
7日前
DIC株式会社
吸音材及び吸音部品
8日前
株式会社SinasSP
自動騒音低減装置
19日前
日本軽金属株式会社
遮音壁
26日前
株式会社第一興商
カラオケ装置
26日前
トヨタ自動車株式会社
判定装置
21日前
カシオ計算機株式会社
発音装置、発音方法及びプログラム
21日前
ブラザー工業株式会社
カラオケ装置及びカラオケプログラム
26日前
シャープ株式会社
電子機器および電子機器の制御方法
26日前
ブラザー工業株式会社
カラオケ用プログラム、及び、カラオケ装置
25日前
大建工業株式会社
吸音体及び音環境調整構造
21日前
株式会社JVCケンウッド
収音装置、収音方法、およびプログラム
21日前
ブラザー工業株式会社
音声録音装置、及び、音声録音用プログラム
25日前
有限会社ツバサ
エレキギターおよび保護フィルム付きの樹脂プレート
19日前
有限会社 宮脇工房
モーター挙動音発生装置
6日前
株式会社リコー
対話装置、対話システム、対話方法及びプログラム
25日前
株式会社SUBARU
乗物用遮音構造体、及び車両
18日前
株式会社NTTドコモ
情報処理装置及び情報処理方法
26日前
本田技研工業株式会社
能動型振動騒音制御装置
25日前
本田技研工業株式会社
能動型振動騒音制御装置
25日前
本田技研工業株式会社
能動型振動騒音低減装置
26日前
本田技研工業株式会社
能動型振動騒音低減装置
26日前
大阪瓦斯株式会社
音声情報出力システムおよび音声情報出力装置
26日前
株式会社クラウン・パッケージ
音発生具及び音発生具を形成するブランクシート
25日前
カシオ計算機株式会社
情報処理装置、方法およびプログラム
21日前
株式会社コルグ
楽音信号変換装置、楽音信号変換方法、プログラム
今日
固昌通訊股ふん有限公司
音響調整装置
11日前
株式会社東芝
発話言語理解のためのシステムおよび方法
12日前
株式会社淺沼組
音響システムおよび音響システム付き建築物
25日前
続きを見る
他の特許を見る