TOP
|
特許
|
意匠
|
商標
特許ウォッチ
Twitter
他の特許を見る
公開番号
2025153476
公報種別
公開特許公報(A)
公開日
2025-10-10
出願番号
2024055976
出願日
2024-03-29
発明の名称
開き角度規制構造
出願人
サクサ株式会社
代理人
個人
主分類
H05K
5/02 20060101AFI20251002BHJP(他に分類されない電気技術)
要約
【課題】既に開閉する構造が形成されているケースユニットの開き角度を規制することが可能な開き角度規制構造を提供する。
【解決手段】電子機器の内部に設けられた開閉式のケースユニット11の開き角度を規制する開き角度規制部材22を備える。ケースユニット11は、内部に電子部品を収納し、壁と平行になる第1のケース16と、第1のケース16の下端部に開閉軸17を介して開閉自在に取り付けられた第2のケース18とを有する。開き角度規制部材22は、第2のケース18が開く際の第2のケース18の移動経路を遮り、開いた第2のケース18が当接する少なくとも一つの当接部24を有している。当接部24は、開閉軸17の軸線方向において第2のケース18より小さい。
【選択図】 図3
特許請求の範囲
【請求項1】
壁に取り付けられる電子機器の内部に開閉式のケースユニットとともに設けられ、前記ケースユニットの開き角度を規制する開き角度規制部材を備えた開き角度規制構造であって、
前記ケースユニットは、内部に電子部品を収納するものであって、前記壁と平行になる状態で上下方向に延びる第1のケースと、前記第1のケースの下端部に水平な開閉軸を介して水平方向に開閉自在に取り付けられた第2のケースとを有し、
前記開き角度規制部材は、前記第2のケースが開く際の前記第2のケースの移動経路を遮るように配置されているとともに、前記第2のケースが予め定めた開き角度に達した状態で前記第2のケースが当接する少なくとも一つの当接部を有し、
前記当接部は、前記開閉軸の軸線方向において前記第2のケースより小さく形成されていることを特徴とする開き角度規制構造。
続きを表示(約 370 文字)
【請求項2】
請求項1に記載した開き角度規制構造において、
前記開き角度規制部材は、前記第1のケースの下方近傍で前記開閉軸の軸線方向に延びるとともに上下方向に延びる基部を有し、
前記当接部は、上下方向および前記壁に垂直な方向に延びる板状に形成されて前記基部に凸設され、
前記基部における前記当接部と隣合う部分には、上方に向かうにしたがって次第に前記壁に近付くように傾斜する傾斜面が形成されていることを特徴とする開き角度規制構造。
【請求項3】
請求項1または請求項2に記載した開き角度規制構造において、
前記予め定めた開き角度は、開いた状態にある前記第2のケースの上に載置された前記電子部品が滑り落ちることなく前記第2のケースの上に保持される角度であることを特徴とする開き角度規制構造。
発明の詳細な説明
【技術分野】
【0001】
本発明は、一方のケースに対して他方のケースが開閉自在に形成されたケースの近傍に配置され、他方のケースの開き角度を規制する開き角度規制構造に関する 。
続きを表示(約 1,800 文字)
【背景技術】
【0002】
一方のケースが他方のケースに対して開閉する構造としては、例えば、特許文献1に記載された開閉構造が知られている。この特許文献1に開示された開閉構造は、枢軸が一端部に設けられたロアケースと、枢軸が挿入される軸受孔が設けられたアッパーケースとを備えている。枢軸がアッパケースの軸受孔に挿入されることにより、アッパーケースがロアケースに開閉自在に支持される。一方、ロアケースには弾性片が設けられ、アッパーケースには弾性片が係合する保持体が設けられている。
この開閉構造は、ロアケースの弾性片とアッパケースの保持体が係合することにより、アッパーケースが90°以上の開き角度で開くことを規制し、開き過ぎることによる破損も防止する。
【先行技術文献】
【特許文献】
【0003】
特許第4626325号公報
【発明の概要】
【発明が解決しようとする課題】
【0004】
上述したように従来の開閉構造においては、ある角度以上に開いて破損することを防止するために、開き角度を規制する構造がケースの内部に形成されていることが多い。
しかしながら、この開閉構造は、ケースの構造自体に組み込んだり一体で形成することが多く、既に開閉する構造が形成されているケースユニットとして市販されているものに対しては、組み込むことは難しかった。
【0005】
本発明の目的は、既に開閉する構造が形成されているケースユニットの開き角度を規制することが可能な開き角度規制構造を提供することである。
【課題を解決するための手段】
【0006】
この目的を達成するために本発明に係る開き角度規制構造は、壁に取り付けられる電子機器の内部に開閉式のケースユニットとともに設けられ、前記ケースユニットの開き角度を規制する開き角度規制部材を備えた開き角度規制構造であって、前記ケースユニットは、内部に電子部品を収納するものであって、前記壁と平行になる状態で上下方向に延びる第1のケースと、前記第1のケースの下端部に水平な開閉軸を介して水平方向に開閉自在に取り付けられた第2のケースとを有し、前記開き角度規制部材は、前記第2のケースが開く際の前記第2のケースの移動経路を遮るように配置されているとともに、前記第2のケースが予め定めた開き角度に達した状態で前記第2のケースが当接する少なくとも一つの当接部を有し、前記当接部は、前記開閉軸の軸線方向において前記第2のケースより小さく形成されているものである。
【0007】
本発明は、前記開き角度規制構造において、前記開き角度規制部材は、前記第1のケースの下方近傍で前記開閉軸の軸線方向に延びるとともに上下方向に延びる基部を有し、前記当接部は、上下方向および前記壁に垂直な方向に延びる板状に形成されて前記基部に凸設され、前記基部における前記当接部と隣合う部分には、上方に向かうにしたがって次第に前記壁に近付くように傾斜する傾斜面が形成されていてもよい。
【0008】
本発明は、前記開き角度規制構造において、前記予め定めた開き角度は、開いた状態にある前記第2のケースの上に載置された前記電子部品が滑り落ちることなく前記第2のケースの上に保持される角度であってもよい。
【発明の効果】
【0009】
本発明によれば、既に開閉する構造が形成されているケースユニットの開き角度を規制することが可能な開き角度規制構造を提供することができる。
【図面の簡単な説明】
【0010】
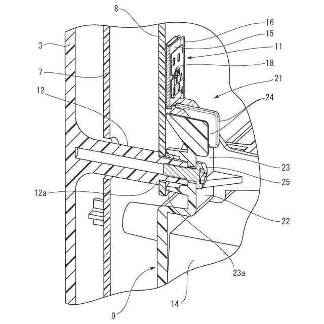
図1は、本発明に係る開き角度規制構造が適用された電子機器の内部を示す斜視図である。
図2は、ケースユニットの第2のケースが閉じた状態を示す要部の斜視図である。
図3は、ケースユニットの第2のケースが開いた状態を示す要部の斜視図である。
図4は、要部の斜視断面図である。
図5は、第2のケースが開いた状態を示す要部の断面図である。
図6は、SIMカードを第2のケースに載置した状態を示す要部の断面図である。
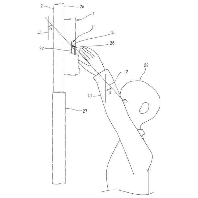
図7は、ケースユニットを操作する際の作業状態を示す側面図である。
【発明を実施するための形態】
(【0011】以降は省略されています)
この特許をJ-PlatPat(特許庁公式サイト)で参照する
関連特許
サクサ株式会社
中継装置
1か月前
サクサ株式会社
中継装置
1か月前
サクサ株式会社
中継装置
2か月前
サクサ株式会社
無線システム
1か月前
サクサ株式会社
無線通信装置
1か月前
サクサ株式会社
無線通信装置
1か月前
サクサ株式会社
電池の固定構造
1か月前
サクサ株式会社
開き角度規制構造
1か月前
サクサ株式会社
管理装置及び管理方法
1か月前
サクサ株式会社
通信装置及びプログラム
1か月前
サクサ株式会社
選曲装置及び選曲プログラム
1か月前
サクサ株式会社
クッキー終端処理プログラム及び中継装置
1か月前
サクサ株式会社
ネットワークシステム、コードレス電話装置及びネットワーク制御装置
1日前
サクサ株式会社
ネットワークシステム、ネットワーク制御装置及びアクセスポイント装置
20日前
個人
電子部品の実装方法
1か月前
日本精機株式会社
回路基板
2か月前
個人
非衝突型ガウス加速器
3か月前
個人
電気式バーナー
1か月前
愛知電機株式会社
装柱金具
1か月前
日星電気株式会社
面状ヒータ
13日前
日本放送協会
基板固定装置
2か月前
アイホン株式会社
電気機器
3か月前
キヤノン株式会社
電子機器
2か月前
アイホン株式会社
電気機器
2か月前
イビデン株式会社
配線基板
1か月前
個人
節電材料
3か月前
メクテック株式会社
配線基板
3か月前
東レ株式会社
霧化状活性液体供給装置
3か月前
個人
静電気中和除去装置
28日前
イビデン株式会社
配線基板
3か月前
サクサ株式会社
筐体の壁掛け構造
2か月前
株式会社レクザム
剥離装置
1か月前
サクサ株式会社
開き角度規制構造
1か月前
FDK株式会社
基板
1か月前
イビデン株式会社
配線基板
2か月前
シャープ株式会社
加熱機器
1か月前
続きを見る
他の特許を見る