TOP
|
特許
|
意匠
|
商標
特許ウォッチ
Twitter
他の特許を見る
公開番号
2025152063
公報種別
公開特許公報(A)
公開日
2025-10-09
出願番号
2024053780
出願日
2024-03-28
発明の名称
剥離装置
出願人
株式会社レクザム
代理人
個人
,
個人
主分類
H05K
13/04 20060101AFI20251002BHJP(他に分類されない電気技術)
要約
【課題】部品に貼着された部品吸着用のフィルムをより確実に剥がすことができる剥離装置を提供する。
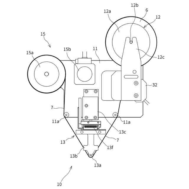
【解決手段】部品に貼着された部品吸着用のフィルムを剥がす剥離装置1は、環状に巻かれた粘着テープ7を有する環状テープ体6を回転可能に保持する保持部12、環状テープ体6から引き出された粘着テープ7の粘着面を、部品に貼着されたフィルムに押圧するヘッド13aを有するヘッド部13、及び環状テープ体6からヘッド13aを介して粘着テープ7を引き出す引き出し部15を有するヘッドユニット10と、ヘッドユニット10とフィルムの貼着された部品とを相対的に移動させる移動部と、部品に貼着されたフィルムを粘着テープ7の粘着力を用いて剥がすために少なくとも移動部を制御する制御部30とを備える。
【選択図】図3A
特許請求の範囲
【請求項1】
部品に貼着された部品吸着用のフィルムを剥がす剥離装置であって、
環状に巻かれた粘着テープを有する環状テープ体を回転可能に保持する保持部、
前記環状テープ体から引き出された粘着テープの粘着面を、部品に貼着されたフィルムに押圧するヘッドを有するヘッド部、及び
前記環状テープ体から前記ヘッドを介して粘着テープを引き出す引き出し部を有するヘッドユニットと、
前記ヘッドユニットと、フィルムの貼着された部品とを相対的に移動させる移動部と、
部品に貼着されたフィルムを粘着テープの粘着力を用いて剥がすために少なくとも前記移動部を制御する制御部と、を備えた剥離装置。
続きを表示(約 1,100 文字)
【請求項2】
前記ヘッドは、回転可能に支持されたローラであり、
前記ローラの外周面は弾性部材によって構成されている、請求項1記載の剥離装置。
【請求項3】
前記ヘッド部において、前記ローラは、前記ローラの押圧方向に垂直な方向であり、かつ、当該ローラの回転軸に垂直な方向に移動可能に支持されており、粘着テープの移動方向における前記ローラの押圧方向に垂直な面成分の方向に付勢されている、請求項2記載の剥離装置。
【請求項4】
前記ヘッドユニットは、前記ヘッド部における前記ローラの移動をロックするロック機構をさらに備え、
前記制御部は、前記ロック機構によって前記ローラの移動をロックさせた状態で、前記移動部によって前記ローラの外周面上の粘着テープの粘着面を、部品に貼着されたフィルムに押圧させ、当該押圧後に前記ロック機構によって前記ローラの移動のロックを解除させた状態で、前記引き出し部によって前記環状テープ体から粘着テープを引き出させる、請求項3記載の剥離装置。
【請求項5】
前記制御部は、フィルムの貼着された部品の種類ごとに、前記ヘッドによって、部品に貼着されたフィルムに粘着テープを押圧する時間を変更する、請求項1記載の剥離装置。
【請求項6】
前記環状テープ体における粘着テープの残量を取得する残量取得部と、
前記残量取得部によって取得された残量が閾値より少なくなった場合に、前記環状テープ体における粘着テープの残量が少ない旨を出力する出力部と、をさらに備えた、請求項1から請求項5のいずれか記載の剥離装置。
【請求項7】
前記環状テープ体から引き出された粘着テープの有無を検出する検出部と、
前記検出部によって粘着テープのないことが検出された場合に、粘着テープがない旨を出力する出力部と、をさらに備えた、請求項1から請求項5のいずれか記載の剥離装置。
【請求項8】
フィルムの貼着された部品を撮影した撮影画像を取得する撮影部をさらに備え、
前記制御部は、前記撮影画像を用いてフィルムの位置を特定し、特定したフィルムの位置に前記ヘッドが移動するように前記移動部を制御する、請求項1から請求項5のいずれか記載の剥離装置。
【請求項9】
前記制御部によって、部品に貼着されたフィルムを剥がすための制御が行われた後に部品を撮影した撮影画像を取得する撮影部をさらに備え、
前記制御部は、フィルムを剥がすための制御が行われた後に取得された撮影画像において、フィルムの貼着された部品が存在する場合に、当該フィルムを剥がすための制御を再度行う、請求項1から請求項5のいずれか記載の剥離装置。
発明の詳細な説明
【技術分野】
【0001】
本発明は、部品に貼着された部品吸着用のフィルムを剥がす剥離装置に関する。
続きを表示(約 2,100 文字)
【背景技術】
【0002】
従来、電子部品などの部品をエアー吸着して基板に自動実装することが行われている。そのような吸着を行うためには、部品が平坦な吸着面を有していることが必要である。そのため、例えば、コネクタやディップスイッチなどのように、吸着用の平坦な吸着面のない部品については、部品吸着用のフィルムを部品に貼着し、そのフィルムの面を吸着することによって部品の基板への自動実装が行われていた。
【0003】
そのような部品に貼着されたフィルムは、部品の実装された基板の外観検査や電気試験の妨げになるため、リフロー後に部品からフィルムを取り外すことが行われていた。そのフィルムの取り外しは、例えば、フィルムを熱で変形させた後に、変形したフィルムを送風によって引き剥がす方法(特許文献1参照)や、人手での作業によって行われていた。
【先行技術文献】
【特許文献】
【0004】
特開2009-283577号公報
【発明の概要】
【発明が解決しようとする課題】
【0005】
人手でフィルムを剥がす作業は、作業者の負担が大きく、また多大な時間が必要であるという問題があった。また、上記特許文献1の方法では、例えば、熱によって変形しないフィルムが用いられている場合には、部品からフィルムを剥がすことができなくなる。また、フィルムの粘着力が大きい場合には、送風によってフィルムを引き剥がすことができない可能性もある。このように、上記特許文献1の方法では、部品からフィルムを剥がす際の確実性が低いという問題があった。
【0006】
本発明は、上記課題を解決するためになされたものであり、部品に貼着された部品吸着用のフィルムをより確実に剥がすことができる剥離装置を提供することを目的とする。
【課題を解決するための手段】
【0007】
上記目的を達成するため、本発明の一態様による剥離装置は、部品に貼着された部品吸着用のフィルムを剥がす剥離装置であって、環状に巻かれた粘着テープを有する環状テープ体を回転可能に保持する保持部、環状テープ体から引き出された粘着テープの粘着面を、部品に貼着されたフィルムに押圧するヘッドを有するヘッド部、及び環状テープ体からヘッドを介して粘着テープを引き出す引き出し部を有するヘッドユニットと、ヘッドユニットと、フィルムの貼着された部品とを相対的に移動させる移動部と、部品に貼着されたフィルムを粘着テープの粘着力を用いて剥がすために少なくとも移動部を制御する制御部と、を備えたものである。
このような構成により、部品に貼着された部品吸着用のフィルムを、粘着テープの粘着力を用いて剥がすことができる。したがって、熱と送風によってフィルムを剥がす場合よりも、より確実にフィルムを剥がすことができる。また、人手によってフィルムを剥がさなくてもよくなるため、作業者の作業負担を軽減することができ、より短時間でフィルムを剥がすことができるようになる。
【0008】
また、本発明の一態様による剥離装置では、ヘッドは、回転可能に支持されたローラであり、ローラの外周面は弾性部材によって構成されていてもよい。
このような構成により、ローラであるヘッドによって粘着テープをフィルムに密着させることができ、その結果として、より確実にフィルムを剥がすことができるようになる。
【0009】
また、本発明の一態様による剥離装置では、ヘッド部において、ローラは、ローラの押圧方向に垂直な方向であり、かつ、ローラの回転軸に垂直な方向に移動可能に支持されており、粘着テープの移動方向における前記ローラの押圧方向に垂直な面成分の方向に付勢されていてもよい。
このような構成により、例えば、ローラによって粘着テープをフィルムに押圧した状態で、ローラを転動させることができ、粘着テープが粘着するフィルムの面積をより広くすることによって両者の密着性をより高めることができる。
【0010】
また、本発明の一態様による剥離装置では、ヘッドユニットは、ヘッド部におけるローラの移動をロックするロック機構をさらに備え、制御部は、ロック機構によってローラの移動をロックさせた状態で、移動部によってローラの外周面上の粘着テープの粘着面を、部品に貼着されたフィルムに押圧させ、押圧後にロック機構によってローラの移動のロックを解除させた状態で、引き出し部によって環状テープ体から粘着テープを引き出させてもよい。
このような構成により、ローラによって粘着テープの粘着面をフィルムに押圧する際にはローラの移動をロックすることによって、例えば、フィルムの端部において確実に粘着テープとフィルムとが密着するようにすることができる。また、その後にロックを解除することによって、ローラが移動できるようになり、例えば、端部からフィルムを剥がしながら、より広い範囲において粘着テープとフィルムとを密着させることができ、より確実にフィルムを剥がすことができるようになる。
(【0011】以降は省略されています)
この特許をJ-PlatPat(特許庁公式サイト)で参照する
関連特許
株式会社レクザム
剥離装置
26日前
個人
電子部品の実装方法
1か月前
愛知電機株式会社
装柱金具
26日前
個人
非衝突型ガウス加速器
2か月前
個人
電気式バーナー
18日前
日本精機株式会社
回路基板
1か月前
イビデン株式会社
配線基板
27日前
個人
節電材料
2か月前
キヤノン株式会社
電子機器
1か月前
アイホン株式会社
電気機器
1か月前
アイホン株式会社
電気機器
2か月前
日本放送協会
基板固定装置
1か月前
メクテック株式会社
配線基板
2か月前
個人
静電気中和除去装置
5日前
東レ株式会社
霧化状活性液体供給装置
2か月前
サクサ株式会社
開き角度規制構造
25日前
イビデン株式会社
配線基板
2か月前
株式会社レクザム
剥離装置
26日前
サクサ株式会社
筐体の壁掛け構造
2か月前
株式会社デンソー
電子装置
27日前
FDK株式会社
基板
1か月前
イビデン株式会社
プリント配線板
1か月前
シャープ株式会社
加熱機器
11日前
イビデン株式会社
配線基板
2か月前
日産自動車株式会社
電子部品
1か月前
オムロン株式会社
端子折り曲げ治具
1か月前
富士フイルム株式会社
積層体
27日前
株式会社レゾナック
冷却装置
1か月前
新電元工業株式会社
電子装置
1か月前
新光電気工業株式会社
配線基板
1か月前
富士電子工業株式会社
高周波焼入装置
3か月前
タイガー魔法瓶株式会社
加熱器
1か月前
富士電子工業株式会社
誘導加熱コイル
28日前
富士電子工業株式会社
誘導加熱コイル
28日前
日本無線株式会社
電子機器用密閉構造
2か月前
日本特殊陶業株式会社
配線基板
2か月前
続きを見る
他の特許を見る