TOP
|
特許
|
意匠
|
商標
特許ウォッチ
Twitter
他の特許を見る
公開番号
2025167405
公報種別
公開特許公報(A)
公開日
2025-11-07
出願番号
2024071966
出願日
2024-04-25
発明の名称
電子制御装置
出願人
株式会社デンソー
代理人
個人
,
個人
主分類
H05K
7/14 20060101AFI20251030BHJP(他に分類されない電気技術)
要約
【課題】配線基板の固定力が向上された電子制御装置を提供すること。
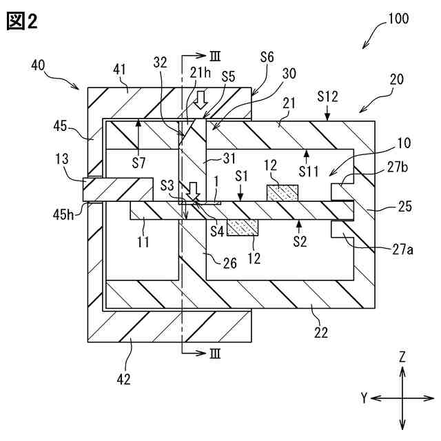
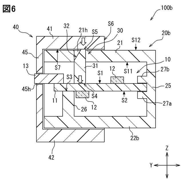
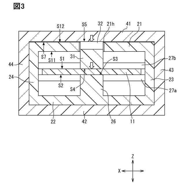
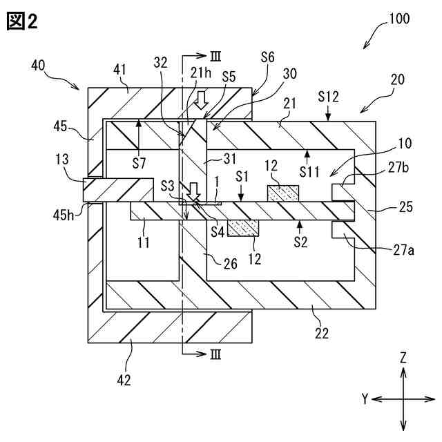
【解決手段】電子制御装置100は、配線基板11と、配線基板を収容し一端が開口した袋状ケース20と、袋状ケースの開口を塞ぐカバー40と、配線基板の板厚方向において配線基板を固定する可動ポール30と、を備えている。袋状ケースは、配線基板に対向する位置に、配線基板を支持する支持部26と、板厚方向に貫通した貫通穴21hが設けられている。可動ポールは、貫通穴に摺動可能な状態で配置されており、カバーが袋状ケースに組付けられた状態でカバーによって配線基板に押圧されて、支持部と共に配線基板を挟み込んで固定している。
【選択図】図2
特許請求の範囲
【請求項1】
配線基板(11)と、
前記配線基板を収容し、一端が開口した袋状ケース(20,20a,20b)と、
前記袋状ケースの開口を塞ぐカバー(40)と、
前記配線基板の板厚方向において、前記配線基板を固定する固定部材(30)と、を備え、
前記袋状ケースは、前記配線基板に対向する位置に、前記配線基板を支持する支持部(26,30a)と、前記板厚方向に貫通した貫通穴(21h)と、が設けられており、
前記固定部材は、前記貫通穴に摺動可能な状態で配置されており、前記カバーが前記袋状ケースに組付けられた状態で前記カバーによって前記配線基板に押圧されて、前記支持部と共に前記配線基板を挟み込んで固定する電子制御装置。
続きを表示(約 610 文字)
【請求項2】
前記袋状ケースは、前記配線基板が収容される際に、前記配線基板を誘導するガイド部(27a,27b)を備えている請求項1に記載の電子制御装置。
【請求項3】
前記配線基板は、前記固定部材が接する位置にグランド配線が露出しており、
前記固定部材と前記支持部の少なくとも一方は、導電性を有しており、前記グランド配線に接している請求項1または2に記載の電子制御装置。
【請求項4】
前記固定部材と前記支持部の少なくとも一方は、弾性部材で構成されている請求項1または2に記載の電子制御装置。
【請求項5】
前記固定部材は、前記板厚方向における前記支持部の対向領域に配置されている請求項1または2に記載の電子制御装置。
【請求項6】
前記固定部材は、前記板厚方向における前記支持部の対向領域から外れた位置に配置されている請求項1または2に記載の電子制御装置。
【請求項7】
前記袋状ケースは、前記支持部が配置される穴であり、前記板厚方向に貫通した配置穴(22h)が設けられており、
前記支持部は、前記配置穴に摺動可能な状態で配置されており、前記カバーが前記袋状ケースに組付けられた状態で前記カバーと前記配線基板に接し、前記固定部材と共に前記配線基板を挟み込んで固定する請求項1または2に記載の電子制御装置。
発明の詳細な説明
【技術分野】
【0001】
本開示は、電子制御装置に関する。
続きを表示(約 1,600 文字)
【背景技術】
【0002】
特許文献1に開示されているように、基板と、基板を収容する筐体とを備えた構成がある。筐体は、ケースとカバーとを備えている。ケースは、基板を位置決めし、同時に基板を支える突起と、基板を下から支える基板支えと、カバーを固定するための固定穴とを有している。カバーは、ケースに取り付けたときに、ケースの基板支えに対応する位置に基板押さえを有している。そして、基板は、ケースの基板支えと、カバーの基板押さえで挟み込まれて固定されている。
【先行技術文献】
【特許文献】
【0003】
特開平8-153981号公報
【発明の概要】
【発明が解決しようとする課題】
【0004】
ところで、配線基板を収容する筐体は、袋状ケースと、袋状ケースの開口を塞ぐカバーとを備えた構成が考えられる。袋状ケースは、配線基板の側壁に対向する位置に開口が設けられている。この構成では、袋状ケースに基板支えが設けられ、カバーに基板押えが設けられていたとしても、配線基板の固定力が十分に得られない虞がある。
【0005】
開示される一つの目的は、配線基板の固定力が向上された電子制御装置を提供することである。
【課題を解決するための手段】
【0006】
ここに開示された電子制御装置は、
配線基板(11)と、
配線基板を収容し、一端が開口した袋状ケース(20,20a,20b)と、
袋状ケースの開口を塞ぐカバー(40)と、
配線基板の板厚方向において、配線基板を固定する固定部材(30)と、を備え、
袋状ケースは、配線基板に対向する位置に、配線基板を支持する支持部(26,30a)と、板厚方向に貫通した貫通穴(21h)と、が設けられており、
固定部材は、貫通穴に摺動可能な状態で配置されており、カバーが袋状ケースに組付けられた状態でカバーによって配線基板に押圧されて、支持部と共に配線基板を挟み込んで固定する。
【0007】
このように、電子制御装置は、カバーが袋状ケースに組付けられた状態で、カバーによって配線基板に押圧されて、支持部と共に配線基板を挟み込んで固定する固定部材を備えている。そのため、電子制御装置は、配線基板に対する固定力が向上される。
【0008】
この明細書において開示された複数の態様は、それぞれの目的を達成するために、互いに異なる技術的手段を採用する。請求の範囲およびこの項に記載した括弧内の符号は、後述する実施形態の部分との対応関係を例示的に示すものであって、技術的範囲を限定することを意図するものではない。この明細書に開示される目的、特徴、および効果は、後続の詳細な説明、および添付の図面を参照することによってより明確になる。
【図面の簡単な説明】
【0009】
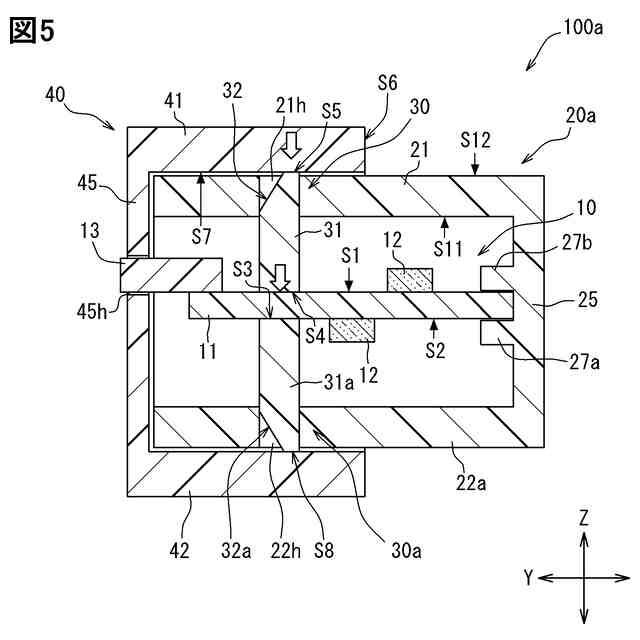
第1実施形態における電子制御装置の概略構成を示す斜視図である。
図1のII-II線に沿う断面図である。
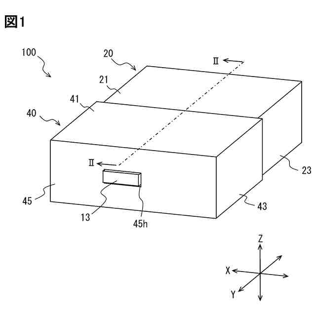
図2のIII-III線に沿う断面図である。
可動ポール部分の概略構成を示す拡大斜視図である。
第2実施形態における電子制御装置の概略構成を示す断面図である。
第3実施形態における電子制御装置の概略構成を示す断面図である。
【発明を実施するための形態】
【0010】
以下において、図面を参照しながら、本開示を実施するための複数の形態を説明する。各形態において、先行する形態で説明した事項に対応する部分には同一の参照符号を付して重複する説明を省略する場合がある。各形態において、構成の一部のみを説明している場合は、構成の他の部分については先行して説明した他の形態を参照し適用することができる。なお、以下においては、互いに直交する3方向をX軸、Y軸、Z軸と示す。
(【0011】以降は省略されています)
この特許をJ-PlatPat(特許庁公式サイト)で参照する
関連特許
株式会社デンソーウェーブ
筐体
1か月前
株式会社デンソー
回転機
1か月前
株式会社デンソー
分離体
9日前
株式会社デンソー
電動機
1日前
株式会社デンソー
端子台
3日前
株式会社デンソー
電動弁
23日前
株式会社デンソー
摺動機構
22日前
株式会社デンソー
光学部材
9日前
株式会社デンソー
電気回路
17日前
株式会社デンソー
摺動機構
22日前
株式会社デンソー
熱交換器
22日前
株式会社デンソー
電子装置
1か月前
株式会社デンソー
検出装置
1か月前
株式会社デンソー
光学部材
9日前
株式会社デンソー
電子装置
23日前
株式会社デンソー
撮像装置
22日前
株式会社デンソー
トランス
1日前
株式会社デンソー
光学部材
1日前
株式会社デンソー
電解装置
24日前
株式会社デンソー
電子装置
1日前
株式会社デンソー
反力装置
1か月前
株式会社デンソー
制御装置
25日前
株式会社デンソー
撮像装置
22日前
株式会社デンソー
センサ装置
1か月前
株式会社デンソー
半導体装置
9日前
株式会社デンソー
電流センサ
1か月前
株式会社デンソー
半導体装置
1か月前
株式会社デンソー
熱交換装置
1か月前
株式会社デンソー
半導体装置
24日前
株式会社デンソー
レーダ装置
1か月前
株式会社デンソー
半導体装置
1か月前
株式会社デンソー
半導体装置
22日前
株式会社デンソートリム
鞍乗り車両
1か月前
株式会社デンソー
ヒータ装置
1か月前
株式会社デンソー
熱交換部材
24日前
株式会社デンソー
電磁継電器
1日前
続きを見る
他の特許を見る