TOP
|
特許
|
意匠
|
商標
特許ウォッチ
Twitter
他の特許を見る
10個以上の画像は省略されています。
公開番号
2025153925
公報種別
公開特許公報(A)
公開日
2025-10-10
出願番号
2024056646
出願日
2024-03-29
発明の名称
レーダ装置
出願人
株式会社デンソー
,
トヨタ自動車株式会社
,
株式会社ミライズテクノロジーズ
代理人
弁理士法人ゆうあい特許事務所
主分類
G01S
7/40 20060101AFI20251002BHJP(測定;試験)
要約
【課題】補正テーブルサイズを低減することができるレーダ装置を提供する。
【解決手段】レーダ装置は、協調レーダを構成する複数の単体レーダユニット10、20と、補正行列を用いて協調レーダの送信アンテナアレイおよび受信アンテナアレイに関する値を補正するアレイ補正部と、該補正された値および協調レーダの受信信号に基づいて物標の方位を推定する方位推定部と、を備え、協調レーダの受信信号には、複数の単体レーダユニット10、20によって構成された仮想レーダユニットの受信信号が含まれており、アレイ補正部は、仮想レーダユニットの送信アンテナアレイおよび受信アンテナアレイに関する値を、複数の単体レーダユニット10、20に対応する補正行列を組み合わせて用いて補正する。
【選択図】図1
特許請求の範囲
【請求項1】
レーダ装置であって、
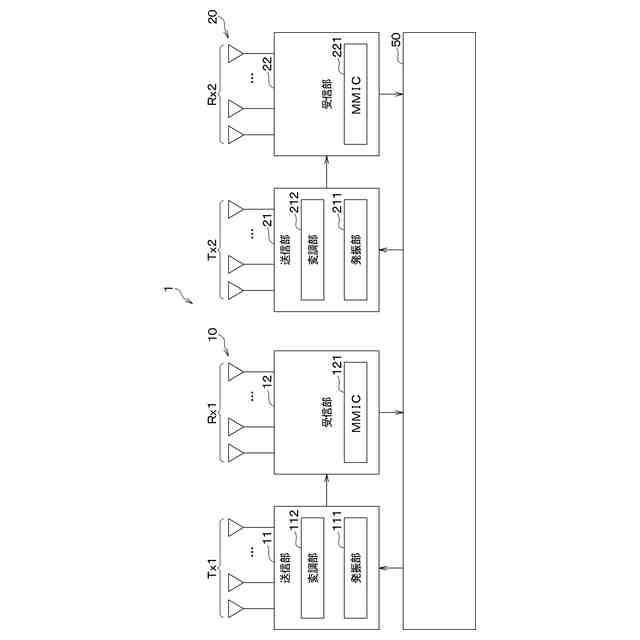
協調レーダを構成する複数の単体レーダユニット(10、20)と、
補正行列を用いて前記協調レーダの送信アンテナアレイおよび受信アンテナアレイに関する値を補正するアレイ補正部(55)と、
該補正された値および前記協調レーダの受信信号に基づいて物標の方位を推定する方位推定部(56)と、を備え、
前記協調レーダの受信信号には、複数の前記単体レーダユニットによって構成された仮想レーダユニット(30、40)の受信信号が含まれており、
前記アレイ補正部は、前記仮想レーダユニットの送信アンテナアレイおよび受信アンテナアレイに関する値を、複数の前記単体レーダユニットに対応する前記補正行列を組み合わせて用いて補正するレーダ装置。
続きを表示(約 400 文字)
【請求項2】
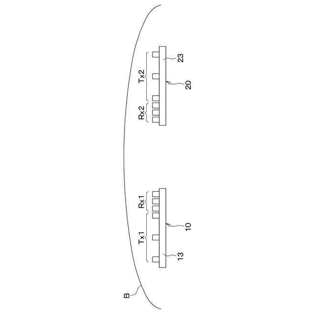
前記単体レーダユニットは、車両のバンパ(B)の内側に配置され、
前記補正行列は、前記バンパに対する前記単体レーダユニットの相対位置に応じて設定されている請求項1に記載のレーダ装置。
【請求項3】
前記アレイ補正部は、前記単体レーダユニットが備える送信アンテナ(Tx1、Tx2)および受信アンテナ(Rx1、Rx2)の配置によって決まるアレイモードベクトルを補正する請求項1または2に記載のレーダ装置。
【請求項4】
前記補正行列が格納された補正テーブルを記憶する補正行列記憶部(54)を備え、
複数の前記単体レーダユニットのうち少なくとも2つの単体レーダユニットは、前記補正テーブルを共用する請求項1または2に記載のレーダ装置。
【請求項5】
前記補正行列は、方位に応じて設定される請求項1または2に記載のレーダ装置。
発明の詳細な説明
【技術分野】
【0001】
本開示は、レーダ装置に関するものである。
続きを表示(約 1,500 文字)
【背景技術】
【0002】
電磁波の送受信によって物標の方位を推定するレーダ装置が車両に用いられている。このようなレーダ装置を車両のバンパ裏に設置すると、バンパによる電磁波の屈折および反射の影響により、アンテナアレイの特性に対する方位依存性誤差が生じ、方位推定精度が低下する。この方位依存性誤差は、バンパに対するレーダ装置の相対位置、具体的には、レーダ装置とバンパとの軸ずれや距離によって変化する。したがって、バンパに対するレーダ装置の実際の相対位置に応じて推定結果を補正する必要がある。
【0003】
例えば特許文献1に記載のレーダ装置では、バンパに対するレーダ装置の相対位置を変化させて補正行列用のデータを測定し、相対位置ごとの補正行列を格納した補正テーブルを用意している。そして、実際の相対位置に応じて補正テーブルから補正行列を選択し、補正を行っている。
【先行技術文献】
【特許文献】
【0004】
特開2020-3334号公報
【発明の概要】
【発明が解決しようとする課題】
【0005】
ところで、電磁波を送受信する同じ種類のレーダユニットを複数用意して異なる位置に配置し、各レーダユニットの送信信号および受信信号を1つの仮想アレイ信号として処理することにより方位推定性能を向上させる協調レーダ技術が知られている。
【0006】
このような協調レーダにおいて、協調レーダ全体の相対位置パターンに対応する補正行列を用いると、補正テーブルサイズが大幅に増加してメモリを圧迫するおそれがある。例えば、2つのレーダユニットをバンパ裏に搭載した場合を想定する。この場合には、単体レーダユニットの補正テーブルサイズ、すなわち、各レーダユニットとバンパとの相対位置のパターン数をNとすると、補正テーブルサイズはN
2
となる。
【0007】
本開示は上記点に鑑みて、補正テーブルサイズを低減することができるレーダ装置を提供することを目的とする。
【課題を解決するための手段】
【0008】
上記目的を達成するため、本開示の1つの観点によれば、レーダ装置は、協調レーダを構成する複数の単体レーダユニット(10、20)と、補正行列を用いて協調レーダの送信アンテナアレイおよび受信アンテナアレイに関する値を補正するアレイ補正部(55)と、該補正された値および協調レーダの受信信号に基づいて物標の方位を推定する方位推定部(56)と、を備え、協調レーダの受信信号には、複数の単体レーダユニットによって構成された仮想レーダユニット(30、40)の受信信号が含まれており、アレイ補正部は、仮想レーダユニットの送信アンテナアレイおよび受信アンテナアレイに関する値を、複数の単体レーダユニットに対応する補正行列を組み合わせて用いて補正する。
【0009】
このように、単体レーダユニット用の補正行列を組み合わせて仮想レーダユニットの送信アンテナアレイおよび受信アンテナアレイに関する値を補正することにより、仮想レーダユニット専用の補正行列が不要になる。したがって、補正テーブルサイズを低減することができる。
【0010】
なお、各構成要素等に付された括弧付きの参照符号は、その構成要素等と後述する実施形態に記載の具体的な構成要素等との対応関係の一例を示すものである。
【図面の簡単な説明】
(【0011】以降は省略されています)
この特許をJ-PlatPat(特許庁公式サイト)で参照する
関連特許
株式会社デンソー
電子装置
3日前
株式会社デンソー
ステータ
8日前
株式会社デンソー
電子装置
2日前
株式会社デンソー
反力装置
2日前
株式会社デンソー
ステータ
8日前
株式会社デンソーテン
インバータ
2日前
株式会社デンソー
半導体装置
8日前
株式会社デンソー
農業用装置
4日前
株式会社デンソー
レーダ装置
1日前
株式会社デンソー
運航管理装置
1日前
株式会社デンソー
電力変換装置
8日前
株式会社デンソー
衝突予測装置
3日前
株式会社デンソー
運転支援装置
3日前
株式会社デンソー
衝突予測装置
3日前
株式会社デンソー
車載システム
2日前
株式会社デンソー
車載システム
2日前
株式会社デンソーテン
車載映像装置
8日前
株式会社デンソー
車両制御装置
2日前
株式会社デンソー
電力変換装置
4日前
株式会社デンソー
電子制御装置
8日前
株式会社デンソー
電圧検出回路
4日前
株式会社デンソー
圧着ヘッド装置
8日前
株式会社デンソー
フェード検知装置
2日前
株式会社デンソー
セル制御システム
1日前
株式会社デンソー
無線通信システム
2日前
株式会社デンソーウェーブ
通行管理システム
2日前
株式会社デンソー
スイッチング電源
2日前
株式会社デンソートリム
エンジン制御装置
8日前
株式会社デンソー
中継装置、プログラム
2日前
株式会社デンソー
モータ部品、および、モータ
1日前
株式会社デンソー
電力変換装置及び駆動システム
1日前
株式会社デンソー
電力変換装置及び駆動システム
1日前
株式会社デンソー
電力変換装置及び駆動システム
1日前
株式会社デンソー
作業装置および作業プログラム
3日前
株式会社デンソー
電力変換装置及び駆動システム
1日前
株式会社デンソー
半導体装置およびその製造方法
8日前
続きを見る
他の特許を見る