TOP
|
特許
|
意匠
|
商標
特許ウォッチ
Twitter
他の特許を見る
公開番号
2025149474
公報種別
公開特許公報(A)
公開日
2025-10-08
出願番号
2024050147
出願日
2024-03-26
発明の名称
衝突予測装置
出願人
株式会社デンソー
,
トヨタ自動車株式会社
,
株式会社J-QuAD DYNAMICS
代理人
弁理士法人明成国際特許事務所
主分類
B60W
30/09 20120101AFI20251001BHJP(車両一般)
要約
【課題】アクセルペダルが強く又は早く踏み込まれた場合にも衝突を回避又は軽減できる技術を提供する。
【解決手段】衝突予測装置200は、予測対象物の位置変化を予測する対象物位置予測部210と、自車両の現在速度と現在加速度を算出する速度算出部220と、自車両の移動軌跡を予測する移動軌跡予測部230と、自車両の移動軌跡と予測対象物の位置変化との関係を用いて、自車両と予測対象物とが衝突する可能性があるか否かの衝突判定を実行する衝突判定部240と、を備える。移動軌跡予測部は、特定の条件が成立した場合に、現在加速度よりも大きな設定加速度を自車加速度として使用して移動軌跡を予測する。
【選択図】図1
特許請求の範囲
【請求項1】
衝突予測装置(200)であって、
予測対象物の位置変化を予測する対象物位置予測部(210)と、
自車両の現在速度と現在加速度を算出する速度算出部(220)と、
前記自車両の移動軌跡を予測する移動軌跡予測部(230)と、
前記自車両の前記移動軌跡と前記予測対象物の前記位置変化との関係を用いて、前記自車両と前記予測対象物とが衝突する可能性があるか否かの衝突判定を実行する衝突判定部(240)と、
を備え、
前記移動軌跡予測部は、特定の条件が成立した場合に、前記現在加速度よりも大きな設定加速度を自車加速度として使用して前記移動軌跡を予測する、衝突予測装置。
続きを表示(約 920 文字)
【請求項2】
請求項1に記載の衝突予測装置であって、
前記移動軌跡予測部は、前記自車両のアクセルペダルの操作量又は前記操作量の時間変化率が閾値以上であることを含むアクセル判定条件が成立した場合に、前記設定加速度と前記現在加速度とのうちのより大きな値を前記自車加速度として使用して前記移動軌跡を予測する、衝突予測装置。
【請求項3】
請求項2に記載の衝突予測装置であって、
前記アクセル判定条件は、「前記アクセルペダルの前記操作量が第1操作量閾値以上である」という第1条件と、「前記アクセルペダルの前記操作量が第2操作量閾値以上であり、かつ、前記操作量の前記時間変化率が変化率閾値以上である」という第2条件と、の少なくとも一方が成立するときに成立する、衝突予測装置。
【請求項4】
請求項1に記載の衝突予測装置であって、
前記設定加速度は、アクセルペダルの操作量が最大値である場合の加速度以上の値である、衝突予測装置。
【請求項5】
請求項1に記載の衝突予測装置であって、
前記衝突判定部は、前記予測対象物と前記自車両との距離が距離閾値を超える場合には前記衝突判定を実行しない、衝突予測装置。
【請求項6】
請求項2に記載の衝突予測装置であって、更に、
前記自車両と前記予測対象物とが衝突する可能性があると判定された場合に、前記自車両を制動するための緊急制動指令を生成する制動指令生成部(250)を備え、
前記制動指令生成部は、前記アクセル判定条件が成立した場合に、前記アクセル判定条件が成立しない場合よりも前記緊急制動指令の指令値を上昇させる、衝突予測装置。
【請求項7】
請求項1に記載の衝突予測装置であって、
前記移動軌跡予測部は、前記自車両の前記現在速度が速度閾値以下のときに、前記自車両のアクセルペダルの操作量又は前記操作量の時間変化率が閾値以上であることを含むアクセル判定条件が成立した場合に、前記設定加速度を前記自車加速度として使用して前記移動軌跡を予測する、衝突予測装置。
発明の詳細な説明
【技術分野】
【0001】
本開示は、車両の衝突予測装置に関する。
続きを表示(約 2,000 文字)
【背景技術】
【0002】
特許文献1には、自車両の曲線状の移動軌跡と相手車両の直線状の移動軌跡との交点を求め、その交点に自車両および相手車両がそれぞれ到達する時間に基づいて自車両と相手車両とが衝突するか否かを判定する衝突予測装置が開示されている。
【先行技術文献】
【特許文献】
【0003】
特開2008-213535号公報
【発明の概要】
【発明が解決しようとする課題】
【0004】
しかしながら、従来技術では、自車両の加速度を考慮していないので、加速度や加加速度によっては衝突回避のための自動ブレーキが遅れてしまうという問題があった。特に、ブレーキペダルと間違えてアクセルペダルを強く踏み込んだ場合には、加速度を演算している間に自車速が上昇するため、衝突が避けられない場合があった。このため、アクセルペダルが強く又は早く踏み込まれた場合にも衝突を回避できる技術が望まれている。
【課題を解決するための手段】
【0005】
本開示の一形態によれば、衝突予測装置(200)が提供される。この衝突予測装置は、予測対象物の位置変化を予測する対象物位置予測部(210)と、自車両の現在速度と現在加速度を算出する速度算出部(220)と、前記自車両の移動軌跡を予測する移動軌跡予測部(230)と、前記自車両の前記移動軌跡と前記予測対象物の前記位置変化との関係を用いて、前記自車両と前記予測対象物とが衝突する可能性があるか否かの衝突判定を実行する衝突判定部(240)と、を備える。前記移動軌跡予測部は、特定の条件が成立した場合に、前記現在加速度よりも大きな設定加速度を自車加速度として使用して前記移動軌跡を予測する。
【0006】
この衝突予測装置によれば、現在加速度よりも大きな設定加速度を自車加速度と使用して移動軌跡の予測を実行するので、自車両の速度が急上昇する場合にも衝突を回避又は軽減できる。
【図面の簡単な説明】
【0007】
車両制御システムの構成を示すブロック図。
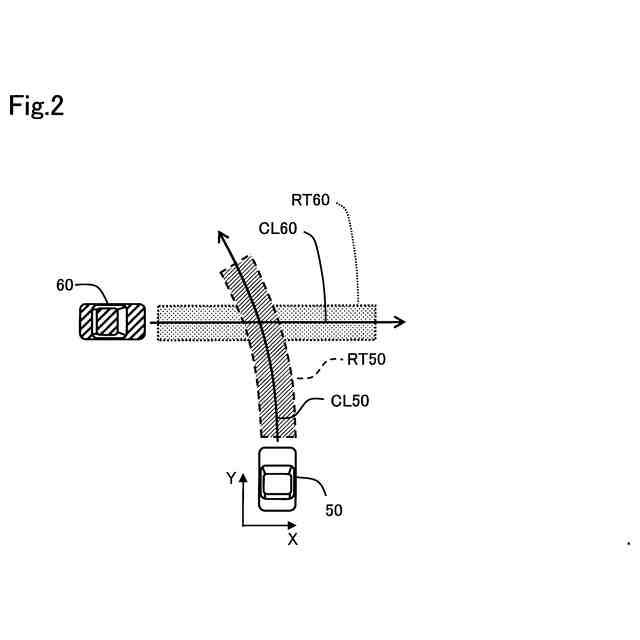
自車両の移動軌跡と予測対象物の位置変化の例を示す説明図。
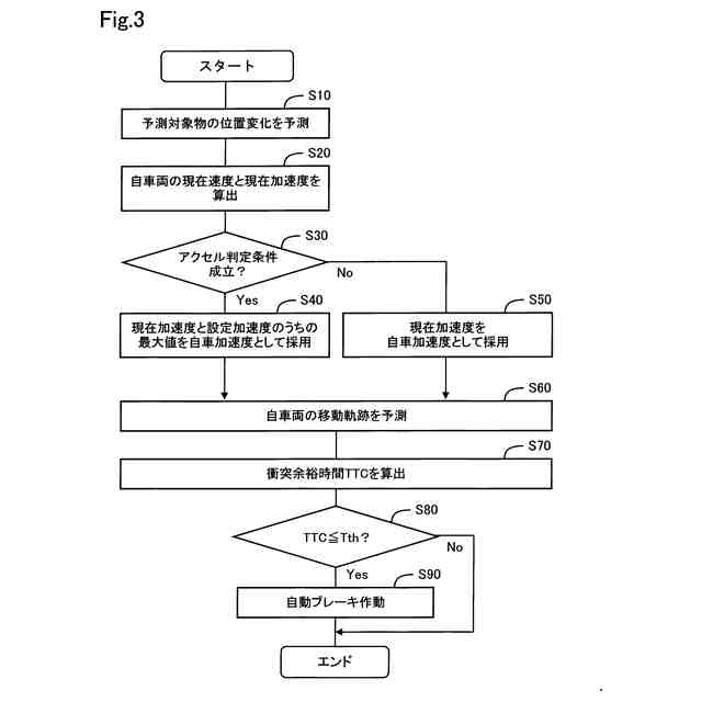
第1実施形態における衝突予測処理の手順を示すフローチャート。
アクセルペダルが誤踏みされた場合における自車移動距離の時間変化の例を示す説明図。
比較例における衝突予測の説明図。
実施例における衝突予測の説明図。
自車両の移動軌跡と予測対象物の位置変化の他の例を示す説明図。
第2実施形態における衝突予測処理の手順を示すフローチャート。
【発明を実施するための形態】
【0008】
A.第1実施形態:
図1に示すように、第1実施形態の車両50は、車両制御システム100を備える。車両制御システム100は、衝突予測装置200と、車両制御部300と、前方検出装置410と、後方検出装置420と、一般センサ類500と、を備える。本明細書において、車両50を「自車両50」とも呼ぶ。
【0009】
車両制御部300は、駆動部制御装置310と、ブレーキ制御装置320と、操舵角制御装置330とを含む。駆動部制御装置310は、車両50の車輪を駆動する駆動部(図示せず)を制御する機能を有する。車輪の駆動部としては、内燃機関と電動モータのうちの1つ以上の原動機を使用可能である。ブレーキ制御装置320は、車両50のブレーキ制御を実行する。ブレーキ制御装置320は、例えば電子制御ブレーキシステム(ECB)として構成される。操舵角制御装置330は、車両50の車輪の操舵角を制御する。「操舵角」とは、車両50の2つの前輪の平均操舵角を意味する。操舵角制御装置330は、例えば電動パワーステアリングシステム(EPS)として構成される。
【0010】
前方検出装置410は、車載センサを使用して、自車両50の前方に存在する物体や道路設備(車線、交差点、信号機等)等の各種の対象物に関する情報を取得する。本実施形態において、前方検出装置410は、レーダ412とカメラ414を含む複数の測距装置を有している。レーダ412としては、LiDAR(Light Detection and Ranging)や、ミリ波レーダなど、電磁波を放射する各種のレーダを使用可能である。カメラ414としては、単眼カメラや、ステレオカメラを使用可能である。また、カメラ414は、対象物の色を区別するために、カラーカメラであることが好ましい。前方検出装置410は、超音波センサなどの他の測距装置を含んでいてもよい。
(【0011】以降は省略されています)
この特許をJ-PlatPat(特許庁公式サイト)で参照する
関連特許
株式会社デンソーウェーブ
筐体
17日前
株式会社デンソー
車載器
1か月前
株式会社デンソー
接合体
1か月前
株式会社デンソー
回転機
17日前
株式会社デンソー
ねじ部材
1か月前
株式会社デンソー
反力装置
24日前
株式会社デンソー
電子装置
6日前
株式会社デンソー
電子装置
24日前
株式会社デンソー
ステータ
1か月前
株式会社デンソー
ステータ
1か月前
株式会社デンソー
電子装置
1か月前
株式会社デンソーエレクトロニクス
発音装置
1か月前
株式会社デンソー
検出装置
16日前
株式会社デンソー
電子装置
25日前
株式会社デンソー
電流センサ
17日前
株式会社デンソー
半導体装置
12日前
株式会社デンソー
レーダ装置
23日前
株式会社デンソー
レーダ装置
1か月前
株式会社デンソー
半導体装置
5日前
株式会社デンソー
熱交換装置
10日前
株式会社デンソー
センサ装置
3日前
株式会社デンソートリム
鞍乗り車両
4日前
株式会社デンソー
ヒータ装置
4日前
株式会社デンソー
半導体装置
1か月前
株式会社デンソー
センサ装置
3日前
株式会社デンソー
農業用装置
26日前
株式会社デンソーテン
インバータ
24日前
株式会社デンソー
電圧検出回路
10日前
株式会社デンソー
運転支援装置
25日前
株式会社デンソー
衝突予測装置
25日前
株式会社デンソー
電力変換装置
26日前
株式会社デンソー
電圧検出回路
26日前
株式会社デンソー
電波吸収装置
1か月前
株式会社デンソー
圧電デバイス
3日前
株式会社デンソー
画像処理装置
17日前
株式会社デンソー
車載システム
24日前
続きを見る
他の特許を見る