TOP
|
特許
|
意匠
|
商標
特許ウォッチ
Twitter
他の特許を見る
10個以上の画像は省略されています。
公開番号
2025151143
公報種別
公開特許公報(A)
公開日
2025-10-09
出願番号
2024052413
出願日
2024-03-27
発明の名称
車載システム
出願人
株式会社デンソー
代理人
個人
,
個人
主分類
H04W
52/28 20090101AFI20251002BHJP(電気通信技術)
要約
【課題】車両に、無線通信システムによる無線通信を利用して動作する複数の車載装置が搭載された場合であっても、通信信頼性を担保しつつ、消費電力が過大となるとことを抑制すること。
【解決手段】車載システム100は、無線通信システム10と、無線通信システムによる無線通信を利用して動作する複数の車載装置1、2、3、35A、35B、45A、55Aと、を備える。複数の車載装置は、車両の駆動に関与する駆動系装置と、車両の駆動に関与しない非駆動系装置とを含む。無線通信システムは、少なくとも、通信信頼性を高めた信頼性モードと、消費電力を抑制する省電力モードとを含む複数のモードにて、無線通信を実行することが可能である。車載システムは、車両の走行状態に応じて、駆動系装置のための無線通信システムにおける無線通信のモードの設定と、非駆動系装置のための無線通信システムにおける無線通信のモードの設定とを異ならせる。
【選択図】図13
特許請求の範囲
【請求項1】
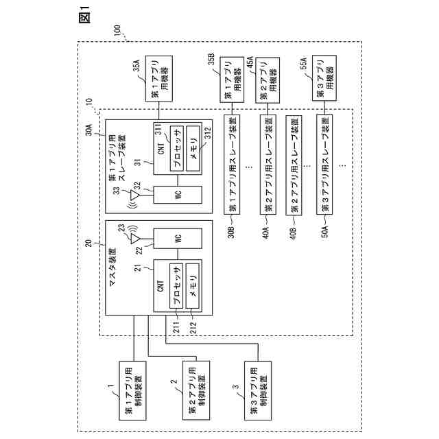
マスタノード(20)とスレーブノード(30A、30B、40A、40B、50A)との間で無線通信を実行する無線通信システムと、
前記無線通信システムによる無線通信を利用して動作する複数の車載装置(1、2、3、35A、35B、45A、55A)と、を備え、
前記複数の車載装置は、車両の駆動に関与する駆動系装置(1、3、35A、35B、55A)と、車両の駆動に関与しない非駆動系装置(2、45A)とを含み、
前記無線通信システムは、少なくとも、通信信頼性を高めた信頼性モードと、消費電力を抑制する省電力モードとを含む複数のモードにて、無線通信を実行することが可能であり、
車両の走行状態に応じて、前記駆動系装置のための前記無線通信システムにおける無線通信のモードの設定と、前記非駆動系装置のための前記無線通信システムにおける無線通信のモードの設定とを異ならせる、車載システム。
続きを表示(約 2,200 文字)
【請求項2】
前記車両が走行しているとき、前記駆動系装置のための前記無線通信システムにおける無線通信のモードは、前記非駆動系装置のための前記無線通信システムにおける無線通信のモードよりも通信信頼性が高いモードに設定される、請求項1に記載の車載システム。
【請求項3】
前記車両が駐停車しているとき、前記駆動系装置のための前記無線通信システムにおける無線通信のモードは、前記非駆動系装置のための前記無線通信システムにおける無線通信のモードでの消費電力以下のモードに設定される、請求項1又は2に記載の車載システム。
【請求項4】
前記無線通信システムは、複数の通信チャネルから順次に選択される1つの通信チャネルを介して、無線通信を実行するものであり、
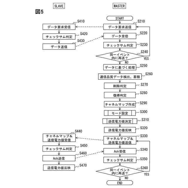
前記無線通信システムは、前記信頼性モードにて無線通信を実行する際、前記複数の通信チャネルごとの通信品質を示す通信品質データに基づいて、前記複数の通信チャネルから通信品質が低下した通信チャネルを除外した後の複数の通信チャネルを示すチャネルマップを作成し、前記チャネルマップによって示される無線通信に使用可能な前記複数の通信チャネルから無線通信に使用する通信チャネルが選択されるようにする通信チャネル制御を実行する、請求項1に記載の車載システム。
【請求項5】
前記無線通信システムは、前記省電力モードにて無線通信を実行する際、前記チャネルマップによって示される無線通信に使用可能な前記複数の通信チャネルでのそれぞれの通信品質データに基づいて、前記チャネルマップによって示される無線通信に使用可能な前記複数の通信チャネルでの送信電力を制御する送信電力制御を実行する、請求項4に記載の車載システム。
【請求項6】
前記無線通信システムは、複数の通信チャネルから順次に選択される1つの通信チャネルを介して、無線通信を実行するものであり、
前記複数のモードには、前記複数の通信チャネルごとの通信品質を示す通信品質データに基づいて、前記複数の通信チャネルから通信品質が低下した通信チャネルを除外した後の複数の通信チャネルを示すチャネルマップを作成し、前記チャネルマップによって示される無線通信に使用可能な前記複数の通信チャネルから無線通信に使用する通信チャネルが選択されるようにする通信チャネル制御と、前記チャネルマップによって示される無線通信に使用可能な前記複数の通信チャネルでのそれぞれの通信品質データに基づいて、前記チャネルマップによって示される無線通信に使用可能な前記複数の通信チャネルでの送信電力を制御する送信電力制御と、の両方を実行するバランスモードが含まれる、請求項1に記載の車載システム。
【請求項7】
前記信頼性モードには、前記複数の通信チャネルごとの通信品質を示す通信品質データに基づいて、前記複数の通信チャネルから通信品質が低下した通信チャネルを除外した後の複数の通信チャネルを示すチャネルマップを作成し、前記チャネルマップによって示される無線通信に使用可能な前記複数の通信チャネルから無線通信に使用する通信チャネルが選択されるようにする通信チャネル制御と、前記チャネルマップによって示される無線通信に使用可能な前記複数の通信チャネルでのそれぞれの通信品質データに基づいて、通信チャネルでの送信電力が前記バランスモードでの送信電力の低下量よりも小さい範囲で低下するように、前記チャネルマップによって示される無線通信に使用可能な前記複数の通信チャネルでの送信電力を制御する送信電力制御と、の両方を実行する信頼性重視バランスモードが含まれる、請求項6に記載の車載システム。
【請求項8】
前記省電力モードには、前記複数の通信チャネルごとの通信品質を示す通信品質データに基づいて、前記複数の通信チャネルから通信品質が低下した通信チャネルを除外した後の複数の通信チャネルを示すチャネルマップを作成し、前記チャネルマップによって示される無線通信に使用可能な前記複数の通信チャネルから無線通信に使用する通信チャネルが選択されるようにする通信チャネル制御と、前記チャネルマップによって示される無線通信に使用可能な前記複数の通信チャネルでのそれぞれの通信品質データに基づいて、通信チャネルでの送信電力が前記バランスモードでの送信電力の低下量よりも大きい範囲で低下するように、前記チャネルマップによって示される無線通信に使用可能な前記複数の通信チャネルでの送信電力を制御する送信電力制御と、の両方を実行する省電力重視バランスモードが含まれる、請求項6又は7に記載の車載システム。
【請求項9】
前記無線通信システムは、前記チャネルマップによって示される無線通信に使用可能な前記複数の通信チャネルでのそれぞれの通信品質を示す通信品質データに基づいて、各モードでの送信電力の調整範囲において、送信電力を制御する、請求項6に記載の車載システム。
【請求項10】
前記無線通信システムは、前記チャネルマップによって示される無線通信に使用可能な前記複数の通信チャネルでのそれぞれの通信品質を示す通信品質データに基づいて、各モード間を遷移しての、送信電力の制御を許容する、請求項6に記載の車載システム。
(【請求項11】以降は省略されています)
発明の詳細な説明
【技術分野】
【0001】
本開示は、無線通信システムと複数の車載装置とを備え、複数の車載装置が無線通信システムによる無線通信を利用して動作する車載システムに関する。
続きを表示(約 2,400 文字)
【背景技術】
【0002】
例えば、特許文献1には、複数の電池を監視制御する電池システムが開示されている。電池システムは、マスタ管理装置と、複数の電池モジュールを備える。各電池モジュールは、スレーブ管理装置と電池セルを備える。マスタ管理装置は、スレーブ管理装置へ、電池セルの計測内容、計測タイミング、各スレーブ管理装置の無線通信タイミング、及び無線通信に用いる周波数チャネルの情報を含む監視制御指示信号を送信する。スレーブ管理装置は、電池セルの計測結果と監視制御指示信号の受信状態の情報を含む監視制御結果信号を、指示された周波数チャネルを介して、送信する。
【0003】
マスタ管理装置は、スレーブ管理装置毎、周波数チャネル毎に通信品質を管理する。そして、通信品質が劣化した周波数チャネルは、監視制御指示信号に含まれる周波数チャネルの情報によって、通信品質が劣化していない他の周波数チャネルに変更される。このようにして、監視制御指示信号や監視制御結果信号の通信信頼性を高く維持するようにしている。
【0004】
さらに、特許文献1には、監視制御指示信号や監視制御結果信号の送信電力を増やすことや、周波数チャネルホッピングのホッピングパターンを変更することで、より通信信頼性を高めることができることも記載されている。
【先行技術文献】
【特許文献】
【0005】
国際公開第WO2015/189898A1号公報
【発明の概要】
【発明が解決しようとする課題】
【0006】
特許文献1に記載されたシステムは、マスタ管理装置とスレーブ管理装置との間で送受信される無線通信信号(監視制御指示信号や監視制御結果信号)の通信信頼性を高めることしか考慮していない。しかしながら、車両に、無線通信システムによる無線通信を利用して動作する複数の車載装置が搭載された場合に、特許文献1に記載されたシステムのように、常時、無線通信システムの通信信頼性を高める制御を実施すると、消費電力が過大となる虞がある。そのため、例えば、無線通信システムを利用する複数の車載装置が搭載される車両が、モータにより駆動される車両である場合、いわゆる電費の悪化を招くなどの不具合が生じる可能性がある。
【0007】
本開示は、上述した点に鑑みてなされたものであり、車両に、無線通信システムによる無線通信を利用して動作する複数の車載装置が搭載された場合であっても、通信信頼性を担保しつつ、消費電力が過大となるとことを抑制することが可能な車載システムを提供することを目的とする。
【課題を解決するための手段】
【0008】
上記目的を達成するために、本開示による車載システムは、
マスタノード(20)とスレーブノード(30A、30B、40A、40B、50A)との間で無線通信を実行する無線通信システムと、
無線通信システムによる無線通信を利用して動作する複数の車載装置(1、2、3、35A、35B、45A、55A)と、を備え、
複数の車載装置は、車両の駆動に関与する駆動系装置(1、3、35A、35B、55A)と、車両の駆動に関与しない非駆動系装置(2、45A)とを含み、
無線通信システムは、少なくとも、通信信頼性を高めた信頼性モードと、消費電力を抑制する省電力モードとを含む複数のモードにて、無線通信を実行することが可能であり、
車両の走行状態に応じて、駆動系装置のための無線通信システムにおける無線通信のモードの設定と、非駆動系装置のための無線通信システムにおける無線通信のモードの設定とを異ならせる、ように構成される。
【0009】
例えば、車載装置が駆動系装置の1つである電池監視装置であった場合、車両が走行中であるとき、駆動モータへの電力供給、及び回生モータによる電力回生によって、組電池の各電池スタックにて充放電が行われる。その結果、各電池スタックの電圧、電流、温度などが時々刻々と変化する。このため、車両が走行中であるときには、各電池スタックの計測値を遅滞なく把握するため、無線通信システムは、高い通信信頼性にて無線通信を行うことが好ましい。一方、車両が停車していたり、駐車していたりする場合には、各電池スタックの状態の変化は少ないので、車両走行中に比較して、それほど高い通信信頼性は求められない。従って、車両が停車、又は駐車している場合、無線通信の省電力化を図ることが可能である。一方、車載装置が非駆動系装置の1つであるスマートエントリ装置であった場合、車両が駐車している場合に、デジタルキーを携帯したユーザが車両に接近してきたときに、早期かつ確実に、デジタルキーとの通信が行い得るように、無線通信システムは高い通信信頼性にて無線通信を行うことが好ましい。一方、車両が走行を開始した後は、デジタルキーは車室内にあるので、デジタルキーとの無線通信は、デジタルキーが車室内にあることを定期的に確認する程度で足りる。従って、この場合も、無線通信の省電力化を図ることが可能である。
【0010】
上述したように、駆動系装置と非駆動系装置とでは、無線通信に高い信頼性が求められる場面が、車両の走行状態に応じて異なる。そのため、本開示では、車両の走行状態に応じて、駆動系装置のための無線通信システムにおける無線通信のモードの設定と、非駆動系装置のための無線通信システムにおける無線通信のモードの設定とを異ならせることとした。これにより、駆動系装置及び非駆動系装置のための無線通信に関して、通信信頼性を担保しつつ、消費電力が過大となるとことを抑制することができるようになる。
(【0011】以降は省略されています)
この特許をJ-PlatPat(特許庁公式サイト)で参照する
関連特許
株式会社デンソーウェーブ
筐体
17日前
株式会社デンソー
回転機
17日前
株式会社デンソー
電子装置
6日前
株式会社デンソー
検出装置
16日前
株式会社デンソー
ヒータ装置
4日前
株式会社デンソー
熱交換装置
10日前
株式会社デンソー
半導体装置
12日前
株式会社デンソー
半導体装置
5日前
株式会社デンソー
電流センサ
17日前
株式会社デンソートリム
鞍乗り車両
4日前
株式会社デンソー
センサ装置
3日前
株式会社デンソー
センサ装置
3日前
株式会社デンソー
レーダ装置
23日前
株式会社デンソー
圧電デバイス
3日前
株式会社デンソー
運航管理装置
23日前
株式会社デンソー
電力変換装置
18日前
株式会社デンソー
画像処理装置
17日前
株式会社デンソー
電力変換装置
10日前
株式会社デンソー
電圧検出回路
10日前
株式会社デンソー
巻線界磁ロータ
3日前
株式会社デンソー
非接触受電装置
12日前
株式会社デンソー
部品の当接構造
11日前
株式会社デンソー
スパークプラグ
12日前
株式会社デンソー
ガスセンサ装置
4日前
株式会社デンソー
はんだ付け装置
18日前
株式会社デンソー
巻線界磁ロータ
9日前
株式会社デンソー
巻線界磁ロータ
18日前
株式会社デンソー
巻線界磁ロータ
9日前
株式会社デンソー
ブラシレスモータ
16日前
株式会社デンソー
アンテナデバイス
9日前
株式会社デンソーウェーブ
通行管理システム
24日前
株式会社デンソーウェーブ
レーザレーダ装置
16日前
株式会社デンソー
フェード検知装置
24日前
株式会社デンソーウェーブ
レーザレーダ装置
16日前
株式会社デンソー
セル制御システム
23日前
株式会社デンソー
レーザレーダ装置
4日前
続きを見る
他の特許を見る