TOP
|
特許
|
意匠
|
商標
特許ウォッチ
Twitter
他の特許を見る
10個以上の画像は省略されています。
公開番号
2025177009
公報種別
公開特許公報(A)
公開日
2025-12-05
出願番号
2024083469
出願日
2024-05-22
発明の名称
音低減装置
出願人
株式会社デンソー
代理人
弁理士法人ゆうあい特許事務所
主分類
G10K
11/16 20060101AFI20251128BHJP(楽器;音響)
要約
【課題】圧力損失を増加させることなく、空気の流れに起因する音の大きさを低減可能な音低減装置を提供すること。
【解決手段】
空気の流れに起因する音を低減させる音低減装置は、空気が流れる空気流路を形成する内壁面421を有する空気流路部42と、空気流路部の内壁面に窪んで形成され、内壁面において並んで設けられる複数の溝60、61、62と、を備える。複数の溝は、空気流れ方向に沿って配列、形状および数量のうち少なく1つが変化する。
【選択図】図7
特許請求の範囲
【請求項1】
空気の流れに起因する音を低減させる音低減装置であって、
前記空気が流れる空気流路(30a、42a、114a)を形成する内壁面(36、373、421、1141)を有する空気流路部(30、37、42、114)と、
前記空気流路部の前記内壁面に窪んで形成され、前記内壁面において並んで設けられる複数の溝(60、61、62、63、64、65、66、67、68)と、を備え、
前記複数の溝は、前記空気の流れ方向における上流側から下流側に向かう方向を空気流れ方向としたとき、前記空気流れ方向に沿って配列、形状および数量のうち少なく1つが変化する、音低減装置。
続きを表示(約 1,100 文字)
【請求項2】
前記内壁面は、前記複数の溝によって囲まれる複数の区画(S)を有し、
前記複数の溝は、前記空気流れ方向に沿って前記複数の区画の大きさが変化する変化範囲(CR)を含むように配列されている、請求項1に記載の音低減装置。
【請求項3】
前記複数の溝は、前記変化範囲に、前記空気流れ方向の上流側から下流側に向かうほど前記複数の区画が小さくなる範囲を含むように配列されている、請求項2に記載の音低減装置。
【請求項4】
前記複数の溝は、前記変化範囲における前記空気流れ方向の最上流部から下流側に向かうほど前記複数の区画が小さくなる縮小範囲と、前記変化範囲における前記縮小範囲より前記空気流れ方向の下流側に、前記空気流れ方向の最下流部に向かって前記複数の区画が大きくなる拡大範囲と、を含むように配列されている、請求項2に記載の音低減装置。
【請求項5】
前記複数の溝は、前記変化範囲に、前記空気流れ方向の上流側から下流側に向かうほど前記複数の区画が大きくなる範囲を含むように配列されている、請求項2に記載の音低減装置。
【請求項6】
前記複数の溝は、前記変化範囲における前記空気流れ方向の最上流部から下流側に向かうほど前記複数の区画が大きくなる拡大範囲と、前記変化範囲における前記拡大範囲より前記空気流れ方向の下流側に、前記空気流れ方向の最下流部に向かって前記複数の区画が小さくなる縮小範囲と、を含むように配列されている、請求項2に記載の音低減装置。
【請求項7】
前記複数の溝は、前記空気流れ方向に交差する方向に沿って延び、前記空気流れ方向に並んで設けられる複数の第2溝(62)を含み、
前記複数の第2溝は、前記空気流れ方向に交差する方向に沿って並ぶ前記複数の第2溝それぞれの深さが前記空気流れ方向に沿って変化する変化範囲(CR)を含む、請求項1に記載の音低減装置。
【請求項8】
前記複数の第2溝は、前記変化範囲に、前記空気流れ方向の上流側から下流側に向かうほど深さが大きくなる範囲を含む、請求項7に記載の音低減装置。
【請求項9】
前記複数の第2溝は、前記変化範囲における前記空気流れ方向の最上流部から下流側に向かうほど深さが大きくなる拡大範囲と、前記変化範囲における前記拡大範囲より前記空気流れ方向の下流側に、前記空気流れ方向の最下流部に向かって深さが小さくなる縮小範囲と、を含む、請求項7に記載の音低減装置。
【請求項10】
前記複数の第2溝は、前記変化範囲に、前記空気流れ方向の上流側から下流側に向かうほど深さが小さくなる範囲を含む、請求項7に記載の音低減装置。
(【請求項11】以降は省略されています)
発明の詳細な説明
【技術分野】
【0001】
本開示は、音低減装置に関する。
続きを表示(約 2,600 文字)
【背景技術】
【0002】
従来、空気流路の壁面から空気流路側に向かって突出する複数の突起を設けた空力音低減装置が知られている(例えば、特許文献1参照)。この空力音低減装置は、複数の突起を不均一な形状とする、または、複数の突起を不均一な位置に設置することで、突起によって壁面付近の気流の乱れを抑制するとともに、突起によって新たに発生する気流の乱れを低減させて空力音低減効果を高めている。
【先行技術文献】
【特許文献】
【0003】
特開2013-052808号公報
【発明の概要】
【発明が解決しようとする課題】
【0004】
しかしながら、空気流路内に設けられた突起は、空気流路内を空気が流れる際の抵抗となる。このため、当該突起は、空気流路内に突起が存在しない場合に比べて空気流路内を空気が流れる際の圧力損失が増加する要因となる。さらに、空気流路内に設けられた突起は、空気流路内を空気が流れる際に、当該突起に空気が衝突することで発生する新たな音の発生要因となる。
【0005】
本開示は、圧力損失を増加させることなく、空気の流れに起因する音の大きさを低減可能な音低減装置を提供することを目的とする。
【課題を解決するための手段】
【0006】
本開示の1つの観点によれば、
空気の流れに起因する音を低減させる音低減装置は、
空気が流れる空気流路(30a、42a、114a)を形成する内壁面(36、373、421、1141)を有する空気流路部(30、37、42、114)と、
空気流路部の内壁面に対して窪んで形成され、内壁面に並んで設けられる複数の溝(60、61、62、63、64、65、66、67、68)と、を備え、
複数の溝は、空気の流れ方向における上流側から下流側に向かう方向を空気流れ方向としたとき、空気流れ方向に沿って配列、形状および数量のうち少なく1つが変化する。
【0007】
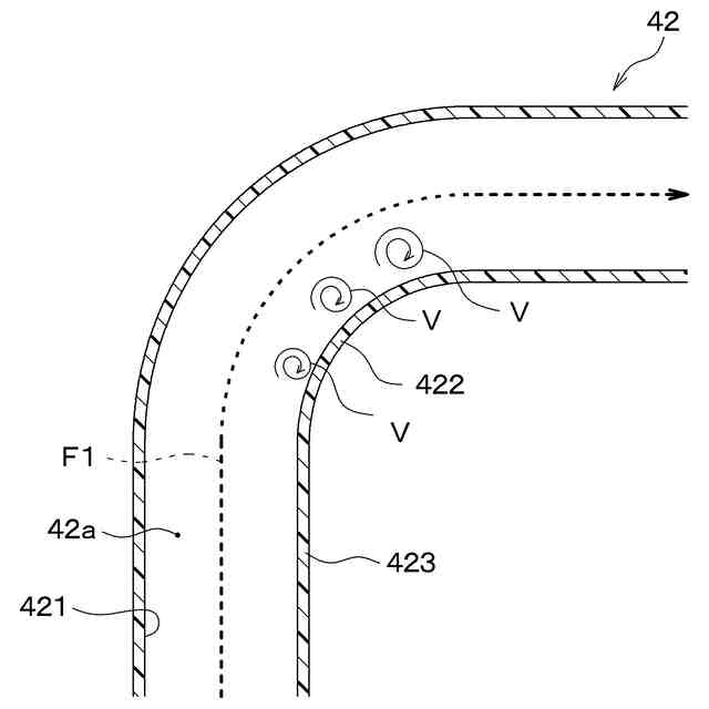
発明者らの鋭意検討によれば、空気流路内を空気が流れる際、内壁面に沿って流れる空気が当該内壁面から剥離すると、空気の流れによって音を発生させる要因となる渦が複数発生する虞がある。そして、発生する複数の渦同士が合成されると、渦の発生に起因する音が大きくなる。しかし、内壁面に複数の溝を設けることで、空気が内壁面から剥離することによって生じる渦を分断させて、合成される渦の成長を抑制することができる。このため、空気の流れに起因する音の大きさを低減することができる。また、内壁面に設ける溝によって音の大きさを低減する構成とすることで、空気流路内を空気が流れる際に当該溝が抵抗となり難い。このため、空気流路内に向かって突出する部材によって空気の流れに起因する音を低減する構成に比較して空気流路内を空気が流れる際の圧力損失が増加することを抑制することができる。
【0008】
ただし、溝が形成されることによって表面形状が変化する部位に沿って空気が流れると、渦の発生に起因する音とは別の音が発生する虞がある。これに対して、複数の溝の配列、形状および数量のうち少なく1つを空気流れ方向に沿って変化させることで、内壁面における溝が形成される部位の表面形状を空気流れ方向に沿って徐々に変化させることができる。このため、内壁面における溝が形成される部位の表面形状の急激な変化を抑制できる。したがって、内壁面における溝が形成される部位に沿って空気が流れることによって発生する音の大きさを抑制することができる。したがって、圧力損失を増加させることなく、空気の流れに起因する音の大きさを低減することができる。
【0009】
なお、各構成要素等に付された括弧付きの参照符号は、その構成要素等と後述する実施形態に記載の具体的な構成要素等との対応関係の一例を示すものである。
【図面の簡単な説明】
【0010】
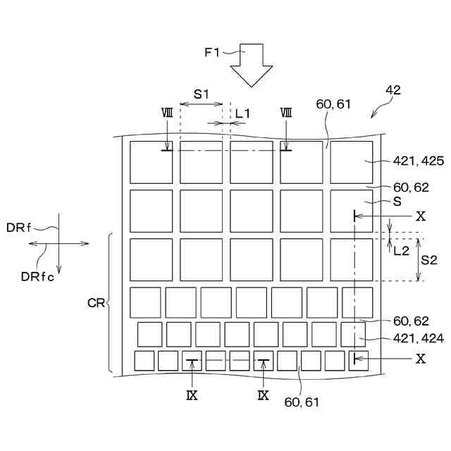
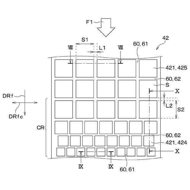
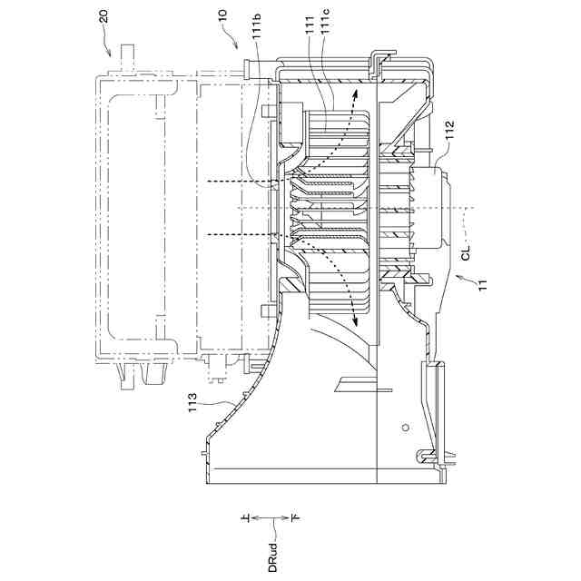
第1実施形態に係る音低減装置が適用される車両用空調装置の概略構成図である。
第1実施形態に係る送風部の断面図である。
第1実施形態に係る車両用空調装置の吹出モードがフェイス吹き出しモードに設定された状態を示す図である。
第1実施形態に係る車両用空調装置の吹出モードがフット/デフロスタ吹き出しモードに設定された状態を示す図である。
フェイス用ダクト内を空気が流れる際に生じる渦を説明するための図である。
フェイス用ダクトに設けられた溝の位置を説明するための図である。
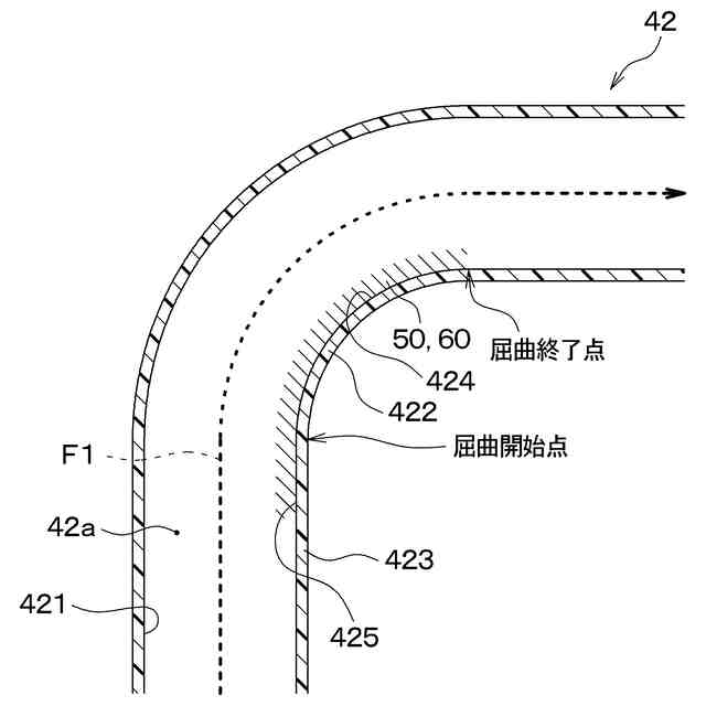
第1実施形態に係る溝の形状を説明するための図である。
図7のVIII-VIII断面図である。
図7のIX-IX断面図である。
図7のX-X断面図である。
第1実施形態に係る溝の効果を説明するためのグラフを示す図である。
第1実施形態の変形例に係る溝の形状を説明するための図である。
第1実施形態の変形例に係る溝の形状を説明するための図である。
第1実施形態の変形例に係る溝の形状を説明するための図である。
第2実施形態に係る溝の形状を説明するための図である。
第3施形態に係る溝の形状を説明するための図である。
第4施形態に係る溝の形状を説明するための図である。
図17のXVIII-XVIII断面図である。
第4施形態に係る第2溝の深さを説明するための図である。
第4実施形態の変形例に係る第2溝の深さを説明するための図である。
第4実施形態の変形例に係る第2溝の深さを説明するための図である。
第4実施形態の変形例に係る第2溝の深さを説明するための図である。
第5施形態に係る溝の形状を説明するための図である。
第6施形態に係る溝の形状を説明するための図である。
第7施形態に係る溝の形状を説明するための図である。
図25のXXVI-XXVI断面図である。
第7施形態に係る第1溝の深さを説明するための図である。
【発明を実施するための形態】
(【0011】以降は省略されています)
この特許をJ-PlatPat(特許庁公式サイト)で参照する
関連特許
株式会社デンソー
分離体
15日前
株式会社デンソー
端子台
9日前
株式会社デンソー
電動機
7日前
株式会社デンソー
ロータ
2日前
株式会社デンソー
ロータ
2日前
株式会社デンソー
撮像装置
28日前
株式会社デンソー
整流回路
今日
株式会社デンソー
光学部材
15日前
株式会社デンソー
光学部材
15日前
株式会社デンソー
トランス
7日前
株式会社デンソー
光学部材
7日前
株式会社デンソー
電子装置
7日前
株式会社デンソー
撮像装置
28日前
株式会社デンソー
電気回路
23日前
株式会社デンソー
熱交換器
28日前
株式会社デンソー
摺動機構
28日前
株式会社デンソー
摺動機構
28日前
株式会社デンソー
回転電機
今日
株式会社デンソー
電磁継電器
7日前
株式会社デンソー
半導体装置
15日前
株式会社デンソー
レーダ装置
1日前
株式会社デンソー
音低減装置
今日
株式会社デンソーエレクトロニクス
電磁継電器
1日前
株式会社デンソー
給電システム
15日前
株式会社デンソー
電子制御装置
今日
株式会社デンソー
電子制御装置
7日前
株式会社デンソー
電力変換装置
7日前
株式会社デンソー
形状検査方法
9日前
株式会社デンソー
電子制御装置
28日前
株式会社デンソー
燃料噴射装置
8日前
株式会社デンソー
表面加工方法
8日前
株式会社デンソー
電気化学セル
28日前
株式会社デンソー
電気化学セル
28日前
株式会社デンソー
電気化学セル
8日前
株式会社デンソー
車両用空調装置
15日前
株式会社デンソー
端末及び基地局
16日前
続きを見る
他の特許を見る