TOP
|
特許
|
意匠
|
商標
特許ウォッチ
Twitter
他の特許を見る
公開番号
2025173266
公報種別
公開特許公報(A)
公開日
2025-11-27
出願番号
2024078771
出願日
2024-05-14
発明の名称
表面加工方法
出願人
株式会社デンソー
代理人
弁理士法人ゆうあい特許事務所
主分類
B24B
57/02 20060101AFI20251119BHJP(研削;研磨)
要約
【課題】使用済みのスラリーを回収および再利用することによるコスト改善効果をよりいっそう向上すること。
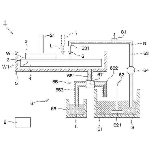
【解決手段】被加工物(W)の表面である被加工面(W1)と加工パッド(3)との間に少なくとも砥粒を含むスラリー(S)を介在させつつ被加工物と加工パッドとを相対移動させることで被加工面を化学的および機械的な作用で平坦化加工する。本開示においては、平坦化加工の際には、スラリーを、加工パッドに供給するスラリー供給流路(63)と使用後のスラリーを回収する回収流路(652)とを含む循環流路(R)にて循環させる。一方、加工パッドを洗浄液(L)で洗浄する際には、洗浄液を、循環流路から外れた廃液流路(653)を介して排出する。
【選択図】図1
特許請求の範囲
【請求項1】
被加工物(W)の表面である被加工面(W1)と加工パッド(3)との間に少なくとも砥粒を含むスラリー(S)を介在させつつ前記被加工物と前記加工パッドとを相対移動させることで、前記被加工面を化学的および機械的な作用で平坦化加工する、表面加工方法であって、
前記平坦化加工の際には、前記スラリーを、前記加工パッドに供給するスラリー供給流路(63)と使用後の前記スラリーを回収する回収流路(652)とを含む前記スラリーの循環流路(R)にて循環させ、
前記加工パッドを洗浄液(L)で洗浄する際には、前記洗浄液を、前記循環流路から外れた廃液流路(653)を介して排出する、
表面加工方法。
続きを表示(約 590 文字)
【請求項2】
前記砥粒のモース硬度は10以下である、
請求項1に記載の表面加工方法。
【請求項3】
前記砥粒はMnO
2
砥粒である、
請求項2に記載の表面加工方法。
【請求項4】
前記スラリーのpHは7~9である、
請求項1に記載の表面加工方法。
【請求項5】
前記スラリー供給流路を通流する前記スラリーにおける前記砥粒の粒径は20μm以下である、
請求項1に記載の表面加工方法。
【請求項6】
前記スラリーにおける前記砥粒の濃度は15重量%以下である、
請求項1に記載の表面加工方法。
【請求項7】
前記スラリー供給流路を通流する前記スラリーの流速は0.15m/s以上である、
請求項1に記載の表面加工方法。
【請求項8】
前記スラリー供給流路を通流する前記スラリーの特性の測定結果に基づいて、前記平坦化加工における加工条件を制御する、
請求項1に記載の表面加工方法。
【請求項9】
10時間以上の前記平坦化加工に耐え得る前記加工パッドを用いる、
請求項1に記載の表面加工方法。
【請求項10】
前記被加工物はSiCからなる、
請求項1に記載の表面加工方法。
発明の詳細な説明
【技術分野】
【0001】
本開示は、被加工物の表面である被加工面を化学的および機械的な作用で平坦化加工する、表面加工方法に関するものである。
続きを表示(約 1,700 文字)
【背景技術】
【0002】
特許文献1は、研磨パッド等の研磨部材と被研磨物との間に研磨材スラリーを介在させた状態で研磨を行うCMPにおいて、使用済み研磨材を含有する回収スラリーから研磨材を回収する方法を開示する。CMPはChemical Mechanical Polishingの略である。
【0003】
具体的には、特許文献1に記載の回収方法は、ケイ素を主成分として含む被研磨物を研磨した研磨材スラリーから研磨材を回収する方法であって、pH調整剤を使用しない条件下、少なくとも下記工程1から工程3を経て被研磨物成分を除去し、研磨材を回収する。
工程1:研磨材スラリーに溶媒を加える工程
工程2:研磨材スラリーに含有されている被研磨物成分のうちの被研磨物粒子を溶解する工程
工程3:研磨材スラリーを濾過して研磨材を回収する工程
【先行技術文献】
【特許文献】
【0004】
特開2016-175138号公報
【発明の概要】
【発明が解決しようとする課題】
【0005】
特許文献1にも記載されているように、使用済みのスラリーを回収して再利用する従来の試みにおいては、被研磨物の溶解あるいは分離のための溶媒や薬剤等の添加を行う等、複雑な処理が必要であった。このため、回収および再利用をせずに使用済みのスラリーを廃棄する場合よりも低コスト化が可能とはなるものの、まだまだコスト改善の余地があった。
【0006】
本開示は、上記に例示した事情等に鑑みてなされたものである。すなわち、本開示は、例えば、使用済みのスラリーを回収および再利用することによるコスト改善効果をよりいっそう向上することを可能とする技術を提供するものである。
【課題を解決するための手段】
【0007】
本開示の一側面によれば、被加工物(W)の表面である被加工面(W1)と加工パッド(3)との間に少なくとも砥粒を含むスラリー(S)を介在させつつ前記被加工物と前記加工パッドとを相対移動させることで前記被加工面を化学的および機械的な作用で平坦化加工する表面加工方法は、以下の処理、手順、あるいは工程を含む:
前記平坦化加工の際には、前記スラリーを、前記加工パッドに供給するスラリー供給流路(63)と使用後の前記スラリーを回収する回収流路(652)とを含む前記スラリーの循環流路(R)にて循環させ、
前記加工パッドを洗浄液(L)で洗浄する際には、前記洗浄液を、前記循環流路から外れた廃液流路(653)を介して排出する。
【0008】
なお、出願書類中の各欄において、各要素に括弧付きの参照符号が付されている場合がある。この場合、参照符号は、同要素と後述する実施形態に記載の具体的構成との対応関係の単なる一例を示すものにすぎない。よって、本開示は、参照符号の記載によって、何ら限定されるものではない。
【図面の簡単な説明】
【0009】
本開示の一実施形態に係る表面加工方法を実施するための表面加工装置の概略構成図である。
実施例および比較例に係る表面加工方法における加工レートの低下度合いを示すグラフである。
【発明を実施するための形態】
【0010】
(実施形態)
以下、本開示の実施形態について、適宜図面を参照しつつ説明する。なお、以下の実施形態やその変形例およびこれらに関する図面の記載は、本開示の内容を簡潔に説明するために模式化あるいは簡略化されたものであって、これによって本開示の内容は何ら限定されるものではない。このため、図面の記載と、実際に製造販売される具体的な装置構成とは、必ずしも一致するとは限らないということは、云うまでもない。すなわち、出願人が本願の出願経過により明示的に限定しない限りにおいて、本開示は、図面の記載、および、これに対応して以下に説明する装置構成やその機能あるいは動作に関する記載によって限定的に解釈されてはならないことは、云うまでもない。
(【0011】以降は省略されています)
この特許をJ-PlatPat(特許庁公式サイト)で参照する
関連特許
株式会社デンソー
電動弁
21日前
株式会社デンソー
端子台
1日前
株式会社デンソー
分離体
7日前
株式会社デンソー
電子装置
21日前
株式会社デンソー
制御装置
23日前
株式会社デンソー
撮像装置
20日前
株式会社デンソー
光学部材
7日前
株式会社デンソー
光学部材
7日前
株式会社デンソー
摺動機構
20日前
株式会社デンソー
摺動機構
20日前
株式会社デンソー
熱交換器
20日前
株式会社デンソー
電気回路
15日前
株式会社デンソー
電解装置
22日前
株式会社デンソー
撮像装置
20日前
株式会社デンソー
検出装置
1か月前
株式会社デンソー
電子装置
1か月前
株式会社デンソー
半導体装置
1か月前
株式会社デンソー
半導体装置
1か月前
株式会社デンソー
熱交換装置
1か月前
株式会社デンソー
センサ装置
28日前
株式会社デンソー
半導体装置
20日前
株式会社デンソートリム
鞍乗り車両
29日前
株式会社デンソー
熱交換部材
22日前
株式会社デンソー
半導体装置
22日前
株式会社デンソー
ヒータ装置
29日前
株式会社デンソー
センサ装置
28日前
株式会社デンソー
半導体装置
7日前
株式会社デンソー
表面加工方法
今日
株式会社デンソーテン
車載表示装置
20日前
株式会社デンソー
電子制御装置
20日前
株式会社デンソー
電圧検出回路
1か月前
株式会社デンソー
電力変換装置
1か月前
株式会社デンソー
電気化学セル
20日前
株式会社デンソー
電気化学セル
20日前
株式会社デンソー
圧電デバイス
28日前
株式会社デンソー
燃料噴射装置
今日
続きを見る
他の特許を見る