TOP
|
特許
|
意匠
|
商標
特許ウォッチ
Twitter
他の特許を見る
10個以上の画像は省略されています。
公開番号
2025166272
公報種別
公開特許公報(A)
公開日
2025-11-06
出願番号
2022151432
出願日
2022-09-22
発明の名称
電動弁
出願人
株式会社デンソー
代理人
弁理士法人かいせい特許事務所
主分類
F16K
31/04 20060101AFI20251029BHJP(機械要素または単位;機械または装置の効果的機能を生じ維持するための一般的手段)
要約
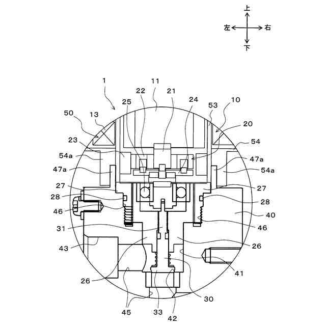
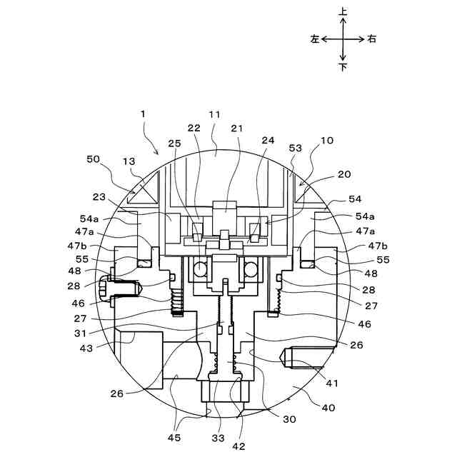
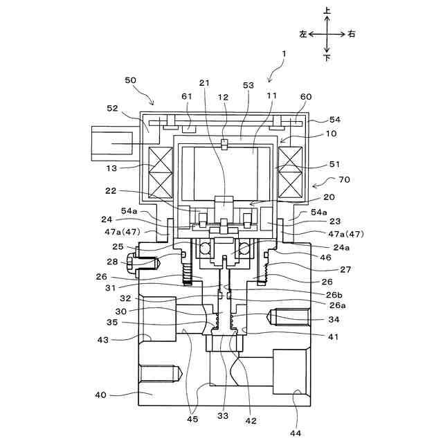
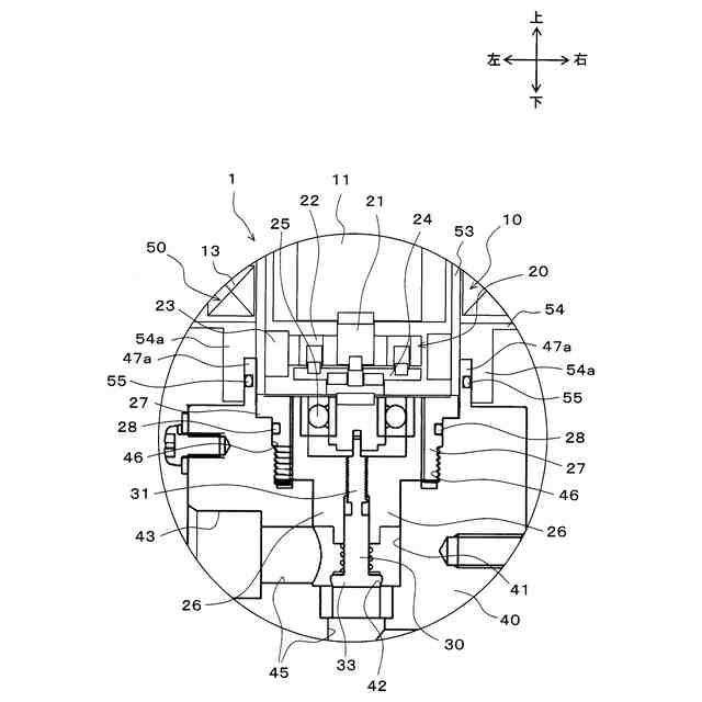
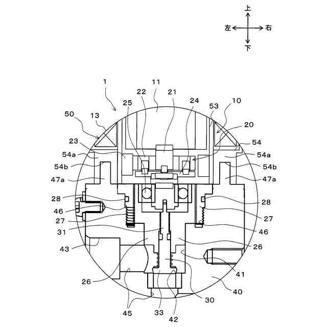
【課題】電力によって駆動部で発生した駆動力の作用で、本体部の内部にて弁体を移動させる電動弁に関し、内部に対する防水性を向上させた電動弁を提供する。
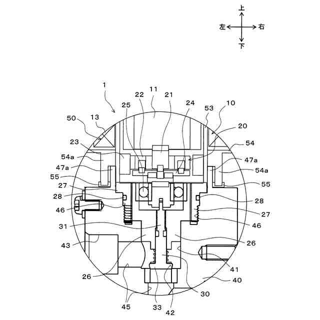
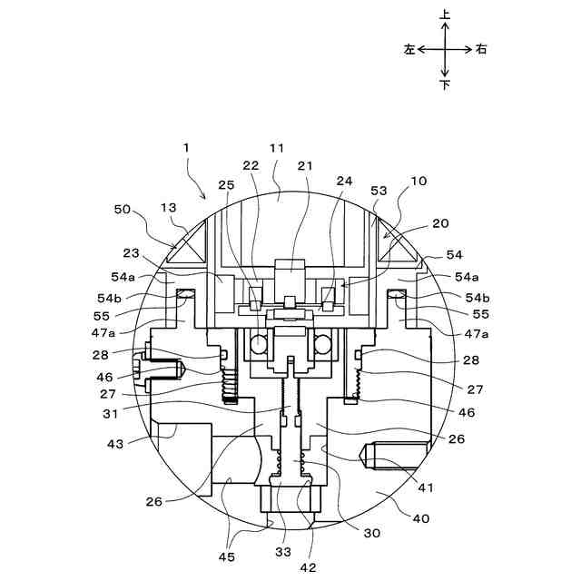
【解決手段】電気式膨張弁1は、本体部40と、駆動モータ10と、保持部材27と、ケーシング54を有する。本体部40は、流体が流れる冷媒流路45を内部に有する。保持部材27は、本体部40の一面に形成された取付部46に取り付けられる。保持部材27は、弁体33の移動方向を冷媒流路45の内部へ向かうように案内すると共に、弁体33及び駆動モータ10の位置を位置決めする。ケーシング54は、本体部40の一面側において、保持部材27及び駆動モータ10を覆うように本体部40に対して取り付けられる。本体部40における取付部46の周囲には、ケーシング54との接触部分の内側で隣接する位置にて、本体部40の一面を鉛直方向に変位させた段差部47が形成されている。
【選択図】図1
特許請求の範囲
【請求項1】
流体が流れる流路(45)を内部に有する本体部(40)と、
前記流路を流れる前記流体の流量を調整する弁体(33)を移動させる駆動力を電力によって発生させる駆動部(10)と、
前記本体部の一面に形成された取付部(46)に取り付けられ、前記弁体の移動方向を前記流路の内部へ向かうように案内すると共に、前記弁体及び前記駆動部の位置を位置決めする保持部材(27)と、
前記本体部の一面側において、前記保持部材及び前記駆動部を覆うように前記本体部に対して取り付けられるケーシング(54)と、を有する電動弁であって、
前記本体部における前記取付部の周囲には、前記ケーシングとの接触部分の内側で隣接する位置にて、前記本体部の一面を鉛直方向に変位させた段差部(47)が形成されている電動弁。
続きを表示(約 440 文字)
【請求項2】
前記本体部と前記ケーシングの間には、前記本体部と前記ケーシングとの間に形成される隙間を封止するシール部材(55)が、前記取付部の周囲にわたって配置されている請求項1に記載の電動弁。
【請求項3】
前記シール部材は、前記段差部の外側にて接するように、前記取付部の周囲にわたって配置されている請求項2に記載の電動弁。
【請求項4】
前記本体部は、第1の金属を含む鋳造材によって構成されており、
前記保持部材は、前記第1の金属とは異なる第2の金属によって構成されている請求項1ないし3の何れか1つに記載の電動弁。
【請求項5】
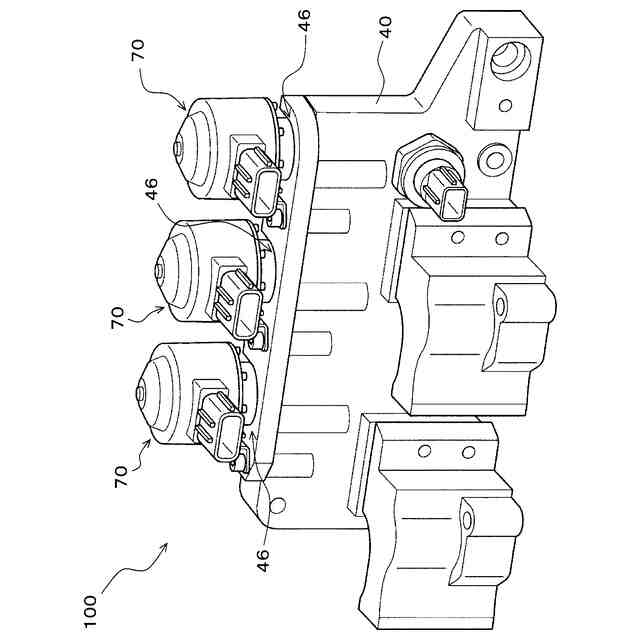
前記駆動部、前記ケーシング及び前記弁体を含むバルブユニット(70)が構成され、
前記本体部には、複数の前記取付部及び前記段差部が形成されており、
前記取付部及び前記段差部には、それぞれ前記バルブユニットが取り付けられるように構成されている請求項4に記載の電動弁。
発明の詳細な説明
【技術分野】
【0001】
本開示は、電力によって駆動部で発生した駆動力の作用で、本体部の内部にて弁体を移動させる電動弁に関する。
続きを表示(約 1,400 文字)
【背景技術】
【0002】
従来、電動弁においては、ケーシング内部に水分が浸入すると、モータ等の内部機構の動作に影響が出ると想定される為、内部への水分の浸入を抑制する為の技術が開発されている。内部への水分の浸入を抑制する為の技術として、例えば、特許文献1に記載された技術が知られている。
【0003】
特許文献1に記載された技術では、モータを構成するステータと一体に形成された筒部と、バルブの本体部に形成されたステータ対向部との間に、環状のシール部材を配置することで、電動弁の内部に対する防水性を高めている。
【先行技術文献】
【特許文献】
【0004】
特許第7000622号
【発明の概要】
【発明が解決しようとする課題】
【0005】
特許文献1の技術では、電動弁の内部に対する防水性は、シール部材の性能によるところが大きく、シール部材の劣化が進行してしまうと、電動弁の内部に対して水分が浸入してしまうことが想定される。
【0006】
特に、特許文献1に記載された構成では、シール部材は本体部上面と筒状部の下端との間に挟まれており、その周囲には、保持部材に相当する第2ボディスリーブと本体部との接触面が位置している。つまり、シール部材の劣化により水分が浸入した場合、第2ボディスリーブと本体部の間に形成される隙間を介した水分の浸入が生じると考えられる為、電動弁の内部に対する防水性を向上させる為の従来とは異なる形式を開発することが望まれている。
【0007】
本開示は、上記点に鑑み、電力によって駆動部で発生した駆動力の作用で、本体部の内部にて弁体を移動させる電動弁に関し、内部に対する防水性を向上させた電動弁を提供することを目的とする。
【課題を解決するための手段】
【0008】
本開示の一態様に係る電動弁は、本体部(40)と、駆動部(10)と、保持部材(27)と、ケーシング(54)と、を有する。本体部は、流体が流れる流路(45)を内部に有する。駆動部は、流路を流れる流体の流量を調整する弁体(33)を移動させる駆動力を電力によって発生させる。保持部材は、本体部の一面に形成された取付部(46)に取り付けられる。保持部材は、弁体の移動方向を流路の内部へ向かうように案内すると共に、弁体及び駆動部の位置を位置決めする。ケーシングは、本体部の一面側において、保持部材及び駆動部を覆うように本体部に対して取り付けられる。本体部における取付部の周囲には、ケーシングとの接触部分の内側で隣接する位置にて、本体部の一面を鉛直方向に変位させた段差部(47)が形成されている。
【0009】
電動弁によれば、ケーシング及び本体部により構成される内部空間には、駆動部及び保持部材が収容され、電動弁の外部と内部空間との間には、取付部の周囲に位置する段差部が配置されている。
【0010】
電動弁の外部と内部空間との間には、ケーシングと本体部の間に形成される隙間が位置することになる為、段差部を設けることで、鉛直方向への変位量に応じて、隙間の長さを長くすることができる。これにより、電動弁は、段差部を形成することによって、ケーシングと本体部の間の隙間を介した水分の浸入を、より確実に抑制することができる。
(【0011】以降は省略されています)
この特許をJ-PlatPat(特許庁公式サイト)で参照する
関連特許
個人
留め具
1か月前
個人
鍋虫ねじ
3か月前
個人
回転伝達機構
4か月前
個人
紛体用仕切弁
3か月前
個人
差動歯車用歯形
5か月前
個人
給排気装置
2か月前
個人
ジョイント
2か月前
個人
ナット
1か月前
株式会社不二工機
電磁弁
5か月前
個人
ナット
2か月前
個人
地震の揺れ回避装置
4か月前
個人
吐出量監視装置
3か月前
個人
ゲート弁バルブ
19日前
カヤバ株式会社
ダンパ
5か月前
兼工業株式会社
バルブ
1か月前
柿沼金属精機株式会社
分岐管
3か月前
カヤバ株式会社
ダンパ
5か月前
カヤバ株式会社
緩衝器
5か月前
カヤバ株式会社
緩衝器
5か月前
カヤバ株式会社
緩衝器
2か月前
株式会社タカギ
水栓装置
4か月前
株式会社三五
ドライブシャフト
1か月前
株式会社不二工機
電磁弁
3か月前
株式会社ノーリツ
分配弁
2か月前
アズビル株式会社
回転弁
2か月前
竹内工業株式会社
ラッチ
4日前
株式会社不二工機
電動弁
2か月前
株式会社ニフコ
クリップ
19日前
株式会社ニフコ
クリップ
2か月前
株式会社奥村組
制振機構
2か月前
株式会社奥村組
制振機構
2か月前
アマテイ株式会社
釘
1か月前
株式会社不二越
転がり軸受
3か月前
アズビル株式会社
連結装置
今日
個人
ワンウェイベアリング
4か月前
株式会社ノナガセ
免震装置
1か月前
続きを見る
他の特許を見る