TOP
|
特許
|
意匠
|
商標
特許ウォッチ
Twitter
他の特許を見る
10個以上の画像は省略されています。
公開番号
2025171755
公報種別
公開特許公報(A)
公開日
2025-11-20
出願番号
2024077402
出願日
2024-05-10
発明の名称
分離体
出願人
株式会社デンソー
,
学校法人 芝浦工業大学
代理人
弁理士法人あいち国際特許事務所
主分類
B01D
69/12 20060101AFI20251113BHJP(物理的または化学的方法または装置一般)
要約
【課題】分離性能を向上させることができる分離体を提供すること。
【解決手段】分離体1は、被処理液d0に含まれる被分離液体を蒸気vの状態で透過させることにより、被処理液d0から被分離液体を分離するために用いられる。分離体1は、多数の細孔20を有する多孔質セラミック層2と、被覆層3と、を備える。被覆層3は、多孔質セラミック層2の被処理液d0に面する処理側面21に形成されると共に、多孔質セラミック層2の細孔20を形成する細孔形成面22に形成されている。被覆層3の表面の被分離液体に対する接触角θは、90°よりも大きい。
【選択図】図5
特許請求の範囲
【請求項1】
被処理液(d0)に含まれる被分離液体(L)を蒸気(v)の状態で透過させることにより、前記被処理液から前記被分離液体を分離するための分離体(1)であって、
多数の細孔(20)を有する多孔質セラミック層(2)と、
前記多孔質セラミック層の前記被処理液に面する処理側面(21)に形成されると共に、前記多孔質セラミック層の前記細孔を形成する細孔形成面(22)に形成された被覆層(3)と、を備え、
前記被覆層の表面の前記被分離液体に対する接触角θは、90°よりも大きい、分離体。
続きを表示(約 680 文字)
【請求項2】
前記被覆層は、炭素化合物からなる、請求項1に記載の分離体。
【請求項3】
前記細孔の平均細孔径は、3μm以下である、請求項1又は2に記載の分離体。
【請求項4】
前記細孔の平均細孔径は、0.3μm以下である、請求項3に記載の分離体。
【請求項5】
前記多孔質セラミック層は、前記処理側面とは反対側の面であると共に、前記蒸気を排出する側の面である排出側面(23)を有し、
前記多孔質セラミック層の厚み方向(TD)において、前記多孔質セラミック層における、前記処理側面から前記排出側面側へ3μm進んだ位置を特定位置(P)としたとき、
前記被覆層は、前記厚み方向において、前記処理側面から、前記多孔質セラミック層における前記特定位置よりも前記排出側面側の位置までにわたって、前記処理側面と前記細孔形成面とに形成されている、請求項1又は2に記載の分離体。
【請求項6】
前記被覆層は、少なくとも、前記処理側面から、前記多孔質セラミック層の厚み方向(TD)の中央部までにわたって、前記処理側面及び前記細孔形成面に形成されている、請求項1又は2に記載の分離体。
【請求項7】
前記多孔質セラミック層は、前記処理側面とは反対側の面であると共に、前記蒸気を排出する側の面である排出側面(23)を有し、前記被覆層は、前記多孔質セラミック層の厚み方向(TD)の全体にわたって、前記処理側面、前記細孔形成面、前記排出側面に形成されている、請求項1又は2に記載の分離体。
発明の詳細な説明
【技術分野】
【0001】
本発明は、分離体に関する。
続きを表示(約 1,900 文字)
【背景技術】
【0002】
例えば、特許文献1に開示されているように、浸透気化処理によって、有機化合物と水の混合液から、水を選択的に分離することができる水分離膜が知られている。この水分離膜は、多孔質セラミック膜上に、フッ素含有有機シラン化合物の縮合物を含むフッ素含有コーティング層を積層することにより、水の分離性能の向上、及び使用に伴う経時的な水の分離性能の低下を抑制しようとしている。
【先行技術文献】
【特許文献】
【0003】
特開2022-41413号公報
【発明の概要】
【発明が解決しようとする課題】
【0004】
しかしながら、特許文献1に記載の水分離膜は、多孔質セラミック膜の細孔内に形成された凝縮水と混合液との接触を抑制することについては、充分に考慮されていない。すなわち、水蒸気が凝縮することにより形成された細孔内の凝縮水と、混合液との接触を防ぐことにより、混合液が水分離膜を通過することを抑制することについては、充分に考慮されていない。そのため、水の分離性能向上の観点から、さらなる改善の余地があるといえる。
【0005】
本発明は、かかる課題に鑑みてなされたものであり、分離性能を向上させることができる分離体を提供しようとするものである。
【課題を解決するための手段】
【0006】
本発明の一態様は、被処理液(d0)に含まれる被分離液体(L)を蒸気(v)の状態で透過させることにより、前記被処理液から前記被分離液体を分離するための分離体(1)であって、
多数の細孔(20)を有する多孔質セラミック層(2)と、
前記多孔質セラミック層の前記被処理液に面する処理側面(21)に形成されると共に、前記多孔質セラミック層の前記細孔を形成する細孔形成面(22)に形成された被覆層(3)と、を備え、
前記被覆層の表面の前記被分離液体に対する接触角θは、90°よりも大きい、分離体にある。
【発明の効果】
【0007】
上記分離体において、多孔質セラミック層の処理側面及び細孔形成面には、被覆層が形成されている。それゆえ、細孔内において凝縮した被分離液体と、被処理液とが接触することを抑制できる。そのため、被処理液が分離体を通過することを充分に抑制できる。その結果、分離性能を向上させることができる。
【0008】
以上のごとく、上記態様によれば、分離性能を向上させることができる分離体を提供することができる。
なお、特許請求の範囲及び課題を解決する手段に記載した括弧内の符号は、後述する実施形態に記載の具体的手段との対応関係を示すものであり、本発明の技術的範囲を限定するものではない。
【図面の簡単な説明】
【0009】
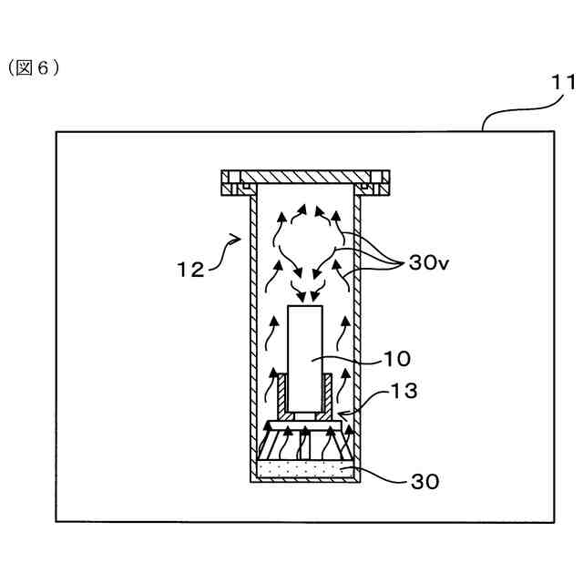
実施形態1における、膜蒸留装置の概念図。
実施形態1における、膜蒸留部の正面図及び断面図。
実施形態1における、膜蒸留部の斜視図。
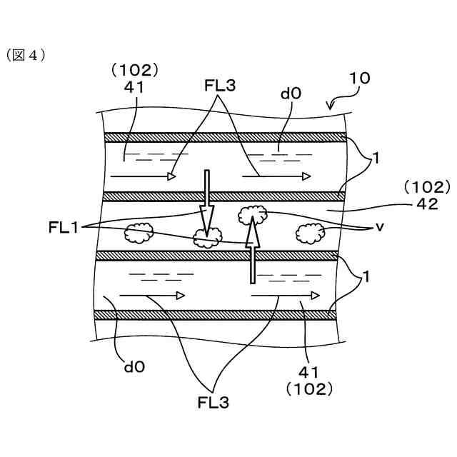
実施形態1における、膜蒸留部の第1流路と第2流路とを示す断面図。
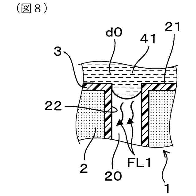
実施形態1における、分離体の断面図。
実施形態1における、蒸着によって、膜蒸留部の多孔質セラミック層に被覆層を形成する様子を示す断面図。
比較形態における、細孔付近の拡大断面図であって、細孔内に凝縮水が生成される様子を示す断面図。
実施形態1における、細孔付近の拡大断面図。
実験例1における、凝縮水が細孔形成面に形成されるときの、細孔径と相対湿度との関係を示すグラフ。
実験例2における、液体の表面張力と接触角との関係を示すグラフ。
実験例2における、各液体の表面張力を示したグラフ。
【発明を実施するための形態】
【0010】
(実施形態1)
分離体に係る実施形態について、図1~図8を参照して説明する。
本形態の分離体1は、図1、図4、図5、図8に示すごとく、被処理液d0に含まれる被分離液体Lを蒸気vの状態で透過させることにより、被処理液d0から被分離液体Lを分離するために用いられる。分離体1は、図5、図8に示すごとく、多数の細孔20を有する多孔質セラミック層2と、被覆層3と、を備える。被覆層3は、多孔質セラミック層2の被処理液d0に面する処理側面21に形成されると共に、多孔質セラミック層2の細孔20を形成する細孔形成面22に形成されている。被覆層3の表面の被分離液体Lに対する接触角θは、90°よりも大きい。
(【0011】以降は省略されています)
この特許をJ-PlatPat(特許庁公式サイト)で参照する
関連特許
他の特許を見る