TOP
|
特許
|
意匠
|
商標
特許ウォッチ
Twitter
他の特許を見る
10個以上の画像は省略されています。
公開番号
2025165861
公報種別
公開特許公報(A)
公開日
2025-11-05
出願番号
2025024424
出願日
2025-02-18
発明の名称
熱交換部材
出願人
株式会社デンソー
代理人
個人
,
個人
主分類
H01L
23/36 20060101AFI20251028BHJP(基本的電気素子)
要約
【課題】熱交換部材の熱伝達効率を高める。
【解決手段】熱交換部材は、上面を有する基板を含む。複数のフィンが上面から外向きに延びている。複数のフィンは基部から先端まで延びており、基部と先端の間の距離は、フィンの高さを定義している。複数のディンプルは、曲面をもつ3Dプリント体である。複数のディンプルは、複数のフィンの間、または、複数のフィンのそれぞれの上に配置されている。
【選択図】図1
特許請求の範囲
【請求項1】
上面を有する基板と、
前記上面から外側に向けて延び出している複数のフィンであって、基部から先端まで延び出しており、前記基部と前記先端との間の距離によって定義されるフィン高さを有する複数のフィンと、
曲面をもつ3Dプリント体である複数のディンプルとを有し、
複数の前記ディンプルは、複数の前記フィンの間、または、複数の前記フィンのそれぞれの上に配置されている熱交換部材。
続きを表示(約 1,500 文字)
【請求項2】
請求項1に記載の熱交換部材において、
複数の前記フィンは、前記上面を横切る長手方向に沿って複数のチャネルを区画しており、
複数の前記ディンプルは、少なくとも1つの前記チャネルの間に配置されている。
【請求項3】
請求項2に記載の熱交換部材において、
複数の前記フィンは、第1のチャネルと第2のチャネルとを区画しており、
複数の前記ディンプルには、第1のディンプルグループと第2のディンプルグループが含まれており、前記第1のディンプルグループは前記第1のチャネル内に第1のパターンで配置されており、前記第2のディンプルグループは前記第2のチャネル内に第2のパターンで配置されており、前記第2のパターンは前記第1のパターンとは異なる。
【請求項4】
請求項1に記載の熱交換部材において、
複数の前記ディンプルは、複数の前記フィン上における、フィン高さの30%未満の領域内、または、フィン高さの70%を超える領域内に配置されている。
【請求項5】
請求項2に記載の熱交換部材において、
複数のディンプルのうちの少なくとも1つは、複数のフィンのうちの少なくとも1つの基部に隣接して、複数のフィンのうちの少なくとも1つから外側に向けて延び出している。
【請求項6】
請求項1に記載の熱交換部材において、
複数の前記ディンプルのうち少なくとも1つは、第1フィンの第1端部、および、第2フィンの第2端部に隣接して配置されており、
前記第1フィンと前記第2フィンは共通の列に配置されている。
【請求項7】
上面、第1の側面、および、前記第1の側面の反対側の第2の側面を有する基板と、
前記第1の側面に隣接した位置から前記第2の側面に隣接した位置までの長手方向に沿って、前記上面から外側に延び出している複数のフィンと、
頂点において収束する放物線形状を有する側面をもつ複数のディンプルとを有し、
複数の前記ディンプルは、複数の前記フィンの間の上面、または、複数の前記フィンの表面上に配置されており、
複数の前記ディンプルは、3Dプリントディンプルである熱交換部材。
【請求項8】
請求項7に記載の熱交換部材において、
複数の前記フィンは少なくとも1つのチャネルを区画しており、
複数の前記ディンプルは、第1のディンプルグループと第2のディンプルグループとを含み、
前記第1のディンプルグループの複数の前記ディンプルは、少なくとも1つの前記チャネル内において第1のパターンで配置され、前記第2のディンプルグループの複数の前記ディンプルは、少なくとも1つの前記チャネル内で第2のパターンで配置され、前記第2のパターンは前記第1のパターンとは異なる。
【請求項9】
請求項8に記載の熱交換部材において、
少なくとも1つの前記チャネルには、前記第1の側面に隣接する前記第1のパターンの複数の前記ディンプルと、前記第2の側面に隣接する前記第2のパターンの複数の前記ディンプルとが含まれている。
【請求項10】
請求項7に記載の熱交換部材において、
複数の前記ディンプルは、第1の形状と第2の形状とを含み、
複数の前記フィンは少なくとも1つのチャネルを区画しており、
少なくとも1つの前記チャネルには、前記第1の形状である複数の前記ディンプル、および、前記第2の形状である複数の前記ディンプルが含まれている。
(【請求項11】以降は省略されています)
発明の詳細な説明
【関連出願の相互参照】
【0001】
この出願は、2024年4月23日に出願された「改良されたプレートフィン熱交換器HTCのための複雑なディンプル形状」と題された仮出願番号63/637、526、および、2024年10月14日に日本に出願された出願番号18/914749を基礎としており、基礎の出願の利益を主張するものであり、その内容は参照により全体として組み込まれている。
続きを表示(約 2,800 文字)
【技術分野】
【0002】
この開示は、熱伝達を改善するための熱交換器に関する。実施形態では、この開示はディンプルを備えた熱交換部材に関する。
【背景技術】
【0003】
多くの電気部品の性能、寿命、安全性は、電気部品が動作する温度に依存しており、熱の蓄積はこれらの要素に悪影響を及ぼす可能性がある。電気部品の温度は、電気部品、または、その周囲の環境から発生する熱の影響を受ける可能性がある。放熱部材は、電気部品やその他の発熱デバイスからの熱を放散し、熱の蓄積による悪影響を防ぐために使用される。一部の放熱部材では、電気部品と熱的に結合している基部から外側に伸び出すプレートフィン、または、ピンフィンが利用される。流体(空気、水など)がフィンの表面に沿って流れ、ヒートシンクに沿って流れると、フィンが電気部品から流体に熱を伝達し、電気部品を冷却する。
【0004】
放熱部材の表面積を増やすことで、放熱部材から流体への熱伝達を改善できる場合がある。通常、放熱部材の表面積を増やすと、放熱部材の熱伝達と対流熱伝達が向上する。ただし、放熱部材の表面積が増加すると、流体の流れが妨げられ、対流熱伝達効率が低下し、圧力降下が大きくなる可能性がある。
【発明の概要】
【0005】
この明細書では、熱伝達効率を改善するための熱交換部材の実施形態について説明する。熱交換部材は、上面を有する基板を含む。複数のフィンが上面から外向きに延びている。複数のフィンは基部から先端まで延びており、基部と先端の間の距離は、フィンの高さを定義している。複数のディンプルは、曲面をもつ3Dプリント体である。複数のディンプルは、複数のフィンの間、または、複数のフィンのそれぞれの上に配置されている。
【0006】
熱交換部材の別の実施形態は、第1の側面と、第1の側面の反対側にある第2の側面とを備える基板を有する。複数のフィンは、第1の側面に隣接した位置から第2の側面に隣接した位置までの長手方向に沿って延びており、さらに、上面から外側に向けて延び出している。複数のディンプルは、頂点において収束する側面をもつ。側面は、上側に向けて凸の放物線形状を有する。複数のディンプルは、複数のフィン間の上面、または、複数のフィンの表面上に配置されている。複数のディンプルは、3Dプリントされた複数のディンプルである。
【0007】
熱交換部材の別の実施形態は、上面、第1の側面、および、第1の側面の反対側にある第2の側面を有する基板を有する。複数のフィンが、第1の側面に隣接した位置から第2の側面に隣接した位置までの長手方向に沿って上面から外側に延びている。複数のフィンは、基部から先端まで延びており、基部と先端の間の距離は、フィンの高さを定義している。基板は、複数のフィンの間の上面に位置する複数のディンプルを含む第1セットを区画している。第1セットは、第1群とも呼ばれる。第1セットに属する複数のディンプルは、フィン高さの30%未満のディンプル高さを有する。複数のフィンは、フィン高さの30%未満、または、フィン高さの70%を超える複数のフィンの表面上に、複数のディンプルの第2セットを区画している。第2セットは、第2群とも呼ばれる。
【図面の簡単な説明】
【0008】
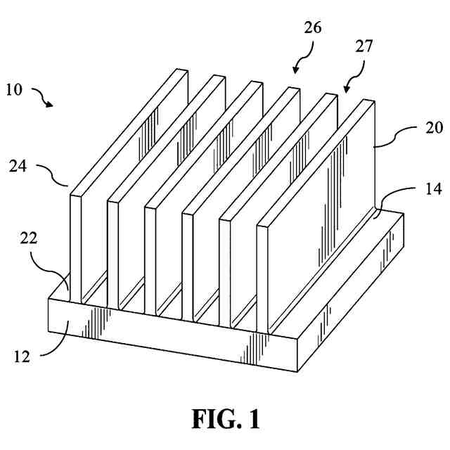
図1は、従来技術によるプレートフィンを備えた従来の熱交換部材の斜視図である。
図2は、従来技術によるピンフィンを備えた従来の熱交換部材の上面図である。
図3は、この開示の一実施形態による、直線板フィンと球状ディンプルとを備えた熱交換部材の断面側面図である。
図4は、この開示の一実施形態による、非線形プレートフィン、および、球状ディンプルが様々なパターンで配置された熱交換部材の上面図である。
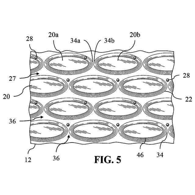
図5は、この開示の一実施形態による、ピンフィン、および、球状ディンプルを備えた熱交換部材の上面図である。
図6は、図5に示す熱交換部材の側面透視図である。
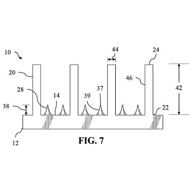
図7は、この開示の一実施形態による、放物線状のディンプルを備えた図3に示す熱交換部材の断面側面図である。
図8Aは、この開示の一実施形態による翼型ディンプルの上面図である。
図8Bは、この開示の一実施形態による翼型ディンプルの上面図である。
図8Cは、この開示の一実施形態による翼型ディンプルの上面図である。
図8Dは、この開示の一実施形態による翼型ディンプルの上面図である。
【発明を実施するための形態】
【0009】
この開示の実施形態が以下において説明されている。しかしながら、開示された実施形態は単なる例であり、他の実施形態に示され、示唆される様々な代替形態を取ることができることが理解されるべきである。図は必ずしも縮尺どおりではなく、一部の機能は、特定の部品、または、部分の詳細を示すために誇張または縮小されている場合がある。したがって、この明細書に開示される特定の構造的、および、機能的詳細は、限定的に解釈されるべきではなく、単に、当業者に対して、実施形態を様々に使用できることを教示するための代表的な基礎として解釈されるべきである。当業者が理解するように、図のいずれかを参照して図示、および、説明される様々な特徴は、1つ、または、複数の他の図に示される特徴と組み合わせて、明示的に図示、または、説明されない実施形態を生成することができる。図示された特徴の組み合わせは、典型的な用途のための代表的な実施形態を提供する。しかしながら、この開示の教示と一致する特徴の様々な組み合わせ、および、修正は、特定の用途、または、実装のために望まれる可能性がある。
【0010】
この明細書に使用されている単数、または、複数を示す用語は、文脈により明らかに別の意味が示されていない限り、単数と、複数との両方の対象物を指すことがあるものと解されるべきである。この明細書に使用されている上記、前記といった先行する対象物との関係を示す用語は、文脈により明らかに別の意味が示されていない限り、先行する対象物と同じ対象物と、異なる対象物との両方の対象物を指すことがあるものと解されるべきである。例として、さまざまな機能を実行するようにプログラムされた「プロセッサ」とは、すべての機能を実行するようにプログラムされた1つのプロセッサ、または、さまざまな機能のそれぞれを実行するように集合的にプログラムされた複数のプロセッサを指す場合がある。
(【0011】以降は省略されています)
この特許をJ-PlatPat(特許庁公式サイト)で参照する
関連特許
APB株式会社
蓄電セル
1か月前
東ソー株式会社
絶縁電線
1か月前
日新イオン機器株式会社
イオン源
1か月前
マクセル株式会社
電源装置
29日前
ローム株式会社
半導体装置
1か月前
株式会社東芝
端子台
29日前
株式会社GSユアサ
蓄電装置
22日前
富士電機株式会社
電磁接触器
8日前
株式会社ホロン
冷陰極電子源
1か月前
株式会社GSユアサ
蓄電装置
1か月前
株式会社GSユアサ
蓄電装置
8日前
株式会社GSユアサ
蓄電装置
1か月前
三菱電機株式会社
回路遮断器
16日前
トヨタ自動車株式会社
バッテリ
1か月前
ホシデン株式会社
複合コネクタ
2日前
北道電設株式会社
配電具カバー
1か月前
日新イオン機器株式会社
基板処理装置
1か月前
日本特殊陶業株式会社
保持装置
21日前
大電株式会社
電線又はケーブル
今日
トヨタ自動車株式会社
冷却構造
1か月前
日本特殊陶業株式会社
保持装置
1か月前
トヨタ自動車株式会社
蓄電装置
1か月前
トヨタ自動車株式会社
蓄電装置
今日
ヒロセ電機株式会社
電気コネクタ
8日前
トヨタ自動車株式会社
密閉型電池
1か月前
日本無線株式会社
レーダアンテナ
23日前
株式会社デンソー
電子装置
1か月前
株式会社トクヤマ
シリコンエッチング液
1か月前
株式会社トクヤマ
シリコンエッチング液
1か月前
住友電装株式会社
コネクタ
8日前
住友電装株式会社
コネクタ
1か月前
ローム株式会社
半導体装置
1か月前
トヨタ自動車株式会社
電池パック
1か月前
矢崎総業株式会社
コネクタ
8日前
日亜化学工業株式会社
半導体レーザ素子
1か月前
ローム株式会社
半導体モジュール
9日前
続きを見る
他の特許を見る