TOP
|
特許
|
意匠
|
商標
特許ウォッチ
Twitter
他の特許を見る
公開番号
2025162406
公報種別
公開特許公報(A)
公開日
2025-10-27
出願番号
2024065688
出願日
2024-04-15
発明の名称
電子装置
出願人
株式会社デンソー
代理人
個人
,
個人
主分類
H01R
12/71 20110101AFI20251020BHJP(基本的電気素子)
要約
【課題】体格が大型化することを抑制しつつ、配線基板と筐体とが位置決めされた電子装置を提供すること。
【解決手段】電子制御装置は、電子部品14が実装された配線基板11と、配線基板に実装された電気コネクタ端子20と、第1コネクタ端子と同じ長さであり配線基板に実装された位置決コネクタ端子30と、配線基板を収容するベース40aとを備えている。ベースは、電気コネクタ端子が挿入される第1挿入穴43aと、位置決コネクタ端子が挿入される第2挿入穴46aと、第2挿入穴が設けられた突出部48aとを有している。そして突出部は、配線基板に近づくにつれて第2挿入穴の開口面積が広くなる傾斜部47aが設けられている。
【選択図】図2
特許請求の範囲
【請求項1】
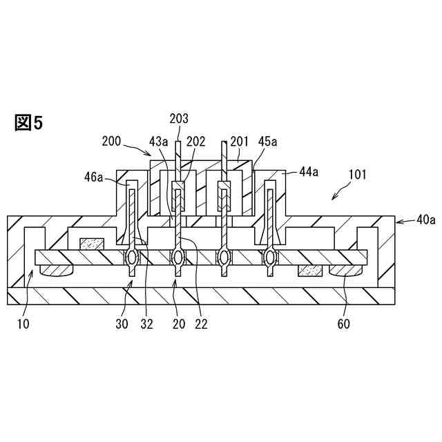
電子部品(14)が実装された配線基板(11)と、
前記配線基板に実装された少なくとも一つの第1コネクタ端子(20)と、
前記第1コネクタ端子よりも長く、前記配線基板に実装された少なくとも一つの第2コネクタ端子(30)と、
前記配線基板を収容する筐体(40c)と、を備え、
前記筐体は、
前記第1コネクタ端子が挿入される第1挿入穴(43c)と、前記第2コネクタ端子が挿入される第2挿入穴(46c)と、を有し、
前記第2挿入穴は、前記配線基板に近づくにつれて開口面積が広くなる傾斜部(47c)が設けられている電子装置。
続きを表示(約 1,000 文字)
【請求項2】
電子部品(14)が実装された配線基板(11)と、
前記配線基板に実装された少なくとも一つの第1コネクタ端子(20)と、
前記第1コネクタ端子と同じ長さであり、前記配線基板に実装された少なくとも一つの第2コネクタ端子(30)と、
前記配線基板を収容する筐体(40a,40b,40d)と、を備え、
前記筐体は、
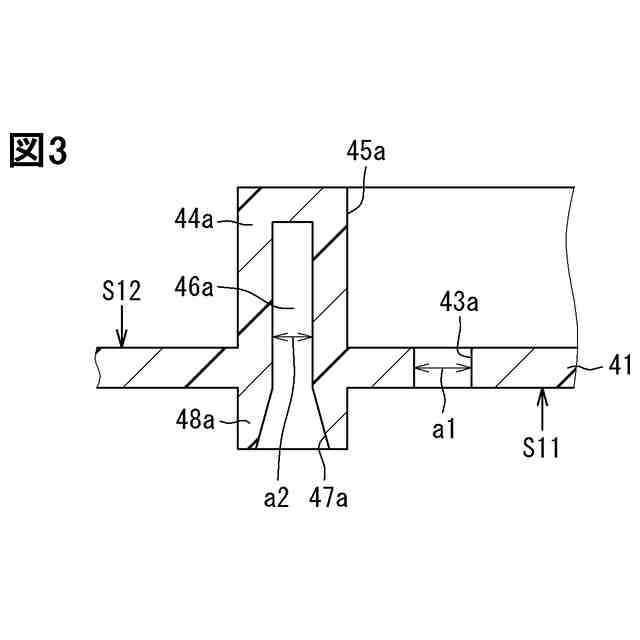
前記第1コネクタ端子が挿入される第1挿入穴(43a,43b,43d)と、前記第2コネクタ端子が挿入される第2挿入穴(46a,46b,46d)と、
前記第2挿入穴が設けれ、前記配線基板側に突出した突出部(48a,48b,48d)と、を有し、
前記突出部は、前記配線基板に近づくにつれて前記第2挿入穴の開口面積が広くなる傾斜部(47a,47b,47d)が設けられている電子装置。
【請求項3】
前記傾斜部は、弾性部材によって形成されている請求項1または2に記載の電子装置。
【請求項4】
前記配線基板は、複数の前記第1コネクタ端子と複数の前記第2コネクタ端子が整列されて実装されており、
前記第2コネクタ端子は、列の端に設けられている請求項1または2に記載の電子装置。
【請求項5】
前記筐体は、前記第2コネクタ端子における前記配線基板に対する実装部とは反対側の端部を覆う袋部(44a)を備えている請求項1または2に記載の電子装置。
【請求項6】
前記袋部は、前記第2挿入穴の一部が設けられており、少なくとも前記第1コネクタ端子を囲うコネクタハウジングである請求項5に記載の電子装置。
【請求項7】
前記筐体は、少なくとも前記第1コネクタ端子を囲うコネクタハウジング(44b~44c)を備えている請求項1または2に記載の電子装置。
【請求項8】
前記第1コネクタ端子と前記第2コネクタ端子は、プレスフィット構造によって前記配線基板に実装されている請求項1または2に記載の電子装置。
【請求項9】
前記第2挿入穴の開口形状は、前記第2コネクタ端子の断面形状と同形状である請求項1または2に記載の電子装置。
【請求項10】
前記第2挿入穴の最も小さい開口寸法は、前記第1挿入穴の開口寸法よりも小さい請求項1または2に記載の電子装置。
発明の詳細な説明
【技術分野】
【0001】
本開示は、電子装置に関する。
続きを表示(約 1,500 文字)
【背景技術】
【0002】
電子装置の一例として、プレスフィット端子によって回路基板とコネクタとが接続された回転電機装置がある。コネクタは、プレスフィット端子と位置決用突起部が設けられている。
【先行技術文献】
【特許文献】
【0003】
国際公開第2023/7599号
【発明の概要】
【発明が解決しようとする課題】
【0004】
ところで、電子装置は、配線基板に実装されたコネクタ端子を筐体の外に露出させた構成が考えられる。また、この構成では、先行技術文献の位置決用突起部が筐体に設けられることが考えられる。よって、筐体は、位置決用突起部が設けられることで体格が大きくなる虞がある。
【0005】
開示される一つの目的は、体格が大型化することを抑制しつつ、配線基板と筐体とが位置決めされた電子装置を提供することである。
【課題を解決するための手段】
【0006】
ここに開示された電子装置は、
電子部品(14)が実装された配線基板(11)と、
配線基板に実装された少なくとも一つの第1コネクタ端子(20)と、
第1コネクタ端子よりも長く、配線基板に実装された少なくとも一つの第2コネクタ端子(30)と、
配線基板を収容する筐体(40c)と、を備え、
筐体は、
第1コネクタ端子が挿入される第1挿入穴(43c)と、第2コネクタ端子が挿入される第2挿入穴(46c)と、を有し、
第2挿入穴は、配線基板に近づくにつれて開口面積が広くなる傾斜部(47c)が設けられている。
【0007】
このように、電子装置は、第1コネクタ端子よりも長い第2コネクタ端子を備えている。そのため、電子装置は、配線基板と筐体との組み付け時に、第1コネクタ端子が第1挿入穴に挿入されるよりも先に、第2コネクタ端子が第2挿入穴に挿入される。よって、電子装置は、第2コネクタ端子と第2挿入穴によって、配線基板と筐体が位置決めされる。
【0008】
また、電子装置は、配線基板に実装された第2コネクタ端子を用いて位置決めされる。そのため、筐体は、位置決用突起部を備えていなくてもよい。よって、電子装置は、体格が大型化することを抑制できる。
【0009】
さらに、第2コネクタ端子は、第2挿入穴に対する位置決めが不十分であっても、傾斜部に沿って第2挿入穴へ挿入可能である。そのため、電子装置は、組み付け時に、第2コネクタ端子や配線基板に負荷がかかることを抑制できる。
【0010】
ここに開示された電子装置は、
電子部品(14)が実装された配線基板(11)と、
配線基板に実装された複数のコネクタ端子(20,30)と、
配線基板に実装された少なくとも一つの第1コネクタ端子(20)と、
第1コネクタ端子と同じ長さであり、配線基板に実装された少なくとも一つの第2コネクタ端子(30)と、
配線基板を収容する筐体(40a,40b,40d)と、を備え、
筐体は、
第1コネクタ端子が挿入される第1挿入穴(43a,43b,43d)と、第2コネクタ端子が挿入される第2挿入穴(46a,46b,46d)と、
第2挿入穴が設けれ、配線基板側に突出した突出部(48a,48b,48d)と、を有し、
突出部は、配線基板に近づくにつれて第2挿入穴の開口面積が広くなる傾斜部(47a,47b,47d)が設けられている。
(【0011】以降は省略されています)
この特許をJ-PlatPat(特許庁公式サイト)で参照する
関連特許
株式会社デンソーウェーブ
筐体
11日前
株式会社デンソー
回転機
11日前
株式会社デンソー
車載器
24日前
株式会社デンソー
電子装置
今日
株式会社デンソー
ステータ
24日前
株式会社デンソー
ねじ部材
24日前
株式会社デンソー
ステータ
24日前
株式会社デンソー
電子装置
19日前
株式会社デンソー
反力装置
18日前
株式会社デンソー
電子装置
18日前
株式会社デンソー
検出装置
10日前
株式会社デンソー
半導体装置
6日前
株式会社デンソー
熱交換装置
4日前
株式会社デンソー
農業用装置
20日前
株式会社デンソーテン
インバータ
18日前
株式会社デンソー
半導体装置
24日前
株式会社デンソー
レーダ装置
17日前
株式会社デンソー
電流センサ
11日前
株式会社デンソー
車載システム
18日前
株式会社デンソー
車両制御装置
18日前
株式会社デンソー
運航管理装置
17日前
株式会社デンソー
電力変換装置
12日前
株式会社デンソー
衝突予測装置
19日前
株式会社デンソー
運転支援装置
19日前
株式会社デンソー
衝突予測装置
19日前
株式会社デンソー
車載システム
18日前
株式会社デンソー
画像処理装置
11日前
株式会社デンソー
電力変換装置
20日前
株式会社デンソー
電圧検出回路
20日前
株式会社デンソー
電力変換装置
4日前
株式会社デンソー
電圧検出回路
4日前
株式会社デンソーエアクール
換気空調装置
25日前
株式会社デンソーテン
車載映像装置
24日前
株式会社デンソー
電子制御装置
24日前
株式会社デンソー
電力変換装置
24日前
株式会社デンソー
部品の当接構造
5日前
続きを見る
他の特許を見る