TOP
|
特許
|
意匠
|
商標
特許ウォッチ
Twitter
他の特許を見る
10個以上の画像は省略されています。
公開番号
2025165630
公報種別
公開特許公報(A)
公開日
2025-11-05
出願番号
2024069807
出願日
2024-04-23
発明の名称
半導体装置
出願人
株式会社デンソー
,
トヨタ自動車株式会社
,
株式会社ミライズテクノロジーズ
代理人
弁理士法人ゆうあい特許事務所
主分類
H01L
23/29 20060101AFI20251028BHJP(基本的電気素子)
要約
【課題】互いに隣り合う半導体素子の熱干渉を抑制する半導体装置を提供する。
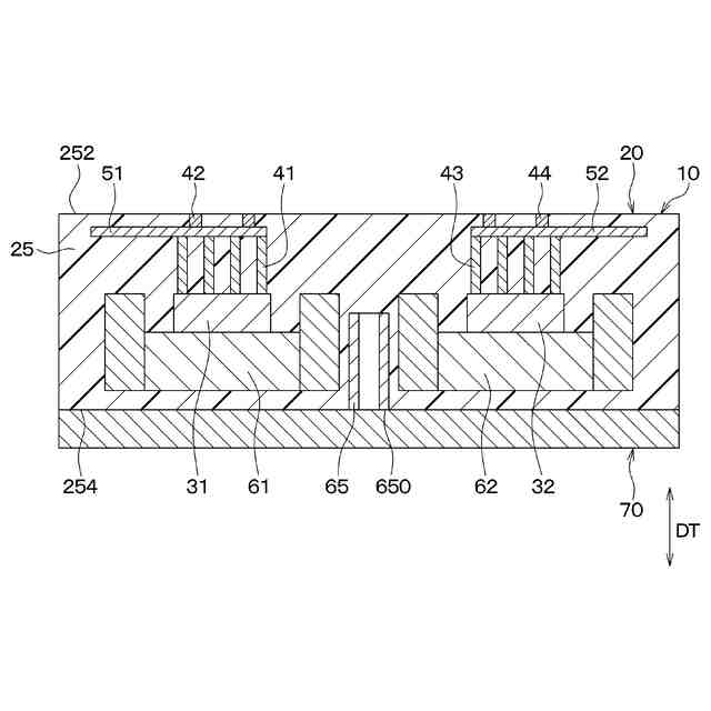
【解決手段】半導体装置10は、部品内蔵基板20を備え、部品内蔵基板20は、基板25と、第1半導体素子31と、基板25の厚み方向DTと直交する方向に間隔を空けて第1半導体素子31と並んでいる第2半導体素子32と、厚み方向DTに第1半導体素子31と接続されている第1放熱部材61と、厚み方向DTに第2半導体素子32と接続されている第2放熱部材62と、第1放熱部材61および第2放熱部材62の間に配置され、熱を部品内蔵基板20の外部に放熱する熱干渉抑制部材65と、を有する。
【選択図】図1
特許請求の範囲
【請求項1】
半導体装置であって、
部品内蔵基板(20)を備え、
前記部品内蔵基板は、
基板(25)と、
前記基板に内蔵されている第1半導体素子(31)と、
前記基板に内蔵されているとともに、前記基板の厚み方向(DT)と直交する方向に間隔を空けて前記第1半導体素子と並んでいる第2半導体素子(32)と、
前記基板に内蔵されているとともに、前記厚み方向に前記第1半導体素子と接続され、前記第1半導体素子からの熱が伝導される第1放熱部材(61)と、
前記基板に内蔵されているとともに、前記厚み方向に前記第2半導体素子と接続され、前記第2半導体素子からの熱が伝導される第2放熱部材(62)と、
前記基板に内蔵されているとともに、前記第1放熱部材および前記第2放熱部材の間に配置され、熱を前記部品内蔵基板の外部に放熱する熱干渉抑制部材(65)と、
を有する半導体装置。
続きを表示(約 1,000 文字)
【請求項2】
前記熱干渉抑制部材は、前記厚み方向と交差するとともに前記基板から露出している露出面(650、651、652)を含み、
前記半導体装置は、前記露出面と接続されているとともに前記熱干渉抑制部材を冷却する冷却部材(70)を備える請求項1に記載の半導体装置。
【請求項3】
前記基板は、
前記厚み方向と交差するとともに前記第1半導体素子および前記第2半導体素子側の面である基板表面(252)と、
前記厚み方向と交差するとともに前記基板表面とは反対側の面である基板裏面(254)と、
を含み、
前記露出面は、前記基板裏面から露出している請求項2に記載の半導体装置。
【請求項4】
前記基板は、
前記厚み方向と交差するとともに前記第1半導体素子および前記第2半導体素子側の面である基板表面(252)と、
前記厚み方向と交差するとともに前記基板表面とは反対側の面である基板裏面(254)と、
を含み、
前記熱干渉抑制部材は、前記厚み方向に延びているとともに前記基板表面および前記基板裏面を貫通している請求項1に記載の半導体装置。
【請求項5】
前記熱干渉抑制部材は、前記厚み方向の長さを高さとする円錐台形状とされている請求項1に記載の半導体装置。
【請求項6】
前記熱干渉抑制部材は、
前記厚み方向と交差する面である第1面(661)と、
前記厚み方向と交差する面であって、面積が前記第1面の面積よりも大きい第2面(662)と、
を含み、
前記基板は、
前記厚み方向と交差するとともに前記第1半導体素子および前記第2半導体素子側の面である基板表面(252)と、
前記厚み方向と交差するとともに前記基板表面とは反対側の面である基板裏面(254)と、
を含み、
前記第2面は、前記基板裏面から露出しており、
前記半導体装置は、前記第2面と接続されているとともに前記熱干渉抑制部材を冷却する冷却部材(70)を備える請求項5に記載の半導体装置。
【請求項7】
前記熱干渉抑制部材の内部には、空間が形成されている請求項1に記載の半導体装置。
【請求項8】
前記熱干渉抑制部材の熱伝導率は、前記基板の熱伝導率よりも高くなっている請求項1ないし7のいずれか1つに記載の半導体装置。
発明の詳細な説明
【技術分野】
【0001】
本開示は、半導体装置に関するものである。
続きを表示(約 1,900 文字)
【背景技術】
【0002】
従来、特許文献1に記載されているように、部品内蔵基板と、コンデンサと、第1の放熱部材と、を備える電子機器が知られている。コンデンサは、部品内蔵基板の厚み方向の両面のうち一方の面である第1の面に設けられている。第1の放熱部材は、部品内蔵基板の厚み方向の両面のうち第1の面とは反対の面である第2の面に設けられている。また、部品内蔵基板は、半導体素子と、第2の放熱部材とを備える。半導体素子は、部品内蔵基板に内蔵されており、部品内蔵基板の厚み方向と直交する方向に間隔を空けて複数並んでいる。第2の放熱部材は、部品内蔵基板に内蔵されており、コンデンサと第1の放熱部材との間に設けられているとともに、部品内蔵基板の厚み方向と直交する方向に間隔を空けて複数並んでいる。
【先行技術文献】
【特許文献】
【0003】
特開2021-97157号公報
【発明の概要】
【発明が解決しようとする課題】
【0004】
特許文献1に記載された電子機器では、コンデンサが発熱すると、第2の放熱部材を介して第1の放熱部材に熱が伝導するところ、第2の放熱部材により、第1の放熱部材への熱の伝導が促進されるため、コンデンサの放熱が促進される。しかし、コンデンサだけでなく半導体素子も発熱するところ、半導体素子の熱は、半導体素子と接続された第2の放熱部材が部品内蔵基板の厚み方向と直交する方向に間隔を空けて複数並んでいることにより、隣の半導体素子に伝導されやすい。これにより、互いに隣り合う半導体素子の相互の熱干渉が生じやすくなる。このため、半導体素子の破損が生じやすくなる。
【0005】
本開示は、互いに隣り合う半導体素子の相互の熱干渉を抑制する半導体装置を提供することを目的とする。
【課題を解決するための手段】
【0006】
請求項1に記載の発明は、半導体装置であって、部品内蔵基板(20)を備え、部品内蔵基板は、基板(25)と、基板に内蔵されている第1半導体素子(31)と、基板に内蔵されているとともに、基板の厚み方向(DT)と直交する方向に間隔を空けて第1半導体素子と並んでいる第2半導体素子(32)と、基板に内蔵されているとともに、厚み方向に第1半導体素子と接続され、第1半導体素子からの熱が伝導される第1放熱部材(61)と、基板に内蔵されているとともに、厚み方向に第2半導体素子と接続され、第2半導体素子からの熱が伝導される第2放熱部材(62)と、基板に内蔵されているとともに、第1放熱部材および第2放熱部材の間に配置され、熱を部品内蔵基板の外部に放熱する熱干渉抑制部材(65)と、を有する半導体装置である。
【0007】
これにより、第1半導体素子から第1放熱部材に伝導された熱は、熱干渉抑制部材に伝導される。また、熱干渉抑制部材に伝導された熱は、部品内蔵基板の外部に放熱される。このため、第1半導体素子から第1放熱部材に伝導された熱は、第2放熱部材および第2半導体素子に伝導されにくくなる。さらに、第2半導体素子から第2放熱部材に伝導された熱は、熱干渉抑制部材に伝導される。また、熱干渉抑制部材に伝導された熱は、部品内蔵基板の外部に放熱される。このため、第2半導体素子から第2放熱部材に伝導された熱は、第1放熱部材および第1半導体素子に伝導されにくくなる。したがって、第1半導体素子および第2半導体素子の相互の熱干渉が抑制される。
【0008】
なお、各構成要素等に付された括弧付きの参照符号は、その構成要素等と後述する実施形態に記載の具体的な構成要素等との対応関係の一例を示すものである。
【図面の簡単な説明】
【0009】
第1実施形態の半導体装置の断面図。
比較例の半導体装置の断面図。
第2実施形態の半導体装置の断面図。
第3実施形態の半導体装置の断面図。
第4実施形態の半導体装置の断面図。
第5実施形態の半導体装置の断面図。
第6実施形態の半導体装置の断面図。
第7実施形態の半導体装置の断面図。
第8実施形態の半導体装置の断面図。
第9実施形態の半導体装置の断面図。
【発明を実施するための形態】
【0010】
以下、実施形態について図面を参照しつつ説明する。なお、以下の各実施形態相互において、互いに同一もしくは均等である部分には、同一符号を付し、その説明を省略する。
(【0011】以降は省略されています)
この特許をJ-PlatPat(特許庁公式サイト)で参照する
関連特許
APB株式会社
蓄電セル
1か月前
マクセル株式会社
電源装置
27日前
株式会社東芝
端子台
27日前
ローム株式会社
半導体装置
1か月前
株式会社GSユアサ
蓄電装置
28日前
株式会社GSユアサ
蓄電装置
28日前
三菱電機株式会社
回路遮断器
14日前
株式会社GSユアサ
蓄電装置
20日前
株式会社GSユアサ
蓄電装置
6日前
富士電機株式会社
電磁接触器
6日前
北道電設株式会社
配電具カバー
1か月前
日本特殊陶業株式会社
保持装置
19日前
日新イオン機器株式会社
基板処理装置
1か月前
トヨタ自動車株式会社
バッテリ
1か月前
ホシデン株式会社
複合コネクタ
今日
トヨタ自動車株式会社
蓄電装置
28日前
矢崎総業株式会社
コネクタ
6日前
ヒロセ電機株式会社
電気コネクタ
6日前
ローム株式会社
半導体モジュール
7日前
株式会社レゾナック
冷却器
14日前
住友電装株式会社
コネクタ
6日前
トヨタ自動車株式会社
密閉型電池
29日前
甲神電機株式会社
変流器及び零相変流器
21日前
株式会社デンソー
電子装置
1か月前
日亜化学工業株式会社
半導体レーザ素子
1か月前
日本無線株式会社
レーダアンテナ
21日前
富士電機株式会社
半導体モジュール
22日前
株式会社デンソー
半導体装置
6日前
日本航空電子工業株式会社
コネクタ
19日前
株式会社デンソー
熱交換部材
21日前
マクセル株式会社
扁平形電池
1か月前
三協立山株式会社
バッテリーケース
1か月前
シャープ株式会社
アンテナ装置
1か月前
新電元工業株式会社
半導体装置
6日前
トヨタ自動車株式会社
蓄電モジュール
28日前
TDK株式会社
電子部品
6日前
続きを見る
他の特許を見る