TOP
|
特許
|
意匠
|
商標
特許ウォッチ
Twitter
他の特許を見る
10個以上の画像は省略されています。
公開番号
2025171169
公報種別
公開特許公報(A)
公開日
2025-11-20
出願番号
2024076217
出願日
2024-05-09
発明の名称
半導体装置
出願人
新電元工業株式会社
代理人
個人
,
個人
主分類
H01L
25/07 20060101AFI20251113BHJP(基本的電気素子)
要約
【課題】ケース本体と蓋部材との間のガタツキを少なくして端子の位置ずれを抑制し端子の断線を防止することができる半導体装置を提供する。
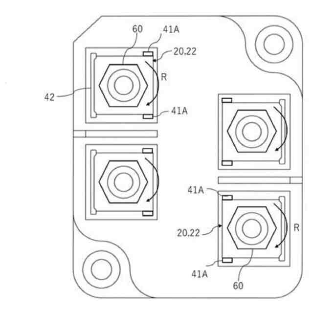
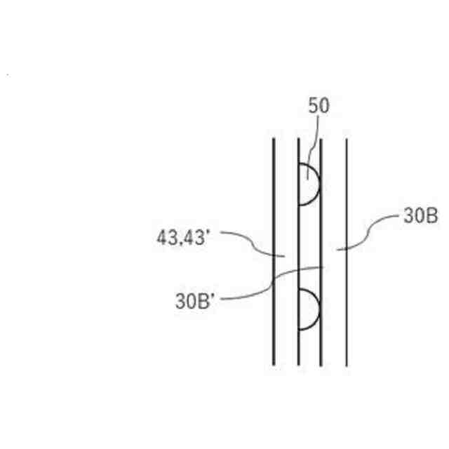
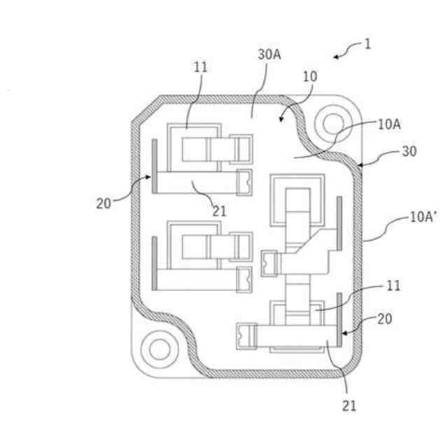
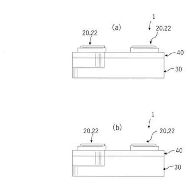
【解決手段】半導体装置1は、基板10と、端子20と、ケース本体30と、蓋部材40と、を有し、基板10には、半導体回路11が実装され、端子20は、内部端子部21と、外部端子部22と、を有し、内部端子部21の他端部21B側が基板10に固定され、ケース本体30は、半導体回路11の周囲を囲むように基板10に配置され、蓋部材40は、上面40A側に端子台41および通し穴42が形成されて通し穴42に外部端子部22を通して外部端子部22を外部に露出させた状態で端子台41に固定し、蓋部材40には、ケース本体30と嵌め合う嵌め合い部43が設けられ、嵌め合い部43に突起50が設けられ、嵌め合い部43とケース本体30とは、突起50を介して摺接するように嵌め合う。
【選択図】図1
特許請求の範囲
【請求項1】
基板と、端子と、ケース本体と、蓋部材と、を有する半導体装置であって、
前記基板には、半導体回路が実装され、
前記端子は、内部に配置される内部端子部と、前記内部端子部の一端部側と連続し外部に露出する外部端子部と、を有するとともに、前記内部端子部の他端部側が前記基板に固定され、
前記ケース本体は、前記半導体回路の周囲を囲むように前記基板に配置された箱枠状であり、
前記蓋部材は、前記ケース本体の開口に配置されて前記開口を閉鎖し、上面側に端子台および通し穴が形成されて前記通し穴に前記外部端子部を通して前記外部端子部を外部に露出させた状態で前記端子台に固定し、
前記蓋部材には、前記ケース本体と嵌め合う嵌め合い部が設けられ、
前記蓋部材の嵌め合い部および/または前記ケース本体に突起が設けられ、前記蓋部材の嵌め合い部と前記ケース本体とは、前記突起を介して摺接するように嵌め合うことを特徴とする半導体装置。
続きを表示(約 580 文字)
【請求項2】
前記嵌め合い部は、前記蓋部材の本体の下端側から下方に板状に突出する突出片とすることを特徴とする請求項1に記載の半導体装置。
【請求項3】
前記嵌め合い部は、前記ケース本体の側壁の内面側と並行するように設けられていることを特徴とする請求項1に記載の半導体装置。
【請求項4】
前記嵌め合い部は、複数設けられていることを特徴とする請求項1に記載の半導体装置。
【請求項5】
前記嵌め合い部は、対向するように複数設けられていることを特徴とする請求項1に記載の半導体装置。
【請求項6】
前記突起は、曲面状とすることを特徴とする請求項1に記載の半導体装置。
【請求項7】
前記突起は、半球状またはドーム状とすることを特徴とする請求項1に記載の半導体装置。
【請求項8】
前記突起は、複数設けられていることを特徴とする請求項1に記載の半導体装置。
【請求項9】
前記突起は、同一の上下方向の位置に複数設けられていることを特徴とする請求項1に記載の半導体装置。
【請求項10】
前記突起は、異なる上下方向の位置に複数設けられていることを特徴とする請求項1に記載の半導体装置。
(【請求項11】以降は省略されています)
発明の詳細な説明
【技術分野】
【0001】
本発明は、半導体装置に関する。
続きを表示(約 1,500 文字)
【背景技術】
【0002】
従来のダイオードモジュール等の半導体装置においては、外部端子部を、蓋部材に設けてある通し穴と回り止めストッパー(突出部)で固定している。このように外部端子部の固定が必要な理由としては外部端子部を締結部材で締結する際に蓋部材が締結方向に動いて位置ずれすることにより、外部端子部と連続する内部端子部が捻じれて内部端子部と基板との固定部分に応力がかかり断線するという危険性があるためである。このような半導体装置は、例えば、特許文献1に開示されている。
【先行技術文献】
【特許文献】
【0003】
特開2005-2793号公報
【発明の概要】
【発明が解決しようとする課題】
【0004】
上記の断線の原因は、ケース本体と蓋部材との間のガタツキが最も大きい。そのため、ガタツキを最小限にするように設計を行っているが、例えば樹脂系の製品は成型時の寸法精度が安定しないため、ガタツキを少なくすることが難しい。
【0005】
本発明はこのような事情に鑑みてなされたものであり、ケース本体と蓋部材との間のガタツキを少なくして端子の位置ずれを抑制し端子の断線を防止することができる半導体装置を提供することを目的とする。
【課題を解決するための手段】
【0006】
上記の課題を解決するために、本発明の半導体装置は、基板と、端子と、ケース本体と、蓋部材と、を有する半導体装置であって、前記基板には、半導体回路が実装され、前記端子は、内部に配置される内部端子部と、前記内部端子部の一端部側と連続し外部に露出する外部端子部と、を有するとともに、前記内部端子部の他端部側が前記基板に固定され、前記ケース本体は、前記半導体回路の周囲を囲むように前記基板に配置された箱枠状であり、前記蓋部材は、前記ケース本体の開口に配置されて前記開口を閉鎖し、上面側に端子台および通し穴が形成されて前記通し穴に前記外部端子部を通して前記外部端子部を外部に露出させた状態で前記端子台に固定し、前記蓋部材には、前記ケース本体と嵌め合う嵌め合い部が設けられ、前記蓋部材の嵌め合い部および/または前記ケース本体に突起が設けられ、前記蓋部材の嵌め合い部と前記ケース本体とは、前記突起を介して摺接するように嵌め合うことを特徴とする。
【0007】
本発明によれば、蓋部材には、前記ケース本体と嵌め合う嵌め合い部が設けられ、前記蓋部材の嵌め合い部および/または前記ケース本体に突起が設けられ、前記蓋部材の嵌め合い部と前記ケース本体とは、前記突起を介して摺接するように嵌め合うことにより、ケース本体と蓋部材との間のガタツキを少なくして端子の位置ずれを抑制し端子の断線を防止することができる。
【0008】
前記嵌め合い部は、前記蓋部材の本体の下端側から下方に板状に突出する突出片とすることができる。
【0009】
前記嵌め合い部は、前記ケース本体と並行するように設けられている。
前記嵌め合い部は、複数設けられていることにより、ケース本体と蓋部材とを複数の位置で嵌め合わせることができ、ケース本体と蓋部材との間のガタツキを更に少なくすることができる。
【0010】
前記嵌め合い部は、対向するように複数設けられている。
前記突起は、曲面状とすることにより、前記蓋部材の嵌め合い部と前記ケース本体との摺接をスムーズに行うことができる。
(【0011】以降は省略されています)
この特許をJ-PlatPat(特許庁公式サイト)で参照する
関連特許
他の特許を見る