TOP
|
特許
|
意匠
|
商標
特許ウォッチ
Twitter
他の特許を見る
10個以上の画像は省略されています。
公開番号
2025170926
公報種別
公開特許公報(A)
公開日
2025-11-20
出願番号
2024075792
出願日
2024-05-08
発明の名称
電子部品
出願人
TDK株式会社
代理人
個人
,
個人
,
個人
主分類
H01G
4/30 20060101AFI20251113BHJP(基本的電気素子)
要約
【課題】銀のマイグレーションの成長を抑制する電子部品を提供する。
【解決手段】積層コンデンサは、素体3と、素体3上に配置されている外部電極5と、を含む。外部電極5は、複数の導電性粒子13を含む第二電極層E2を含む。複数の導電性粒子13は、銀を含む金属成分を含む。第二電極層E2の先端側には、酸化物21が位置する。酸化物21は、導電性粒子13に含まれる金属成分の酸化物を含んでもよい。酸化物21は、銀と銅とを含む酸化物を含んでもよい。
【選択図】図7
特許請求の範囲
【請求項1】
素体と、
複数の導電性粒子を含む導電性樹脂層を含み、前記素体上に配置されている外部電極と、を備え、
前記複数の導電性粒子は、銀を含む金属成分を含み、
前記導電性樹脂層の先端側には、酸化物が位置する、電子部品。
続きを表示(約 630 文字)
【請求項2】
前記導電性樹脂層は、前記酸化物からなる縁を含む、請求項1に記載の電子部品。
【請求項3】
前記縁は、前記酸化物が露出する表面を含む、請求項2に記載の電子部品。
【請求項4】
前記外部電極は、前記素体との間に間隙を有して前記導電性樹脂層の外側に配置されているめっき層を含み、
前記酸化物は、前記間隙に露出している、請求項2又は3に記載の電子部品。
【請求項5】
前記導電性樹脂層は、前記酸化物が配置されている縁を含む、請求項1に記載の電子部品。
【請求項6】
前記外部電極は、前記素体との間に間隙を有して前記導電性樹脂層の外側に配置されているめっき層を含み、
前記酸化物は、前記間隙に位置する、請求項5に記載の電子部品。
【請求項7】
前記酸化物は、前記導電性粒子に含まれる金属成分の酸化物を含む、請求項1に記載の電子部品。
【請求項8】
前記導電性粒子は、銅を更に含み、
前記酸化物は、前記銀と前記銅の酸化物を含む、請求項7に記載の電子部品。
【請求項9】
前記導電性粒子は、前記銅を含むコアと、前記銀を含むと共に前記コアを覆う膜と、を含む、請求項8に記載の電子部品。
【請求項10】
前記酸化物は、前記膜の表面に位置する、請求項9に記載の電子部品。
(【請求項11】以降は省略されています)
発明の詳細な説明
【技術分野】
【0001】
本発明は、電子部品に関する。
続きを表示(約 1,500 文字)
【背景技術】
【0002】
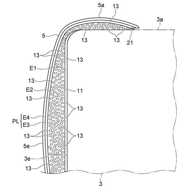
知られている電子部品は、素体と、導電性樹脂層を含むと共に素体上に配置されている外部電極と、を含む。
【先行技術文献】
【特許文献】
【0003】
特開平5-144665号公報
【発明の概要】
【発明が解決しようとする課題】
【0004】
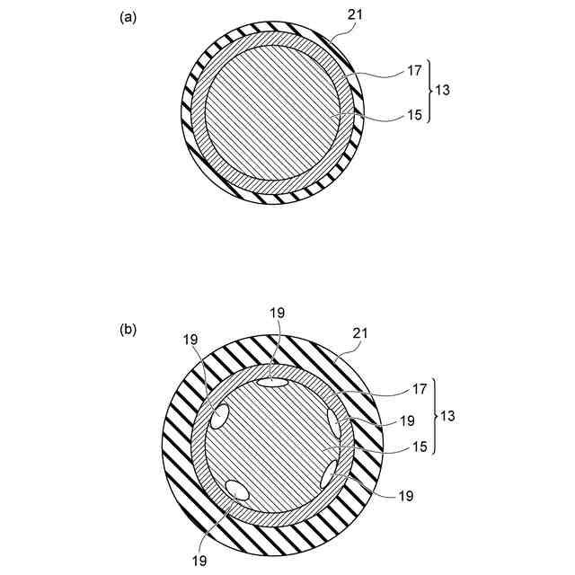
導電性樹脂層は、たとえば、複数の導電性粒子と、樹脂とを含む。導電性粒子は、たとえば、銀(Ag)を含む。銀は、導電性が高く、かつ、酸化されがたい傾向がある。導電性粒子が銀を含む構成では、外部電極に銀のマイグレーションが生じるおそれがある。銀のマイグレーションは、たとえば、以下の事象により生じると考えられる。
電界又は熱が導電性粒子に含まれる銀に作用し、銀がイオン化する。導電性粒子に含まれる銀は、酸素の影響を受けて、イオン化することもある。発生した銀イオンは、外部電極間に生じる電界に引かれ、導電性樹脂層から移動する。銀に作用する電界は、たとえば、外部電極間に生じる電界、又は、外部電極と、素体内に配置される内部導体との間に生じる電界を含む。導電性樹脂層から移動する銀イオンは、たとえば、内部導体又は外部電極から供給される電子と反応し、素体の表面上に銀として析出する。
【0005】
本発明の一つの態様は、銀のマイグレーションの成長を抑制する電子部品を提供することを目的とする。
【課題を解決するための手段】
【0006】
本発明の一つの態様に係る電子部品は、素体と、素体上に配置されている外部電極と、を含む。外部電極は、複数の導電性粒子を含む導電性樹脂層を含む。複数の導電性粒子は、銀を含む金属成分を含む。導電性樹脂層の先端側には、酸化物が位置する。
【0007】
上記一つの態様では、酸化物は、導電性樹脂層の先端側に位置する。酸化物は、銀より、マイグレーションが生じがたい。したがって、銀のマイグレーションが生じ得る環境下においても、銀のマイグレーションが導電性樹脂層から成長しがたい。上記一つの態様は、銀のマイグレーションの成長を抑制する。
【0008】
上記一つの態様は、次の構成を含んでもよい。この構成では、たとえば、導電性樹脂層は、酸化物からなる縁を含む。
導電性樹脂層が、酸化物からなる縁を含む構成では、導電性樹脂層は、当該導電性樹脂層の縁に、酸化物を含む。したがって、この構成は、銀のマイグレーションの成長を確実に抑制する。
【0009】
上記一つの態様は、次の構成を含んでもよい。この構成では、たとえば、縁は、酸化物が露出する表面を含む。
縁が、酸化物が露出する表面を含む構成は、銀のマイグレーションの成長をより一層確実に抑制する。
【0010】
上記一つの態様は、次の構成を含んでもよい。この構成では、たとえば、外部電極は、素体との間に間隙を有して導電性樹脂層の外側に配置されているめっき層を含む。酸化物は、間隙に露出している。
外部電極が上記めっき層を含む構成では、めっき層は、素体との間に間隙を有する。たとえば、導電性樹脂層を熱処理する際に、めっき層と素体との間の間隙を通して、酸素が侵入しやすい。したがって、外部電極が上記めっき層を含む構成でも、酸化物が確実に配置され得る。
酸化物が、間隙に露出している構成では、酸化物は、銀イオンが導電性樹脂層から間隙に移動するのを妨げる。したがって、めっき層が、素体との間に間隙を有する構成においても、酸化物が間隙に露出している構成は、銀のマイグレーションの成長を確実に抑制する。
(【0011】以降は省略されています)
この特許をJ-PlatPat(特許庁公式サイト)で参照する
関連特許
他の特許を見る