TOP
|
特許
|
意匠
|
商標
特許ウォッチ
Twitter
他の特許を見る
10個以上の画像は省略されています。
公開番号
2025160813
公報種別
公開特許公報(A)
公開日
2025-10-23
出願番号
2024063615
出願日
2024-04-10
発明の名称
扁平形電池
出願人
マクセル株式会社
代理人
個人
,
個人
主分類
H01M
10/04 20060101AFI20251016BHJP(基本的電気素子)
要約
【課題】高容量化を図ることができる扁平形電池を提供する。
【解決手段】扁平形電池1は、外装缶10と、封口缶20と、外装缶10及び封口缶20の間に収容される電極体40とを備える。電極体40は、電極体本体41と、正極接続部42と、負極接続部43とを有する。負極接続部43は、第1負極接続部43aと第2負極接続部43bに分散されている。正極接続部42は、平面視において第1負極接続部43a及び第2負極接続部43bの間に配され、第1負極接続部43a及び第2負極接続部43bとともに電極体本体41の切欠部41aから外方に延びている。第1負極接続部43aは、封口缶20側の一群の負極リード431を束ねてなり、第2負極接続部は、外装缶10側の他群の負極リード431を束ねてなる。
【選択図】図5
特許請求の範囲
【請求項1】
外装缶と、
封口缶と、
前記外装缶と封口缶との間に収容される電極体とを備え、
前記電極体は、複数の正極及び複数の負極を交互に積層してなる電極体本体と、前記正極の各々から外方に延びる正極リードを互いに束ねてなる正極接続部と、前記負極の各々から外方に延びる負極リードを互いに束ねてなる負極接続部とを有し、
前記電極体本体は、平面視円形状の一部を切り欠いた切欠部と円弧部とを有し、
前記負極接続部は、各々の前記負極リードのうち一群を互いに束ねてなる第1負極接続部と、各々の前記負極リードのうち他群を互いに束ねてなる第2負極接続部とを有し、
前記正極接続部、前記第1負極接続部及び前記第2負極接続部の各々は、平面視において前記正極接続部が前記第1負極接続部及び前記第2負極接続部の間に位置付けられるように前記切欠部に配されて、前記電極体の積層方向に折り曲げられている、扁平形電池。
続きを表示(約 510 文字)
【請求項2】
請求項1に記載の扁平形電池において、
前記第1負極接続部は、前記電極体の積層方向において、前記封口缶側に位置する一群の前記負極リードを束ねてなり、
前記第2負極接続部は、前記電極体の積層方向において、前記外装缶側に位置する他群の前記負極リードを束ねてなる、扁平形電池。
【請求項3】
請求項1に記載の扁平形電池であって、
前記電極体は、前記第1負極接続部に接続される前記複数の負極のいずれか1つと前記第2負極接続部に接続される前記複数の負極のいずれか1つと前記円弧部において接続する負極接続体を有する、扁平形電池。
【請求項4】
請求項1に記載の扁平形電池であって、さらに、
前記外装缶と前記封口缶との間に収容される絶縁性部材を有し、
前記絶縁性部材は、前記正極接続部及び前記第1負極接続部の間、並びに、前記正極接続部及び前記第2負極接続部の間の少なくとも一方に配置されている、扁平形電池。
【請求項5】
請求項1に記載の扁平形電池であって、
前記外装缶は、3~15mmの外径を有する、扁平形電池。
発明の詳細な説明
【技術分野】
【0001】
本発明は、コイン形電池等の扁平形電池に関する。
続きを表示(約 2,000 文字)
【背景技術】
【0002】
有底筒状の外装缶と、外装缶との間に空間が形成されるように外装缶に対して逆皿状に配置される有底筒状の封口缶と、外装缶と封口缶との間に配置された電極体とを備えた扁平形電池が知られている。このような扁平形電池では、例えば、特開2011-9118号公報(特許文献1)又は特開2021-111590号公報(特許文献2)のように、外装缶及び封口缶によって形成される空間内に、複数の正極及び複数の負極を交互に積層することによって構成される電極体が収納されている。
【0003】
特許文献1は、複数の正極及び負極が積層された電極体を有するコイン形二次電池を開示している。コイン形二次電池は、電極体の複数の正極から一側方に延びる複数の正極リードと、電極体の複数の負極から他側方に延びる複数の負極リードとを有している。複数の正極リードは、束ねられて電極体の積層方向に折り曲げられている。複数の負極リードは、束ねられて電極体の積層方向に折り曲げられている。
【0004】
特許文献2は、電極組立体と、電極組立体を収納する外装体と、電極組立体に含まれる正極から延在する正極集電タブと、前記電極組立体に含まれる負極から延在する負極集電タブとを有する二次電池を開示している。電極組立体に含まれる正極及び負極の本体の平面視形状は、円形から一部を切り欠いた一部切り欠き円形を有している。正極集電タブ及び負極集電タブは、電極組立体の切り欠いた部分に沿って並んで配置されている。
【先行技術文献】
【特許文献】
【0005】
特開2011-9118号公報
特開2021-111590号公報
【発明の概要】
【発明が解決しようとする課題】
【0006】
本開示は、高容量化を図ることができる扁平形電池を提供することを課題とする。
【課題を解決するための手段】
【0007】
上述の課題を解決するために、本開示の扁平形電池は、次のような解決手段を講じた。すなわち、本開示に係る扁平形電池は、外装缶と、封口缶と、外装缶と封口缶との間に収容される電極体とを備える。電極体は、複数の正極及び複数の負極を交互に積層してなる電極体本体と、正極の各々から外方に延びる正極リードを互いに束ねてなる正極接続部と、負極の各々から外方に延びる負極リードを互いに束ねてなる負極接続部と有する。電極体本体は、平面視円形状の一部を切り欠いた切欠部と円弧部とを有する。負極接続部は、各々の負極リードのうち一群を互いに束ねてなる第1負極接続部と、各々の負極リードのうち他群を互いに束ねてなる第2負極接続部とを有する。正極接続部、第1負極接続部及び第2負極接続部の各々は、平面視において正極接続部が第1負極接続部及び第2負極接続部の間に位置付けられるように切欠部に配されて、電極体の積層方向に折り曲げられている。
【発明の効果】
【0008】
本開示の扁平形電池によれば、高容量化を図ることができる。
【図面の簡単な説明】
【0009】
図1は、本開示の第1実施形態に係る扁平形電池の断面図である。
図2は、図1に示す正極及び正極リードの平面図である。
図3は、図1に示す第1負極接続部に対応する負極及び負極リードの平面図である。
図4は、図1に示す第2負極接続部に対応する負極及び負極リードの平面図である。
図5は、本開示の第1実施形態に係る扁平形電池の電極体を示す斜視図である。
図6は、本開示の第2実施形態に係る扁平形電池の電極体の側面視模式図である。
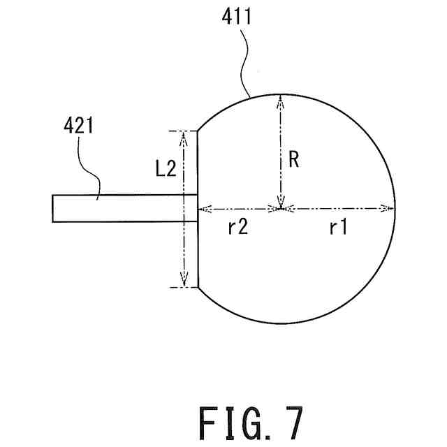
図7は、実施例に係る正極の寸法を示す平面図である。
図8は、比較例1に係る正極の寸法を示す平面図である。
図9は、比較例2に係る正極の寸法を示す平面図である。
【発明を実施するための形態】
【0010】
本発明者らは、扁平形電池の高容量化を図るためには、外装缶及び封口缶により形成される扁平形電池の内部空間を有効に活用すること、すなわち、複数の正極の各々から延びる正極リード及び複数の負極の各々から延びる負極リードの収容空間を小さくし、電極体の平面視における面積を大きくすることが肝要であると考えた。上述の特許文献1のコイン形二次電池において、電極体は、複数の正極リードを収容空間に収容するために、平面視円形状の一側方を切り欠いて形成されており、また、複数の負極リードを収容するために、平面視円形状の他側方も切り欠いて形成されている。そのため、電極体の一側方及び他側方を切り欠いている。そのため、平面視における電極体の面積が小さくなり、扁平形電池の高容量化を図り難くなる。
(【0011】以降は省略されています)
この特許をJ-PlatPat(特許庁公式サイト)で参照する
関連特許
マクセル株式会社
光学システム
16日前
マクセル株式会社
虚像方式映像表示装置
16日前
マクセル株式会社
空中浮遊映像表示装置
15日前
マクセル株式会社
表示装置
今日
マクセル株式会社
表示装置
今日
マクセル株式会社
電気かみそりの外刃、電気かみそり、およびめっき積層体
今日
マクセル株式会社
伝送波の処理方法
21日前
マクセル株式会社
コンテンツ保護処理方法
今日
マクセル株式会社
コンテンツ保護処理方法
今日
マクセル株式会社
デジタル放送変調波の処理方法
7日前
マクセル株式会社
表示装置、ヘッドアップディスプレイ装置、およびデジタルサイネージ
7日前
東ソー株式会社
絶縁電線
1か月前
APB株式会社
蓄電セル
1か月前
日機装株式会社
加圧装置
今日
日新イオン機器株式会社
イオン源
今日
株式会社東芝
端子台
1か月前
日新イオン機器株式会社
イオン源
1か月前
ローム株式会社
半導体装置
1か月前
マクセル株式会社
電源装置
1か月前
株式会社GSユアサ
蓄電装置
1か月前
三菱電機株式会社
回路遮断器
23日前
株式会社GSユアサ
蓄電装置
29日前
株式会社GSユアサ
蓄電装置
15日前
株式会社ホロン
冷陰極電子源
1か月前
株式会社GSユアサ
蓄電装置
1か月前
富士電機株式会社
電磁接触器
15日前
ホシデン株式会社
複合コネクタ
9日前
トヨタ自動車株式会社
冷却構造
1か月前
株式会社東芝
電子源
今日
大電株式会社
電線又はケーブル
7日前
トヨタ自動車株式会社
バッテリ
1か月前
日新イオン機器株式会社
基板処理装置
1か月前
トヨタ自動車株式会社
蓄電装置
1か月前
トヨタ自動車株式会社
蓄電装置
7日前
北道電設株式会社
配電具カバー
1か月前
株式会社トクミ
ケーブル
1日前
続きを見る
他の特許を見る