TOP
|
特許
|
意匠
|
商標
特許ウォッチ
Twitter
他の特許を見る
公開番号
2025162511
公報種別
公開特許公報(A)
公開日
2025-10-27
出願番号
2025006170
出願日
2025-01-16
発明の名称
半導体レーザ素子
出願人
日亜化学工業株式会社
代理人
主分類
H01S
5/343 20060101AFI20251020BHJP(基本的電気素子)
要約
【課題】光損失が低減された半導体レーザ素子を提供する。
【解決手段】半導体レーザ素子は、それぞれが窒化物半導体からなるn側クラッド層と、n側ガイド層と、活性層と、p側ガイド層と、p側クラッド層と、を上方に向かってこの順で有する、紫外光を発する半導体レーザ素子であって、前記半導体レーザ素子は第1面と、前記第1面から上方に向かって突出するリッジ部と、を備え、前記第1面は、前記p側ガイド層の下端よりも上方、かつ、前記p側ガイド層の上端よりも下方に存在し、前記n側ガイド層の厚さは前記n側クラッド層の厚さよりも小さく、前記n側ガイド層のAl組成比は前記n側クラッド層のAl組成比よりも小さく、前記p側ガイド層の厚さは、前記p側クラッド層の厚さよりも小さく、かつ、前記n側ガイド層の厚さよりも小さく、前記p側ガイド層のAl組成比は前記p側クラッド層のAl組成比よりも小さい。
【選択図】図1
特許請求の範囲
【請求項1】
それぞれが窒化物半導体からなるn側クラッド層と、n側ガイド層と、活性層と、p側ガイド層と、p側クラッド層と、を上方に向かってこの順で有する、紫外光を発する半導体レーザ素子であって、
前記半導体レーザ素子は第1面と、前記第1面から上方に向かって突出するリッジ部と、を備え、
前記第1面は、前記p側ガイド層の下端よりも上方、かつ、前記p側ガイド層の上端よりも下方に存在し、
前記n側ガイド層の厚さは前記n側クラッド層の厚さよりも小さく、
前記n側ガイド層のAl組成比は前記n側クラッド層のAl組成比よりも小さく、
前記p側ガイド層の厚さは、前記p側クラッド層の厚さよりも小さく、かつ、前記n側ガイド層の厚さよりも小さく、
前記p側ガイド層のAl組成比は前記p側クラッド層のAl組成比よりも小さい、半導体レーザ素子。
続きを表示(約 800 文字)
【請求項2】
前記半導体レーザ素子は、活性層よりも上方、かつ、p側ガイド層よりも下方に、p側障壁層をさらに備え、
前記p側障壁層の厚さと、前記p側ガイド層の厚さの合計は、前記n側ガイド層の厚さよりも小さい、請求項1に記載の半導体レーザ素子。
【請求項3】
前記活性層の上端から、前記p側ガイド層の上端までの厚さは、前記n側ガイド層の厚さよりも小さい、請求項2に記載の半導体レーザ素子。
【請求項4】
前記p側障壁層の厚さは、前記p側ガイド層の下端から前記第1面までの距離よりも大きい、請求項2又は3に記載の半導体レーザ素子。
【請求項5】
前記p側障壁層の厚さは、第1面から前記p側ガイド層の上端までの距離よりも大きい、請求項2又は3に記載の半導体レーザ素子。
【請求項6】
前記p側障壁層の下端から前記第1面までの距離は、前記p側ガイド層の厚さよりも大きい、請求項2又は3に記載の半導体レーザ素子。
【請求項7】
前記p側障壁層はアンドープである、請求項2又は3に記載の半導体レーザ素子。
【請求項8】
前記p側ガイド層の下端から前記第1面までの距離は、前記第1面から前記p側ガイド層の上端までの距離よりも大きい、請求項1から3のいずれか1項に記載の半導体レーザ素子。
【請求項9】
前記n側ガイド層のAl組成比は5%以上であり、前記p側ガイド層のAl組成比は5%以上である、請求項1から3のいずれか1項に記載の半導体レーザ素子。
【請求項10】
前記p側障壁層の下端から前記p側ガイド層の上端までの距離は、前記n側ガイド層の厚さの0.5倍以上0.95倍以下である、請求項2又は3に記載の半導体レーザ素子。
(【請求項11】以降は省略されています)
発明の詳細な説明
【技術分野】
【0001】
本開示は、半導体レーザ素子に関する。
続きを表示(約 2,100 文字)
【背景技術】
【0002】
従来、青色光を出射する窒化物系半導体発光素子が知られているが、より短波長の紫外光を出射する高出力の窒化物系半導体発光素子が求められている(例えば、特許文献1など参照)。例えば、窒化物系半導体発光素子によって、露光用光源、加工用光源などに用いることができる。
【先行技術文献】
【特許文献】
【0003】
特開2023-117509号公報
【発明の概要】
【発明が解決しようとする課題】
【0004】
本開示は、光損失が低減された半導体レーザ素子を提供する。
【課題を解決するための手段】
【0005】
一つの実施形態において、半導体レーザ素子は、それぞれが窒化物半導体からなるn側クラッド層と、n側ガイド層と、活性層と、p側ガイド層と、p側クラッド層と、を上方に向かってこの順で有する、紫外光を発する半導体レーザ素子であって、
前記半導体レーザ素子は第1面と、前記第1面から上方に向かって突出するリッジ部と、を備え、
前記第1面は、前記p側ガイド層の下端よりも上方、かつ、前記p側ガイド層の上端よりも下方に存在し、
前記n側ガイド層の厚さは前記n側クラッド層の厚さよりも小さく、
前記n側ガイド層のAl組成比は前記n側クラッド層のAl組成比よりも小さく、
前記p側ガイド層の厚さは、前記p側クラッド層の厚さよりも小さく、かつ、前記n側ガイド層の厚さよりも小さく、
前記p側ガイド層のAl組成比は前記p側クラッド層のAl組成比よりも小さい。
【発明の効果】
【0006】
光損失が低減された半導体レーザ素子が実現される。
【図面の簡単な説明】
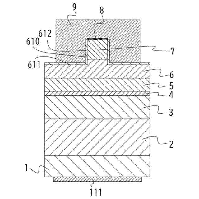
【0007】
半導体レーザ素子の模式的な断面図である。
半導体レーザ素子のn側クラッド層からp側クラッド層にかけての層構造の例の模式的な図である。
実施例1と比較例1における半導体レーザ素子の、p側上端からの距離に対する光強度の変動のシミュレーション結果を示す図である。
実施例1と比較例1における半導体レーザ素子の、遅軸方向における、光出射端面からの出射角(放射角)と放射強度との関係を示す図である。
【発明を実施するための形態】
【0008】
以下、図面を参照しながら、本開示を実施するための実施形態を説明する。以下の説明は、本開示の技術思想を具体化するためのものであって、特定的な記載がない限り、本開示を以下の記載に限定するものではない。本開示では、説明の分かりやすさのために、「上方」や「下方」といった名称を用いることがあるが、このことは、半導体レーザ素子の使用時における向きを制限するわけではなく、半導体レーザ素子の向きは任意である。各図面中、同一の機能を有する部材には、同一符号を付している場合がある。要点の説明または理解の容易性を考慮して、便宜上実施形態に分けて示す場合があるが、異なる実施形態や実施例1で示した構成の部分的な置換または組み合わせは可能である。後に示す実施形態では、先に示した実施形態との異なる事項について主に説明し、先に示した実施形態と共通の事柄について重複する説明を省略することがある。各図面が示す部材の大きさや位置関係等は、説明を明確にするため、誇張して示している場合がある。
【0009】
<実施形態>
図1は、実施形態の半導体レーザ素子10の模式的な断面図である。この断面は、半導体レーザ素子10の共振方向と直交する断面である。図2は、半導体レーザ素子10のn側クラッド層からp側クラッド層にかけての、層構造の例を模式的に示す図である。
【0010】
半導体レーザ素子10は、それぞれが窒化物半導体からなるn側クラッド層2と、n側ガイド層3と、活性層4と、p側ガイド層6と、p側クラッド層7と、を上方に向かってこの順で有する、紫外光を発する半導体レーザ素子である。半導体レーザ素子は第1面611と、第1面611から上方に向かって突出するリッジ部610と、を備える。第1面611は、p側ガイド層6の下端よりも上方、かつ、p側ガイド層6の上端よりも下方に存在する。n側ガイド層3の厚さはn側クラッド層2の厚さよりも小さい。n側ガイド層3のAl組成比はn側クラッド層2のAl組成比よりも小さい。p側ガイド層6の厚さは、p側クラッド層7の厚さよりも小さく、かつ、n側ガイド層3の厚さよりも小さい。p側ガイド層6のAl組成比はp側クラッド層7のAl組成比よりも小さい。この構成によって、半導体レーザ素子10内での、積層方向における光強度の分布において、光強度がピークとなる位置をp側ガイド層6から遠ざけ、n側ガイド層3に近づけることができる。半導体レーザ素子10のAl組成比の分布の詳細については、図2を参照して後述する。
(【0011】以降は省略されています)
この特許をJ-PlatPat(特許庁公式サイト)で参照する
関連特許
日亜化学工業株式会社
発光装置
4日前
日機装株式会社
加圧装置
4日前
マクセル株式会社
電源装置
1か月前
日新イオン機器株式会社
イオン源
4日前
株式会社東芝
端子台
1か月前
三菱電機株式会社
回路遮断器
27日前
株式会社GSユアサ
蓄電装置
1か月前
株式会社GSユアサ
蓄電装置
1か月前
富士電機株式会社
電磁接触器
19日前
株式会社GSユアサ
蓄電装置
19日前
株式会社GSユアサ
蓄電装置
1か月前
トヨタ自動車株式会社
蓄電装置
11日前
大電株式会社
電線又はケーブル
11日前
株式会社東芝
電子源
4日前
株式会社トクミ
ケーブル
5日前
日本特殊陶業株式会社
保持装置
1か月前
日新イオン機器株式会社
基板処理装置
1か月前
個人
電源ボックス及び電子機器
4日前
トヨタ自動車株式会社
蓄電装置
1か月前
ホシデン株式会社
複合コネクタ
13日前
日亜化学工業株式会社
半導体レーザ素子
1か月前
甲神電機株式会社
変流器及び零相変流器
1か月前
日本無線株式会社
レーダアンテナ
1か月前
株式会社デンソー
電子装置
1か月前
矢崎総業株式会社
バスバー
今日
ローム株式会社
半導体モジュール
20日前
矢崎総業株式会社
コネクタ
19日前
トヨタ自動車株式会社
密閉型電池
1か月前
ヒロセ電機株式会社
電気コネクタ
19日前
株式会社レゾナック
冷却器
27日前
住友電装株式会社
コネクタ
19日前
日本特殊陶業株式会社
アンテナ装置
6日前
日本特殊陶業株式会社
アンテナ装置
6日前
株式会社デンソー
熱交換部材
1か月前
日本特殊陶業株式会社
アンテナ装置
6日前
株式会社パロマ
監視システム
11日前
続きを見る
他の特許を見る