TOP
|
特許
|
意匠
|
商標
特許ウォッチ
Twitter
他の特許を見る
公開番号
2025161439
公報種別
公開特許公報(A)
公開日
2025-10-24
出願番号
2024064616
出願日
2024-04-12
発明の名称
バッテリ
出願人
トヨタ自動車株式会社
代理人
個人
主分類
H01M
50/50 20210101AFI20251017BHJP(基本的電気素子)
要約
【課題】並設された複数のセルスタック同士の間隔の増大を抑制可能なバッテリを提供する。
【解決手段】長手方向端面に端子が設けられた複数の角型セルが積層された直方体形状の第1及び第2のセルスタックを備えたバッテリである。第1及び第2のセルスタックは、それぞれ積層方向の第1端及び第2端が対応するように並設されている。第1のセルスタックにおいて最も第1端側に位置する角型セルの端子には、第1のエンドバスバの根元部が固定されており、第2のセルスタックにおいて最も第1端側に位置する角型セルの端子には、第2のエンドバスバの根元部が固定されている。第2のエンドバスバの先端部は、第1のエンドバスバの先端部に対して下側かつ第1端側にずれて配置され、第1のエンドバスバの先端部と第2のエンドバスバの先端部とが、複数の角型セルの積層方向に並んで配置されている。
【選択図】図5
特許請求の範囲
【請求項1】
長手方向端面に端子が設けられた複数の角型セルが積層された直方体形状の第1及び第2のセルスタックを備えたバッテリであって、
前記第1及び第2のセルスタックは、それぞれ積層方向の第1端及び第2端が対応するように並設されており、
前記第1のセルスタックにおいて最も前記第1端側に位置する角型セルの端子には、第1のエンドバスバの根元部が固定されており、
前記第2のセルスタックにおいて最も前記第1端側に位置する角型セルの端子には、第2のエンドバスバの根元部が固定されており、
前記第2のエンドバスバの先端部は、前記第1のエンドバスバの先端部に対して下側かつ前記第1端側にずれて配置され、
前記第1のエンドバスバの先端部と前記第2のエンドバスバの先端部とが、前記複数の角型セルの積層方向に並んで配置されている、
バッテリ。
続きを表示(約 630 文字)
【請求項2】
前記第1のエンドバスバの先端部は、前記第1のセルスタックの前記第1端に固定された第1の支持台に載置されており、
前記第2のエンドバスバの先端部は、前記第2のセルスタックの前記第1端に固定された第2の支持台に載置されている、
請求項1に記載のバッテリ。
【請求項3】
前記第1のエンドバスバの先端部に設けられた貫通孔に、前記第1の支持台に設けられたねじ棒が挿通されており、
前記第2のエンドバスバの先端部に設けられた貫通孔に、前記第2の支持台に設けられたねじ棒が挿通されている、
請求項2に記載のバッテリ。
【請求項4】
前記第1の支持台は、前記第1のセルスタックの前記第1端のエンドプレートに固定されており、
前記第2の支持台は、前記第2のセルスタックの前記第1端のエンドプレートに固定されている、
請求項2又は3に記載のバッテリ。
【請求項5】
前記第1の支持台は、前記第1のセルスタックの前記第1端のエンドプレートにボルト締結されており、
前記第2の支持台は、前記第2のセルスタックの前記第1端のエンドプレートにボルト締結されており、
前記第1のセルスタックの前記第1端のエンドプレートと、前記第2のセルスタックの前記第1端のエンドプレートとが、前記積層方向にずれて配置されている、
請求項4に記載のバッテリ。
発明の詳細な説明
【技術分野】
【0001】
本開示は、バッテリに関する。
続きを表示(約 1,600 文字)
【背景技術】
【0002】
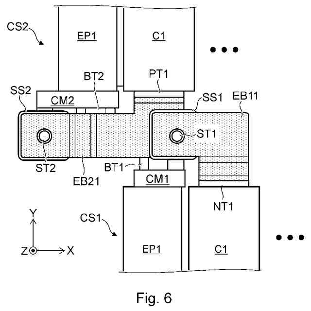
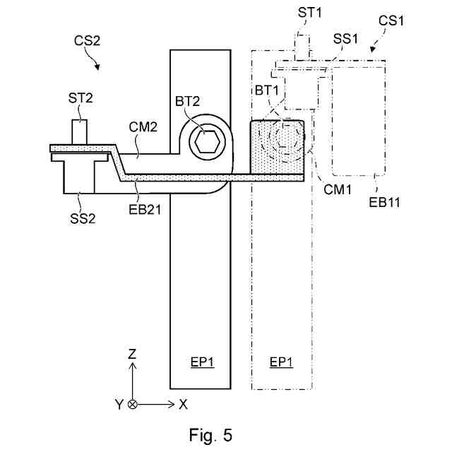
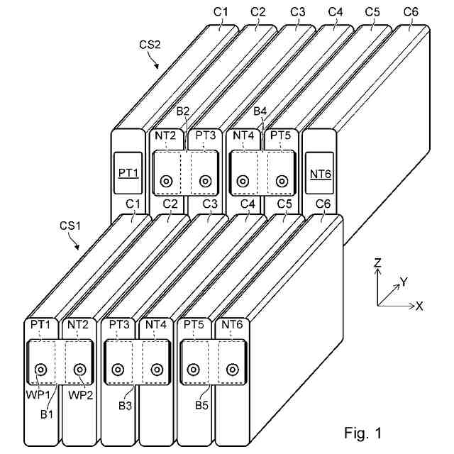
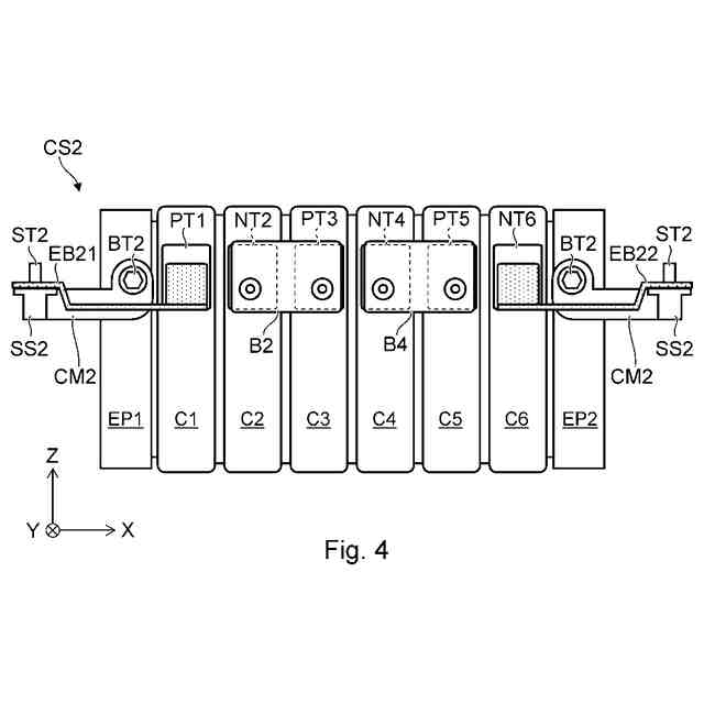
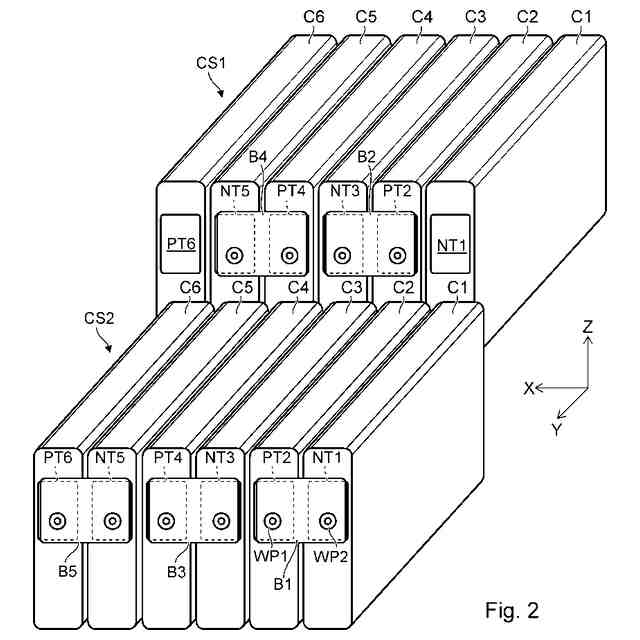
従来のバッテリでは、積層された各角型セルの上面に端子が設けられている。近年、特許文献1に開示されているように、積層された各角型セルの長手方向端面に端子が設けられたバッテリも開発されている。
【先行技術文献】
【特許文献】
【0003】
米国特許出願公開第2022/0302533号明細書
【発明の概要】
【発明が解決しようとする課題】
【0004】
発明者らは、並設された複数のセルスタックを備えるバッテリを開発している。上述の角型セルの長手方向端面に端子が設けられたバッテリでは、積層方向端部に位置する角型セルの端子に外部接続用のエンドバスバが固定される。そのため、エンドバスバ同士が干渉し、並設されたセルスタック同士の間隔が大きくなってしまう問題があった。
【0005】
本開示は、このような事情に鑑みなされたものであって、並設された複数のセルスタック同士の間隔の増大を抑制可能なバッテリを提供する。
【課題を解決するための手段】
【0006】
本開示の一態様に係るバッテリは、
長手方向端面に端子が設けられた複数の角型セルが積層された直方体形状の第1及び第2のセルスタックを備えたバッテリであって、
前記第1及び第2のセルスタックは、それぞれ積層方向の第1端及び第2端が対応するように並設されており、
前記第1のセルスタックにおいて最も前記第1端側に位置する角型セルの端子には、第1のエンドバスバの根元部が固定されており、
前記第2のセルスタックにおいて最も前記第1端側に位置する角型セルの端子には、第2のエンドバスバの根元部が固定されており、
前記第2のエンドバスバの先端部は、前記第1のエンドバスバの先端部に対して下側かつ前記第1端側にずれて配置され、
前記第1のエンドバスバの先端部と前記第2のエンドバスバの先端部とが、前記複数の角型セルの積層方向に並んで配置されている。
【0007】
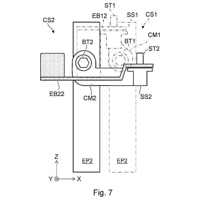
本開示に係るバッテリでは、第1のセルスタックにおいて最も第1端側に位置する角型セルの端子には、第1のエンドバスバの根元部が固定されており、第2のセルスタックにおいて最も第1端側に位置する角型セルの端子には、第2のエンドバスバの根元部が固定されており、第2のエンドバスバの先端部は、前記第1のエンドバスバの先端部に対して下側かつ前記第1端側にずれて配置され、第1のエンドバスバの先端部と第2のエンドバスバの先端部とが、複数の角型セルの積層方向に並んで配置されている。
そのため、対向する第1及び第2のエンドバスバ同士が干渉せず、並設された第1及び第2のセルスタック同士の間隔の増大を抑制できる。
【0008】
前記第1のエンドバスバの先端部は、前記第1のセルスタックの前記第1端に固定された第1の支持台に載置されており、前記第2のエンドバスバの先端部は、前記第2のセルスタックの前記第1端に固定された第2の支持台に載置されてもよい。このような構成によって、第1及び第2のエンドバスバの先端部の位置を安定させられる。
【0009】
前記第1のエンドバスバの先端部に設けられた貫通孔に、前記第1の支持台に設けられたねじ棒が挿通されており、前記第2のエンドバスバの先端部に設けられた貫通孔に、前記第2の支持台に設けられたねじ棒が挿通されていてもよい。このような構成によって、第1及び第2のエンドバスバの先端部の位置をさらに安定させられる。
【0010】
前記第1の支持台は、前記第1のセルスタックの前記第1端のエンドプレートに固定されており、前記第2の支持台は、前記第2のセルスタックの前記第1端のエンドプレートに固定されていてもよい。
(【0011】以降は省略されています)
特許ウォッチbot のツイートを見る
この特許をJ-PlatPat(特許庁公式サイト)で参照する
関連特許
APB株式会社
蓄電セル
24日前
東ソー株式会社
絶縁電線
26日前
個人
フレキシブル電気化学素子
1か月前
日新イオン機器株式会社
イオン源
1か月前
マクセル株式会社
電源装置
18日前
株式会社ユーシン
操作装置
1か月前
ローム株式会社
半導体装置
25日前
株式会社東芝
端子台
18日前
オムロン株式会社
電磁継電器
1か月前
株式会社GSユアサ
蓄電設備
1か月前
株式会社GSユアサ
蓄電装置
19日前
株式会社GSユアサ
蓄電装置
19日前
三菱電機株式会社
回路遮断器
5日前
太陽誘電株式会社
コイル部品
1か月前
株式会社GSユアサ
蓄電装置
11日前
株式会社ホロン
冷陰極電子源
1か月前
株式会社GSユアサ
蓄電設備
1か月前
トヨタ自動車株式会社
バッテリ
24日前
北道電設株式会社
配電具カバー
24日前
サクサ株式会社
電池の固定構造
1か月前
日本特殊陶業株式会社
保持装置
10日前
日東電工株式会社
積層体
1か月前
トヨタ自動車株式会社
蓄電装置
19日前
トヨタ自動車株式会社
蓄電装置
1か月前
トヨタ自動車株式会社
冷却構造
26日前
ノリタケ株式会社
熱伝導シート
1か月前
日本特殊陶業株式会社
保持装置
27日前
日新イオン機器株式会社
基板処理装置
21日前
株式会社トクヤマ
シリコンエッチング液
1か月前
日亜化学工業株式会社
半導体レーザ素子
21日前
古河電気工業株式会社
端子
1か月前
株式会社レゾナック
冷却器
5日前
トヨタ自動車株式会社
密閉型電池
20日前
株式会社デンソー
電子装置
21日前
株式会社ダイヘン
搬送装置
1か月前
トヨタ自動車株式会社
電池パック
1か月前
続きを見る
他の特許を見る