TOP
|
特許
|
意匠
|
商標
特許ウォッチ
Twitter
他の特許を見る
公開番号
2025166386
公報種別
公開特許公報(A)
公開日
2025-11-06
出願番号
2024070377
出願日
2024-04-24
発明の名称
蓄電装置
出願人
株式会社GSユアサ
代理人
個人
主分類
H01M
50/204 20210101AFI20251029BHJP(基本的電気素子)
要約
【課題】信頼性が向上した蓄電装置を提供する。
【解決手段】蓄電装置は、外装体10と、外装体の壁部21に固定された外部端子90と、壁部に組み込まれた絶縁部材100と、を備え、外部端子は、外装体の外部に露出する接続部91と、壁部に組み込まれた端子端部95と、を備え、端子端部は、外装体の内部に向く端面96、97を備え、壁部は、端面よりも外装体の内部に近い位置に第一開口22を備え、絶縁部材は、第一開口の内部で端面を覆う第一部分110を備える。
【選択図】図4
特許請求の範囲
【請求項1】
外装体と、
前記外装体の壁部に固定された外部端子と、
前記壁部に組み込まれた絶縁部材と、
を備え、
前記外部端子は、
前記外装体の外部に露出する接続部と、
前記壁部に組み込まれた端子端部と、を備え、
前記端子端部は、前記外装体の内部に向く端面を備え、
前記壁部は、前記端面よりも前記外装体の前記内部に近い位置に第一開口を備え、
前記絶縁部材は、前記第一開口の内部で前記端面を覆う第一部分を備える、
蓄電装置。
続きを表示(約 470 文字)
【請求項2】
前記絶縁部材と前記端面との並び方向から見た場合、前記絶縁部材のサイズは前記第一開口のサイズよりも大きい、
請求項1に記載の蓄電装置。
【請求項3】
前記絶縁部材と前記端面との並び方向から見た場合、前記絶縁部材のサイズは前記端面のサイズよりも大きい、
請求項1または2に記載の蓄電装置。
【請求項4】
さらに、前記外部端子に接続されたバスバーを備え、
前記壁部は、前記バスバーよりも前記外装体の前記内部に近い位置に第二開口を備え、
前記絶縁部材は、前記第二開口の内部で前記バスバーを覆う第二部分を備える、
請求項1または2に記載の蓄電装置。
【請求項5】
前記接続部は、前記外部に向けて前記壁部よりも突出している、
請求項1または2に記載の蓄電装置。
【請求項6】
前記第一開口と前記端面との並び方向から見た場合、前記第一開口は、前記接続部の少なくとも一部と重なる、
請求項5に記載の蓄電装置。
発明の詳細な説明
【技術分野】
【0001】
本発明は、蓄電装置に関する。
続きを表示(約 1,600 文字)
【背景技術】
【0002】
特許文献1には、正極板、負極板およびセパレータとからなる極板群と、電解液を内部に収納した電槽と、この電槽の開口部を密閉する蓋体とからなる密閉型鉛蓄電池が開示されている。蓋体は、樹脂であり、極板群から外部への導通のためのブッシングとともにインサート樹脂成型されている。
【先行技術文献】
【特許文献】
【0003】
特開平9-237615号公報
【発明の概要】
【発明が解決しようとする課題】
【0004】
上記従来の密閉型鉛蓄電池では、金属製のブッシングと樹脂製の蓋体との境界が、電槽の内部に露出している。この場合、当該境界の露出している部分から電槽の内部の気体が流入するおそれがある。このことは、ブッシングの周囲における気密性の低下の要因となり得る。
【0005】
本発明は、本願発明者が上記課題に新たに着目してなされたものであり、信頼性が向上された蓄電装置を提供することを目的とする。
【課題を解決するための手段】
【0006】
本発明の一態様に係る蓄電装置は、外装体と、前記外装体の壁部に固定された外部端子と、前記壁部に組み込まれた絶縁部材と、を備え、前記外部端子は、前記外装体の外部に露出する接続部と、前記壁部に組み込まれた端子端部と、を備え、前記端子端部は、前記外装体の内部に向く端面を備え、前記壁部は、前記端面よりも前記外装体の前記内部に近い位置に第一開口を備え、前記絶縁部材は、前記第一開口の内部で前記端面を覆う第一部分を備える。
【発明の効果】
【0007】
本発明によれば、信頼性が向上された蓄電装置を提供できる。
【図面の簡単な説明】
【0008】
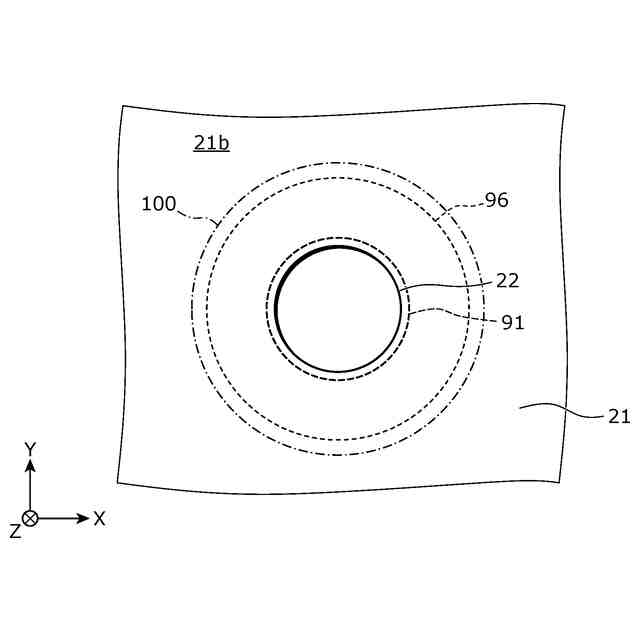
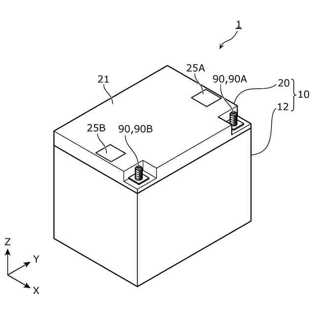
図1は、実施の形態に係る蓄電装置の外観を示す斜視図である。
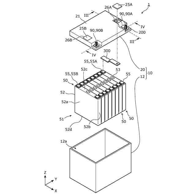
図2は、実施の形態に係る蓄電装置の分解斜視図である。
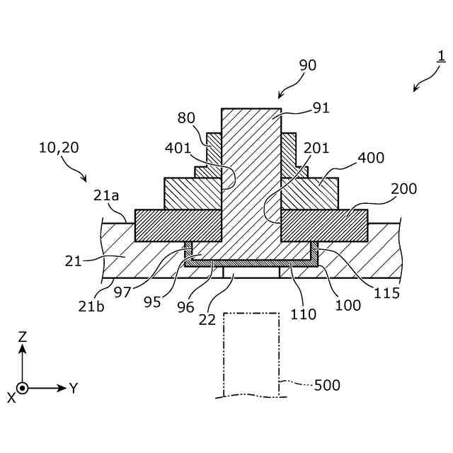
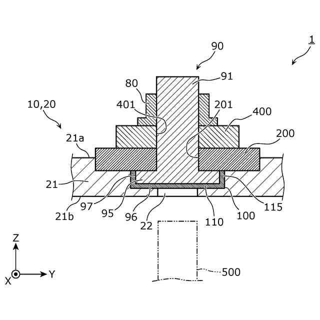
図3は、実施の形態に係る外部端子及びその周辺の構成を示す第1の断面図である。
図4は、実施の形態に係る外部端子及びその周辺の構成を示す第2の断面図である。
図5は、実施の形態に係る第一開口及び絶縁部材等のサイズの大小関係を示す図である。
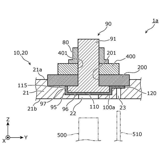
図6は、実施の形態の変形例1に係る外部端子及びその周辺の構成を示す断面図である。
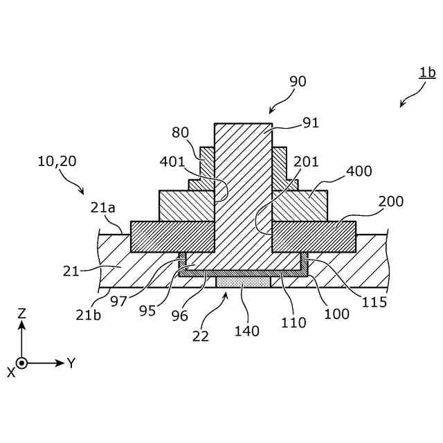
図7は、実施の形態の変形例2に係る外部端子及びその周辺の構成を示す断面図である。
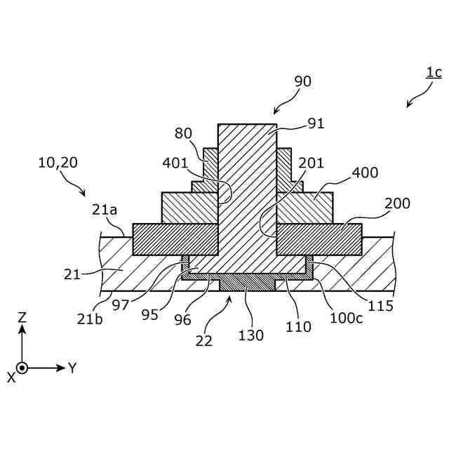
図8は、実施の形態の変形例3に係る外部端子及びその周辺の構成を示す断面図である。
【発明を実施するための形態】
【0009】
(1)本発明の一態様に係る蓄電装置は、外装体と、前記外装体の壁部に固定された外部端子と、前記壁部に組み込まれた絶縁部材と、を備え、前記外部端子は、前記外装体の外部に露出する接続部と、前記壁部に組み込まれた端子端部と、を備え、前記端子端部は、前記外装体の内部に向く端面を備え、前記壁部は、前記端面よりも前記外装体の前記内部に近い位置に第一開口を備え、前記絶縁部材は、前記第一開口の内部で前記端面を覆う第一部分を備える。
【0010】
例えばインサート成形によって壁部に一体に外部端子を設ける場合、インサート成形の際に外部端子を支える支持部材の存在により、壁部の内面に第一開口が形成される。この第一開口は、外装体の気密性の低下の要因となり得る。しかしながら、本発明の一態様に係る蓄電装置では、端子端部の端面は、第一開口の内部において絶縁部材の第一部分で覆われる。これにより、壁部と端子端部との境界は外装体の内部に露出しない。その結果、外装体の内部から外部への気体の流出であって、第一開口を介した気体の流出が抑制される。従って、第一開口の位置における気密性の低下が抑制される。このように、本態様に係る蓄電装置は、信頼性が向上された蓄電装置である。
(【0011】以降は省略されています)
この特許をJ-PlatPat(特許庁公式サイト)で参照する
関連特許
株式会社GSユアサ
蓄電装置
23日前
株式会社GSユアサ
蓄電装置
1か月前
株式会社GSユアサ
蓄電装置
9日前
株式会社GSユアサ
蓄電装置
1か月前
株式会社GSユアサ
蓄電装置
1か月前
株式会社GSユアサ
蓄電装置
17日前
株式会社GSユアサ
蓄電装置
1日前
株式会社GSユアサ
蓄電バンクの監視システム
22日前
株式会社GSユアサ
非水電解質蓄電素子及びその製造方法
24日前
株式会社GSユアサ
非水電解質蓄電素子及びその使用方法
10日前
株式会社GSユアサ
デバイス装置、エネルギー貯蔵システム
22日前
株式会社GSユアサ
蓄電素子用の正極活物質、蓄電素子用の正極及び蓄電素子
1か月前
株式会社GSユアサ
蓄電素子
1か月前
株式会社GSユアサ
鉛蓄電池用正極集電体、および鉛蓄電池用集電体の製造方法
1か月前
株式会社GSユアサ
蓄電システム
11日前
株式会社GSユアサ
蓄電情報処理方法、コンピュータプログラム及び蓄電情報処理装置
1か月前
株式会社GSユアサ
硫化物固体電解質及び全固体電池
1か月前
株式会社GSユアサ
硫化物固体電解質及び全固体電池
3日前
株式会社GSユアサ
蓄電装置、電流遮断装置の制御方法
9日前
株式会社GSユアサ
制御方法、制御装置、及びコンピュータプログラム
1か月前
株式会社GSユアサ
情報処理方法、情報処理装置、及びコンピュータプログラム
1日前
株式会社GSユアサ
情報処理装置、情報処理システム、情報処理方法及びコンピュータプログラム
1か月前
株式会社GSユアサ
硫化物固体電解質の製造方法、硫化物固体電解質、全固体電池、及び硫化物固体電解質の製造に用いる原料化合物の選択方法
17日前
東ソー株式会社
絶縁電線
1か月前
APB株式会社
蓄電セル
1か月前
個人
フレキシブル電気化学素子
1か月前
ローム株式会社
半導体装置
1か月前
日新イオン機器株式会社
イオン源
1か月前
株式会社ユーシン
操作装置
1か月前
株式会社東芝
端子台
1か月前
マクセル株式会社
電源装置
1か月前
株式会社GSユアサ
蓄電設備
1か月前
三菱電機株式会社
回路遮断器
17日前
太陽誘電株式会社
コイル部品
1か月前
富士電機株式会社
電磁接触器
9日前
株式会社ホロン
冷陰極電子源
1か月前
続きを見る
他の特許を見る