TOP
|
特許
|
意匠
|
商標
特許ウォッチ
Twitter
他の特許を見る
10個以上の画像は省略されています。
公開番号
2025163196
公報種別
公開特許公報(A)
公開日
2025-10-28
出願番号
2025131095,2025114189
出願日
2025-08-06,2019-08-30
発明の名称
硫化物固体電解質及び全固体電池
出願人
株式会社GSユアサ
代理人
主分類
H01B
1/06 20060101AFI20251021BHJP(基本的電気素子)
要約
【課題】耐還元性が向上された硫化物固体電解質及び当該硫化物固体電解質を備えた全固体電池を提供する。
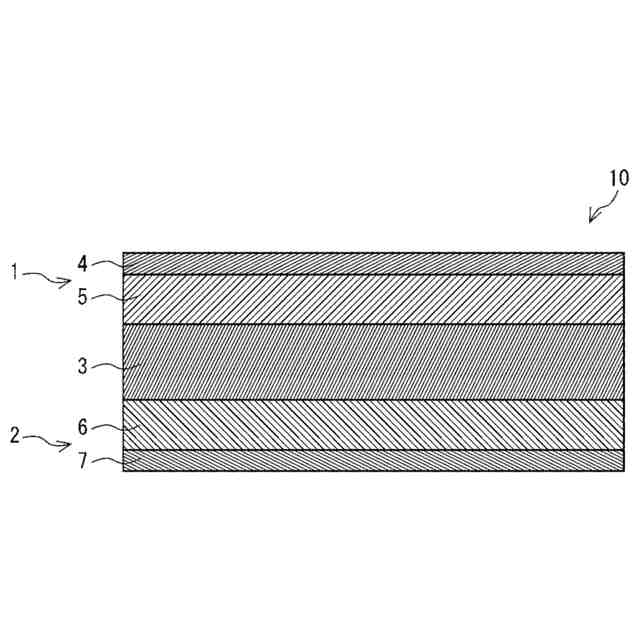
【解決手段】硫化物固体電解質は、Al及びNを含み結晶構造を有する。二次電池である全固体電池10は、負極層1と、正極層2とが固体電解質層3を介して配置される。負極層1は、負極基材層4及び負極合剤層5を有し、負極基材層4が負極層1の最外層となる。正極層2は、正極基材層7及び正極合剤層6を有し、正極基材層7が正極層2の最外層となり、かつ、正極基材層7上に、正極合剤層6、固体電解質層3、負極合剤層5及び負極基材層4がこの順で積層されている。
【選択図】図1
特許請求の範囲
【請求項1】
Al及びNを含み、結晶構造を有する硫化物固体電解質。
発明の詳細な説明
【技術分野】
【0001】
本発明は、硫化物固体電解質及び全固体電池に関する。
続きを表示(約 1,400 文字)
【背景技術】
【0002】
リチウムイオン非水電解質二次電池に代表される非水電解質二次電池は、エネルギー密度の高さから、パーソナルコンピュータ、通信端末等の電子機器、自動車等に多用されている。上記非水電解質二次電池は、一般的には、電気的に隔離された一対の電極を有する電極体、及び電極間に介在する非水電解質を備え、両電極間でイオンの受け渡しを行うことで充放電するよう構成される。
【0003】
近年、非水電解質二次電池の安全性の向上を目的として、非水電解質として有機溶媒等の液体の電解質に代えて硫化物固体電解質等を使用する全固体電池が提案されている(特許文献1参照)。
【0004】
硫化物固体電解質の一例として、Li、P、SおよびNを含有し、一般式XLi
2
S-25P
2
S
5
-YLi
3
N(10≦Y≦15、67.5≦X+Y≦85)で表される組成を有し、結晶性材料である硫化物固体電解質が開示されている。(特許文献2参照)
硫化物固体電解質としては、70Li
2
S・30P
2
S
5
ガラスセラミックス及び60Li
2
S・25P
2
S
5
・10Li
3
Nガラスセラミックスが、10
-3
S/cm以上の高いイオン伝導度を示すことが報告されている。(非特許文献1)
【0005】
このような硫化物固体電解質は、本質的に耐酸化性及び耐還元性が低いことが第一原理計算より明らかにされている。(非特許文献2)
【先行技術文献】
【特許文献】
【0006】
特開2000-340257号公報
特開2018-041671号公報
Solid State Ionics,177,2721(2006)、Solid State Ionics,304,85(2016)
ACS Appl.Mater.Interfaces、7、23685(2015)
【発明の概要】
【発明が解決しようとする課題】
【0007】
本発明は、以上のような事情に基づいてなされたものであり、耐還元性が向上された硫化物固体電解質、及び当該硫化物固体電解質を備えた全固体電池の提供を目的とする。
【課題を解決するための手段】
【0008】
上記課題を解決するためになされた本発明の一態様は、Al、Si、B、Mg、Zr、Ti、Hf、Ca、Sr、Sc、Ce、Ta、Nb、W、Mo、Vからなる群より選択される少なくとも一つの元素Mと、Nとを含み、結晶構造を有する硫化物固体電解質である。
【0009】
本発明の他の一態様は、Al及びNを含み、結晶構造を有する硫化物固体電解質である。
【発明の効果】
【0010】
本発明の一態様又は他の一態様に係る硫化物固体電解質によれば、耐還元性が向上された硫化物固体電解質とすることができる。
【図面の簡単な説明】
(【0011】以降は省略されています)
この特許をJ-PlatPat(特許庁公式サイト)で参照する
関連特許
株式会社GSユアサ
蓄電装置
23日前
株式会社GSユアサ
蓄電装置
1か月前
株式会社GSユアサ
蓄電装置
1か月前
株式会社GSユアサ
蓄電装置
9日前
株式会社GSユアサ
蓄電装置
1か月前
株式会社GSユアサ
蓄電装置
1日前
株式会社GSユアサ
蓄電装置
17日前
株式会社GSユアサ
蓄電バンクの監視システム
22日前
株式会社GSユアサ
非水電解質蓄電素子及びその製造方法
24日前
株式会社GSユアサ
非水電解質蓄電素子及びその使用方法
10日前
株式会社GSユアサ
デバイス装置、エネルギー貯蔵システム
22日前
株式会社GSユアサ
蓄電素子用の正極活物質、蓄電素子用の正極及び蓄電素子
1か月前
株式会社GSユアサ
蓄電素子
1か月前
株式会社GSユアサ
鉛蓄電池用正極集電体、および鉛蓄電池用集電体の製造方法
1か月前
株式会社GSユアサ
蓄電システム
11日前
株式会社GSユアサ
蓄電情報処理方法、コンピュータプログラム及び蓄電情報処理装置
1か月前
株式会社GSユアサ
硫化物固体電解質及び全固体電池
1か月前
株式会社GSユアサ
硫化物固体電解質及び全固体電池
3日前
株式会社GSユアサ
蓄電装置、電流遮断装置の制御方法
9日前
株式会社GSユアサ
制御方法、制御装置、及びコンピュータプログラム
1か月前
株式会社GSユアサ
情報処理方法、情報処理装置、及びコンピュータプログラム
1日前
株式会社GSユアサ
情報処理装置、情報処理システム、情報処理方法及びコンピュータプログラム
1か月前
株式会社GSユアサ
硫化物固体電解質の製造方法、硫化物固体電解質、全固体電池、及び硫化物固体電解質の製造に用いる原料化合物の選択方法
17日前
株式会社GSユアサ
硫化物固体電解質の製造方法、硫化物固体電解質、全固体電池、及び硫化物固体電解質の製造に用いる原料化合物の選択方法
1か月前
東ソー株式会社
絶縁電線
1か月前
APB株式会社
蓄電セル
1か月前
マクセル株式会社
電源装置
1か月前
ローム株式会社
半導体装置
1か月前
株式会社東芝
端子台
1か月前
株式会社GSユアサ
蓄電装置
9日前
株式会社GSユアサ
蓄電装置
1か月前
富士電機株式会社
電磁接触器
9日前
株式会社GSユアサ
蓄電装置
1か月前
株式会社ホロン
冷陰極電子源
1か月前
株式会社GSユアサ
蓄電装置
23日前
三菱電機株式会社
回路遮断器
17日前
続きを見る
他の特許を見る