TOP
|
特許
|
意匠
|
商標
特許ウォッチ
Twitter
他の特許を見る
10個以上の画像は省略されています。
公開番号
2025167773
公報種別
公開特許公報(A)
公開日
2025-11-07
出願番号
2024072677
出願日
2024-04-26
発明の名称
蓄電バンクの監視システム
出願人
株式会社GSユアサ
代理人
弁理士法人暁合同特許事務所
主分類
H01M
10/48 20060101AFI20251030BHJP(基本的電気素子)
要約
【課題】通信エラーが起きたモジュール監視装置の特定を可能とし、通信エラーの早期復旧に資する技術を提供する。
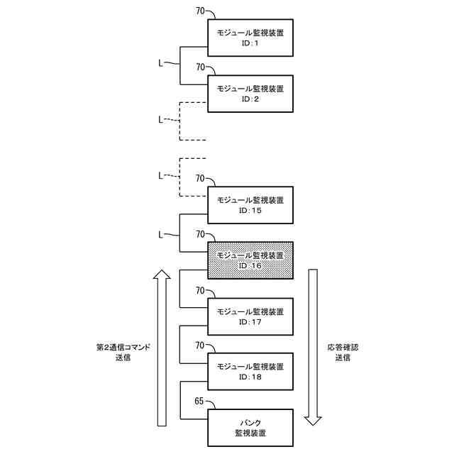
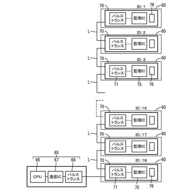
【解決手段】複数の蓄電モジュール60からなる蓄電バンク21の監視システムであって、複数の蓄電モジュール60にそれぞれ設置され、前記蓄電モジュール60の状態を監視する複数のモジュール監視装置70と、前記蓄電バンク21の状態を監視するバンク監視装置65と、を備え、前記バンク監視装置65と複数の前記モジュール監視装置70は、通信線を介してデイジーチェーン接続されている。前記バンク監視装置65は、前記モジュール監視装置70との間において通信エラーが発生した場合、通信経路上において近い側のモジュール監視装置70から通信相手を指定して順番に応答確認を行い、最初に応答がなかったモジュール監視装置70を、通信エラー発生箇所として特定する。
【選択図】図10
特許請求の範囲
【請求項1】
複数の蓄電モジュールからなる蓄電バンクの監視システムであって、
複数の蓄電モジュールにそれぞれ設置され、前記蓄電モジュールの状態を監視する複数のモジュール監視装置と、
前記蓄電バンクの状態を監視するバンク監視装置と、を備え、前記バンク監視装置と複数の前記モジュール監視装置は、通信線を介してデイジーチェーン接続されており、
前記バンク監視装置は、前記モジュール監視装置との間において通信エラーが発生した場合、通信経路上において近い側のモジュール監視装置から通信相手を指定して順番に応答確認を行い、最初に応答がなかったモジュール監視装置を、通信エラー発生箇所として特定する、蓄電バンクの監視システム。
続きを表示(約 460 文字)
【請求項2】
請求項1に記載の蓄電バンクの監視システムであって、
前記通信エラーは、通信相手を指定せず、前記バンク監視装置からデイジーチェーン接続された全てのモジュール監視装置に対して送信される第1通信コマンドによる通信エラーである、蓄電バンクの監視システム。
【請求項3】
請求項1又は請求項2に記載の蓄電バンクの監視システムであって、
前記バンク監視装置は、前記モジュール監視装置の接続数に応じて割り当てられたID番号を用いた応答確認により、前記モジュール監視装置の通信状態を個々に判断する、蓄電バンクの監視システム。
【請求項4】
請求項2に記載の蓄電バンクの監視システムであって、
前記蓄電モジュールは、直列に接続された複数の蓄電セルを含み、
前記モジュール監視装置は、前記蓄電セルのセル間の容量をバランスさせるバランス回路を含み、
前記第1通信コマンドは、前記蓄電セルのバランス動作に関する指令である、蓄電バンクの監視システム。
発明の詳細な説明
【技術分野】
【0001】
本発明は、蓄電バンクの監視システムに関する。
続きを表示(約 1,400 文字)
【背景技術】
【0002】
エネルギーの効率的な運用を図るため、エネルギー貯蔵システムの導入が進められている。エネルギー貯蔵システムは、電力の需要が供給を下回っている場合、電力の余剰分で蓄電バンクに充電し、電力の需要が供給を上回っている場合、蓄電バンクを放電することで、電力不足を補う。エネルギー貯蔵システムに関連する技術を開示する文献として、特許文献1がある。
【先行技術文献】
【特許文献】
【0003】
特開2023-65595号公報
【発明の概要】
【発明が解決しようとする課題】
【0004】
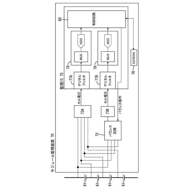
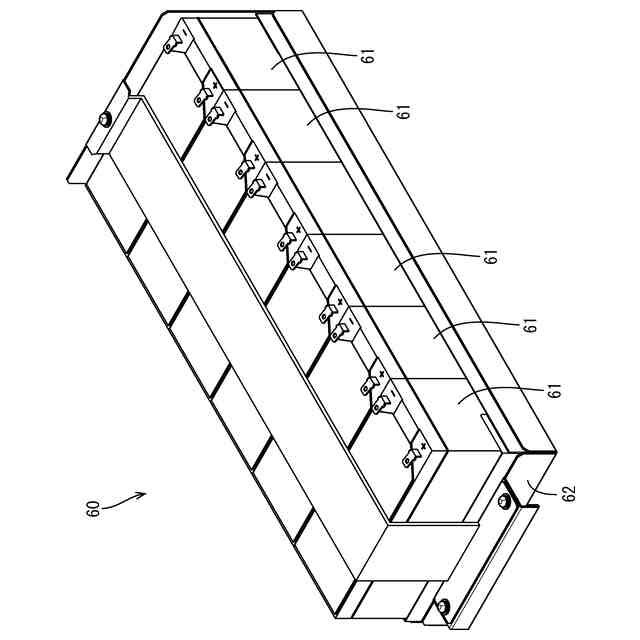
蓄電バンクは、複数の蓄電モジュール(複数の蓄電セルをユニット化したもの)を、直列に接続した構成が一般的であり、蓄電モジュールごとにモジュール監視装置を設けて、蓄電モジュールの状態を監視している。
【0005】
モジュール監視装置がデイジーチェーン接続されている場合、通信エラー発生箇所の特定が困難な場合があり、通信エラーの復旧に、時間が掛ることが懸念された。
【0006】
本発明の課題は、通信エラーが起きたモジュール監視装置の特定を可能とし、通信エラーの早期復旧に資する技術を提供することである。
【課題を解決するための手段】
【0007】
本発明の一実施形態に係る、複数の蓄電モジュールからなる蓄電バンクの監視システムは、複数の蓄電モジュールにそれぞれ設置され、前記蓄電モジュールの状態を監視する複数のモジュール監視装置と、前記蓄電バンクの状態を監視するバンク監視装置と、を備え、前記バンク監視装置と複数の前記モジュール監視装置は、通信線を介してデイジーチェーン接続されている。
前記バンク監視装置は、前記モジュール監視装置との間において通信エラーが発生した場合、通信経路上において近い側のモジュール監視装置から通信相手を指定して順番に応答確認を行い、最初に応答がなかったモジュール監視装置を、通信エラー発生箇所として特定する。
【発明の効果】
【0008】
本技術は、通信エラーが発生したモジュール監視装置を特定することが可能となり、通信エラーを早期に復旧できる。
【図面の簡単な説明】
【0009】
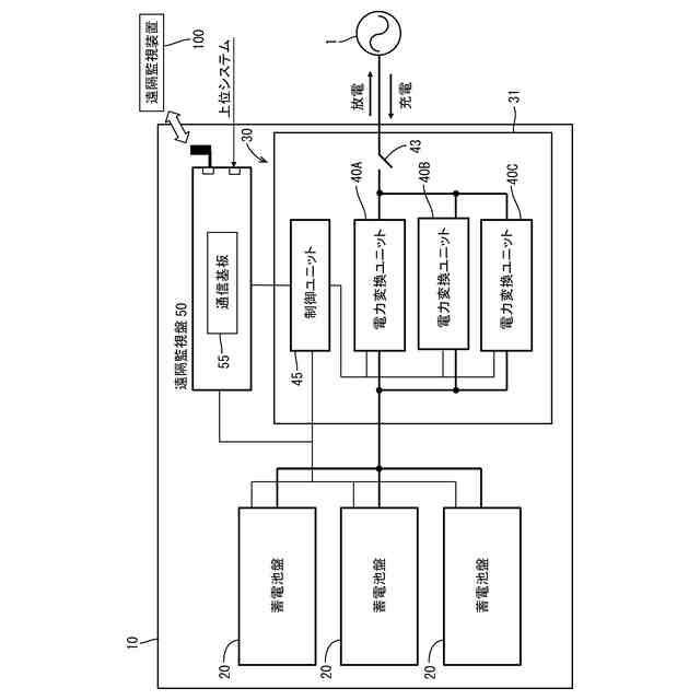
エネルギー貯蔵システムのブロック図
蓄電池盤のブロック図
蓄電モジュールの斜視図
バンク監視装置とモジュール監視装置の通信方式を示す図
監視ICの通信シーケンスを示す図
通信コマンドを示す図
モジュール監視装置のブロック図
第2通信コマンドによる通信を示す図
第1通信コマンドによる通信を示す図
通信エラー発生箇所の特定方法を示す図
【発明を実施するための形態】
【0010】
(本実施形態の概要)
(1)本発明の一実施形態に係る、複数の蓄電モジュールからなる蓄電バンクの監視システムは、複数の蓄電モジュールにそれぞれ設置され、前記蓄電モジュールの状態を監視する複数のモジュール監視装置と、前記蓄電バンクの状態を監視するバンク監視装置と、を備え、前記バンク監視装置と複数の前記モジュール監視装置は、通信線を介してデイジーチェーン接続されている。
(【0011】以降は省略されています)
この特許をJ-PlatPat(特許庁公式サイト)で参照する
関連特許
株式会社GSユアサ
蓄電設備
1か月前
株式会社GSユアサ
蓄電装置
23日前
株式会社GSユアサ
蓄電装置
1日前
株式会社GSユアサ
蓄電装置
1か月前
株式会社GSユアサ
蓄電装置
9日前
株式会社GSユアサ
蓄電装置
1か月前
株式会社GSユアサ
蓄電装置
1か月前
株式会社GSユアサ
PCS盤
1か月前
株式会社GSユアサ
蓄電装置
17日前
株式会社GSユアサ
蓄電設備
1か月前
株式会社GSユアサ
蓄電バンクの監視システム
22日前
株式会社GSユアサ
鉛蓄電池用極板及び鉛蓄電池
1か月前
株式会社GSユアサ
電力変換器、充電装置及び車両
1か月前
株式会社GSユアサ
非水電解質蓄電素子及びその使用方法
10日前
株式会社GSユアサ
非水電解質蓄電素子及びその製造方法
24日前
株式会社GSユアサ
デバイス装置、エネルギー貯蔵システム
22日前
株式会社GSユアサ
電力変換器、多脚トランス、充電装置及び車両
1か月前
株式会社GSユアサ
エネルギー貯蔵システム、蓄電バンクの初期充電方法
1か月前
株式会社GSユアサ
非水電解質蓄電素子、その使用方法及びその製造方法
1か月前
株式会社GSユアサ
電力変換器、電力変換器の制御方法、充電装置及び車両
1か月前
株式会社GSユアサ
蓄電素子用の正極活物質、蓄電素子用の正極及び蓄電素子
1か月前
株式会社GSユアサ
蓄電素子
1か月前
株式会社GSユアサ
エネルギー貯蔵システム、蓄電池盤の満充電容量計測方法。
1か月前
株式会社GSユアサ
鉛蓄電池用正極集電体、および鉛蓄電池用集電体の製造方法
1か月前
株式会社GSユアサ
蓄電システム
11日前
株式会社GSユアサ
蓄電情報処理方法、コンピュータプログラム及び蓄電情報処理装置
1か月前
株式会社GSユアサ
充放電ステーション
1か月前
株式会社GSユアサ
情報処理装置及び端末装置
1か月前
株式会社GSユアサ
蓄電装置、組電池の異常検出方法
1か月前
株式会社GSユアサ
硫化物固体電解質及び全固体電池
1か月前
株式会社GSユアサ
硫化物固体電解質及び全固体電池
3日前
株式会社GSユアサ
蓄電装置、電流遮断装置の制御方法
9日前
株式会社GSユアサ
回収支援装置、回収支援システム及び回収支援方法
1か月前
株式会社GSユアサ
制御方法、制御装置、及びコンピュータプログラム
1か月前
株式会社GSユアサ
情報処理方法、情報処理装置、及びコンピュータプログラム
1日前
株式会社GSユアサ
情報処理装置、情報処理システム、情報処理方法及びコンピュータプログラム
1か月前
続きを見る
他の特許を見る