TOP
|
特許
|
意匠
|
商標
特許ウォッチ
Twitter
他の特許を見る
公開番号
2025158748
公報種別
公開特許公報(A)
公開日
2025-10-17
出願番号
2024061603
出願日
2024-04-05
発明の名称
蓄電素子用の正極活物質、蓄電素子用の正極及び蓄電素子
出願人
株式会社GSユアサ
代理人
個人
,
個人
,
個人
,
個人
主分類
H01M
4/505 20100101AFI20251009BHJP(基本的電気素子)
要約
【課題】スピネル型結晶構造を有するリチウム遷移金属酸化物を含み、充放電サイクル後の蓄電素子の放電容量維持率の低下を抑制できる蓄電素子用の正極活物質、並びにこのような蓄電素子用の正極活物質を備える蓄電素子用の正極及び蓄電素子を提供する。
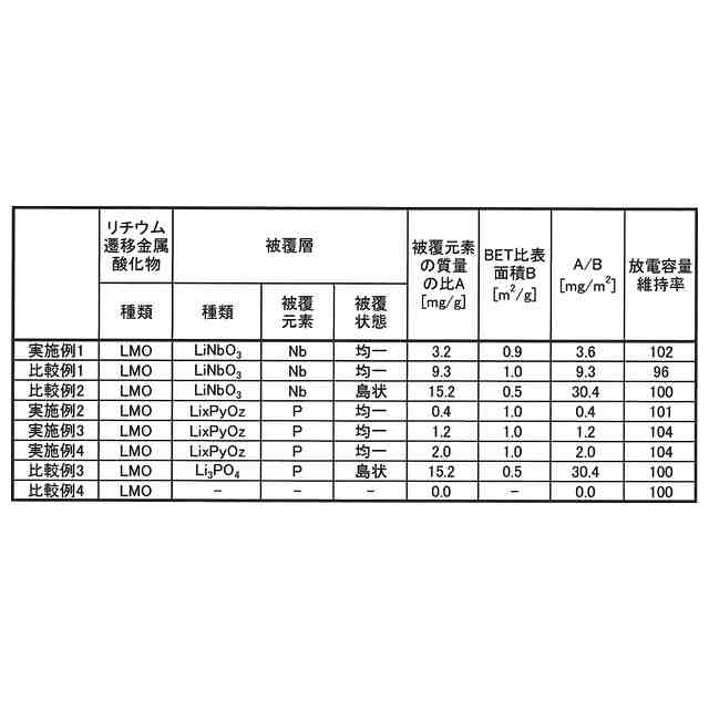
【解決手段】本発明の一側面に係る蓄電素子用の正極活物質は、スピネル型結晶構造を有するリチウム遷移金属酸化物と、上記リチウム遷移金属酸化物を均一に被覆する被覆層とを有し、上記被覆層がニオブ元素又はリン元素を含み、上記リチウム遷移金属酸化物及び上記被覆層の合計質量[g]に対する上記ニオブ元素及び上記リン元素の合計質量[mg]の比をA[mg/g]とし、上記リチウム遷移金属酸化物及び上記被覆層からなる部分のBET比表面積をB[m
2
/g]とした場合に、A/Bが0.4mg/m
2
以上9.0mg/m
2
以下である。
【選択図】図1
特許請求の範囲
【請求項1】
スピネル型結晶構造を有するリチウム遷移金属酸化物と、
上記リチウム遷移金属酸化物を均一に被覆する被覆層と
を有し、
上記被覆層がニオブ元素又はリン元素を含み、
上記リチウム遷移金属酸化物及び上記被覆層の合計質量[g]に対する上記ニオブ元素及び上記リン元素の合計質量[mg]の比をA[mg/g]とし、上記リチウム遷移金属酸化物及び上記被覆層からなる部分のBET比表面積をB[m
2
/g]とした場合に、A/Bが0.4mg/m
2
以上9.0mg/m
2
以下である蓄電素子用の正極活物質。
続きを表示(約 170 文字)
【請求項2】
上記リチウム遷移金属酸化物の平均一次粒子径に対する平均粒径の比が5以下の粒子である請求項1に記載の蓄電素子用の正極活物質。
【請求項3】
請求項1又は請求項2に記載の蓄電素子用の正極活物質を備える蓄電素子用の正極。
【請求項4】
請求項3に記載の蓄電素子用の正極を備える蓄電素子。
発明の詳細な説明
【技術分野】
【0001】
本発明は、蓄電素子用の正極活物質、蓄電素子用の正極及び蓄電素子に関する。
続きを表示(約 1,400 文字)
【背景技術】
【0002】
リチウムイオン非水電解質二次電池に代表される非水電解質二次電池は、エネルギー密度の高さから、パーソナルコンピュータ、通信端末等の電子機器、自動車等に多用されている。非水電解質二次電池は、一般的には、セパレータで電気的に隔離された一対の電極を有する電極体、及び電極間に介在する非水電解質を備え、両電極間で電荷輸送イオンの受け渡しを行うことで充放電するよう構成される。また、非水電解質二次電池以外の蓄電素子として、リチウムイオンキャパシタ、電気二重層キャパシタ等のキャパシタ、及び非水電解質以外の電解質が用いられた蓄電素子等も広く普及している。
【0003】
蓄電素子に用いられる正極活物質として、マンガン酸リチウム等のスピネル型構造を有するリチウム遷移金属酸化物が知られている(特許文献1)。
【先行技術文献】
【特許文献】
【0004】
特開2018-045965号公報
【発明の概要】
【発明が解決しようとする課題】
【0005】
蓄電素子の正極に、スピネル型結晶構造を有するリチウム遷移金属酸化物を含む正極活物質を用いると、リチウム遷移金属酸化物から遷移金属イオンが蓄電素子の電解質中に溶出する場合がある。このようにリチウム遷移金属酸化物から遷移金属イオンが電解質中に溶出すると、充放電の繰り返しに伴って放電容量が低下し得る。
【0006】
本発明は、以上のような事情に基づいてなされたものであり、スピネル型結晶構造を有するリチウム遷移金属酸化物を含み、充放電サイクル後の蓄電素子の放電容量維持率の低下を抑制できる蓄電素子用の正極活物質、並びにこのような蓄電素子用の正極活物質を備える蓄電素子用の正極及び蓄電素子を提供することを目的とする。
【課題を解決するための手段】
【0007】
本発明の一側面に係る蓄電素子用の正極活物質は、スピネル型結晶構造を有するリチウム遷移金属酸化物と、上記リチウム遷移金属酸化物を均一に被覆する被覆層とを有し、上記被覆層がニオブ元素又はリン元素を含み、上記リチウム遷移金属酸化物及び上記被覆層の合計質量[g]に対する上記ニオブ元素及び上記リン元素の合計質量[mg]の比をA[mg/g]とし、上記リチウム遷移金属酸化物及び上記被覆層からなる部分のBET比表面積をB[m
2
/g]とした場合に、A/Bが0.4mg/m
2
以上9.0mg/m
2
以下である。
【0008】
本発明の他の一側面に係る蓄電素子用の正極は、本発明の一側面に係る蓄電素子用の正極活物質を備える。
【0009】
本発明の他の一側面に係る蓄電素子は、本発明の一側面に係る蓄電素子用の正極を備える。
【発明の効果】
【0010】
本発明のいずれかの一側面によれば、スピネル型結晶構造を有するリチウム遷移金属酸化物を含み、充放電サイクル後の蓄電素子の放電容量維持率の低下を抑制できる蓄電素子用の正極活物質、並びにこのような蓄電素子用の正極活物質を備える蓄電素子用の正極及び蓄電素子を提供することができる。
【図面の簡単な説明】
(【0011】以降は省略されています)
この特許をJ-PlatPat(特許庁公式サイト)で参照する
関連特許
株式会社GSユアサ
蓄電装置
22日前
株式会社GSユアサ
蓄電設備
1か月前
株式会社GSユアサ
蓄電装置
28日前
株式会社GSユアサ
蓄電装置
今日
株式会社GSユアサ
蓄電設備
1か月前
株式会社GSユアサ
蓄電装置
8日前
株式会社GSユアサ
蓄電装置
22日前
株式会社GSユアサ
蓄電装置
14日前
株式会社GSユアサ
蓄電バンクの監視システム
13日前
株式会社GSユアサ
電力変換器、充電装置及び車両
1か月前
株式会社GSユアサ
非水電解質蓄電素子及びその製造方法
15日前
株式会社GSユアサ
非水電解質蓄電素子及びその使用方法
1日前
株式会社GSユアサ
デバイス装置、エネルギー貯蔵システム
13日前
株式会社GSユアサ
電力変換器、多脚トランス、充電装置及び車両
1か月前
株式会社GSユアサ
蓄電素子用の正極活物質、蓄電素子用の正極及び蓄電素子
1か月前
株式会社GSユアサ
蓄電素子
1か月前
株式会社GSユアサ
鉛蓄電池用正極集電体、および鉛蓄電池用集電体の製造方法
1か月前
株式会社GSユアサ
蓄電システム
2日前
株式会社GSユアサ
蓄電情報処理方法、コンピュータプログラム及び蓄電情報処理装置
1か月前
株式会社GSユアサ
充放電ステーション
1か月前
株式会社GSユアサ
情報処理装置及び端末装置
1か月前
株式会社GSユアサ
蓄電装置、組電池の異常検出方法
1か月前
株式会社GSユアサ
硫化物固体電解質及び全固体電池
23日前
株式会社GSユアサ
蓄電装置、電流遮断装置の制御方法
今日
株式会社GSユアサ
回収支援装置、回収支援システム及び回収支援方法
1か月前
株式会社GSユアサ
制御方法、制御装置、及びコンピュータプログラム
21日前
株式会社GSユアサ
情報処理装置、情報処理システム、情報処理方法及びコンピュータプログラム
23日前
株式会社GSユアサ
硫化物固体電解質の製造方法、硫化物固体電解質、全固体電池、及び硫化物固体電解質の製造に用いる原料化合物の選択方法
1か月前
株式会社GSユアサ
硫化物固体電解質の製造方法、硫化物固体電解質、全固体電池、及び硫化物固体電解質の製造に用いる原料化合物の選択方法
8日前
APB株式会社
蓄電セル
27日前
東ソー株式会社
絶縁電線
29日前
個人
フレキシブル電気化学素子
1か月前
株式会社東芝
端子台
21日前
株式会社ユーシン
操作装置
1か月前
日新イオン機器株式会社
イオン源
1か月前
マクセル株式会社
電源装置
21日前
続きを見る
他の特許を見る