TOP
|
特許
|
意匠
|
商標
特許ウォッチ
Twitter
他の特許を見る
公開番号
2025170422
公報種別
公開特許公報(A)
公開日
2025-11-18
出願番号
2025146395,2024541009
出願日
2025-09-03,2023-09-13
発明の名称
蓄電システム
出願人
株式会社GSユアサ
代理人
個人
,
個人
主分類
H02J
7/00 20060101AFI20251111BHJP(電力の発電,変換,配電)
要約
【課題】組立性およびメンテナンス性が向上された蓄電システムを提供する。
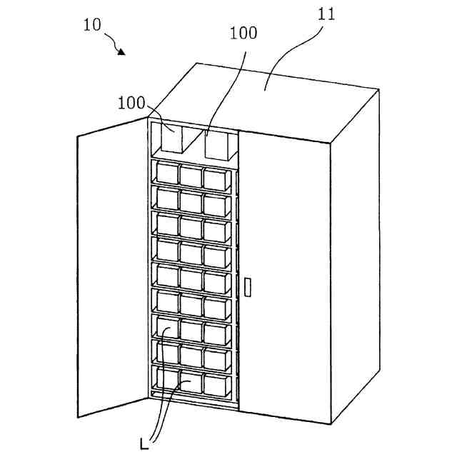
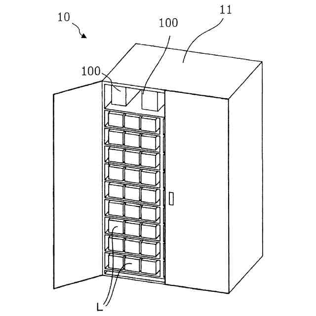
【解決手段】蓄電システム10は、筐体11と、複数の蓄電素子Lが直列接続されて構成されるバンクと、前記複数の蓄電素子Lを異常から保護する保護ユニット100と、を備え、複数の前記バンクが前記筐体11に収納され、前記複数のバンクごとに設けられる複数の前記保護ユニット100が、それぞれ取り外し可能に前記筐体11に収納され、筐体11内で横方向に並べて配置される。
【選択図】図1
特許請求の範囲
【請求項1】
筐体と、
複数の蓄電素子が直列に接続されて構成されるバンクと、
前記複数の蓄電素子を異常から保護する保護ユニットと、を備え、
複数の前記バンクが前記筐体に収納されると共に前記筐体内で並列接続され、各バンクを構成する前記複数の蓄電素子が、前記筐体内で縦方向に並べて配置され、
前記複数のバンクごとに設けられる複数の前記保護ユニットが、それぞれ取り外し可能に前記筐体に収納され、各バンクの前記保護ユニットが、各バンクの上方または下方に配置され、前記複数の保護ユニットは前記筐体内で横方向に並べて配置され、
前記筐体に収納した各保護ユニットの前記横方向の寸法は、前記筐体に収納した各蓄電素子の前記横方向の寸法に対応する、
蓄電システム。
続きを表示(約 570 文字)
【請求項2】
3つ以上の前記バンクが前記筐体に収納され、
前記筐体内で前記縦方向に並べて配置されて一のバンクを構成する蓄電素子と、前記筐体内で前記縦方向に並べて配置されて他のバンクを構成する蓄電素子とが、バンク間クリアランスを隔てて前記横方向に対向している、
請求項1に記載の蓄電システム。
【請求項3】
3つ以上の前記保護ユニットが前記筐体に収納され、一の保護ユニットと、他の保護ユニットとが、クリアランスを隔てて前記横方向に対向している、
請求項2に記載の蓄電システム。
【請求項4】
前記保護ユニットのそれぞれは、その前面に、対応する前記バンクの通電状態を示す表示部を有する、
請求項3に記載の蓄電システム。
【請求項5】
前記蓄電素子は、前記筐体の前面から背面に向かって延びる長尺の形状を有し、
前記筐体は、金属製であり、縦方向に間隔をあけて設けられた複数の板を有し、
前記複数の板は、前記筐体の前面から背面にわたって前記複数の蓄電素子を下方から支持する、
請求項2に記載の蓄電システム。
【請求項6】
前記筐体は、その前面に開閉扉を有し、背面に排気口を有する、
請求項5に記載の蓄電システム。
発明の詳細な説明
【技術分野】
【0001】
本発明の一態様は、蓄電システムに関する。
続きを表示(約 920 文字)
【背景技術】
【0002】
特許文献1は、コンテナ型蓄電ユニットを開示している。コンテナ内に配置される電池盤に、複数の蓄電モジュールが支持されている。
【先行技術文献】
【特許文献】
【0003】
特許第6455282号
【発明の概要】
【発明が解決しようとする課題】
【0004】
産業用蓄電システムの分野では、数百ボルト[V]から1000V超の高電圧を発生するために、複数の蓄電素子を直列接続した構成を、バンクと称する。特許文献1では、コンテナ内に配置される単一の制御装置が、複数のバンクの充放電を制御している。
【0005】
再生可能エネルギーの利用拡大や、エネルギーマネジメントの促進のために、蓄電システムに対するニーズが高まっている。蓄電システムの組立費用やメンテナンス費用を含む、蓄電システムのトータルコストの低減が求められている。
【0006】
本発明の一態様は、組立性およびメンテナンス性が向上された蓄電システム(ESS)を提供する。
【課題を解決するための手段】
【0007】
本発明の一態様に係る蓄電システムは、筐体と、複数の蓄電素子が直列接続されて構成されるバンクと、前記バンクの電力ラインを開閉する保護ユニットと、を備え、複数の前記バンクが前記筐体に収納され、前記複数のバンクごとに設けられる複数の前記保護ユニットが、それぞれ取り外し可能に前記筐体に収納されている。
【発明の効果】
【0008】
上記態様によれば、組立性およびメンテナンス性が向上された蓄電システムを提供できる。
【図面の簡単な説明】
【0009】
蓄電システムの斜視図である。
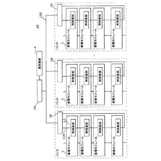
蓄電システムの電気的構成を示すブロック図である。
保護ユニットの斜視図である。
保護ユニットの電気的構成を示すブロック図である。
【発明を実施するための形態】
【0010】
以下、実施形態の概要を説明する。
(【0011】以降は省略されています)
この特許をJ-PlatPat(特許庁公式サイト)で参照する
関連特許
株式会社GSユアサ
蓄電設備
1か月前
株式会社GSユアサ
蓄電装置
20日前
株式会社GSユアサ
蓄電装置
26日前
株式会社GSユアサ
PCS盤
1か月前
株式会社GSユアサ
蓄電設備
1か月前
株式会社GSユアサ
蓄電装置
20日前
株式会社GSユアサ
蓄電装置
6日前
株式会社GSユアサ
蓄電装置
12日前
株式会社GSユアサ
蓄電バンクの監視システム
11日前
株式会社GSユアサ
電力変換器、充電装置及び車両
1か月前
株式会社GSユアサ
非水電解質蓄電素子及びその製造方法
13日前
株式会社GSユアサ
デバイス装置、エネルギー貯蔵システム
11日前
株式会社GSユアサ
電力変換器、多脚トランス、充電装置及び車両
1か月前
株式会社GSユアサ
エネルギー貯蔵システム、蓄電バンクの初期充電方法
1か月前
株式会社GSユアサ
電力変換器、電力変換器の制御方法、充電装置及び車両
1か月前
株式会社GSユアサ
蓄電素子用の正極活物質、蓄電素子用の正極及び蓄電素子
1か月前
株式会社GSユアサ
蓄電素子
1か月前
株式会社GSユアサ
エネルギー貯蔵システム、蓄電池盤の満充電容量計測方法。
1か月前
株式会社GSユアサ
鉛蓄電池用正極集電体、および鉛蓄電池用集電体の製造方法
1か月前
株式会社GSユアサ
蓄電システム
今日
株式会社GSユアサ
蓄電情報処理方法、コンピュータプログラム及び蓄電情報処理装置
28日前
株式会社GSユアサ
充放電ステーション
1か月前
株式会社GSユアサ
情報処理装置及び端末装置
1か月前
株式会社GSユアサ
蓄電装置、組電池の異常検出方法
1か月前
株式会社GSユアサ
硫化物固体電解質及び全固体電池
21日前
株式会社GSユアサ
回収支援装置、回収支援システム及び回収支援方法
1か月前
株式会社GSユアサ
制御方法、制御装置、及びコンピュータプログラム
19日前
株式会社GSユアサ
情報処理装置、情報処理システム、情報処理方法及びコンピュータプログラム
21日前
株式会社GSユアサ
硫化物固体電解質の製造方法、硫化物固体電解質、全固体電池、及び硫化物固体電解質の製造に用いる原料化合物の選択方法
1か月前
株式会社GSユアサ
硫化物固体電解質の製造方法、硫化物固体電解質、全固体電池、及び硫化物固体電解質の製造に用いる原料化合物の選択方法
6日前
個人
単極モータ
1か月前
個人
電気を重力で発電装置
12日前
キヤノン電子株式会社
モータ
11日前
キヤノン電子株式会社
モータ
19日前
株式会社アイシン
ロータ
1か月前
株式会社アイシン
ロータ
1か月前
続きを見る
他の特許を見る