TOP
|
特許
|
意匠
|
商標
特許ウォッチ
Twitter
他の特許を見る
10個以上の画像は省略されています。
公開番号
2025171678
公報種別
公開特許公報(A)
公開日
2025-11-20
出願番号
2024077261
出願日
2024-05-10
発明の名称
電源回路
出願人
矢崎総業株式会社
代理人
個人
,
個人
,
個人
主分類
H02M
7/12 20060101AFI20251113BHJP(電力の発電,変換,配電)
要約
【課題】単相交流電源および三相交流電源の両方に対応した低コストの電源回路を提供する。
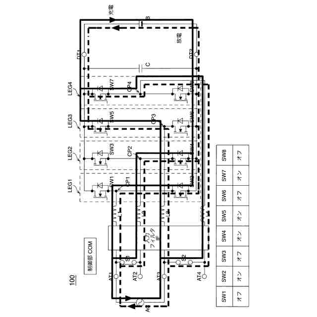
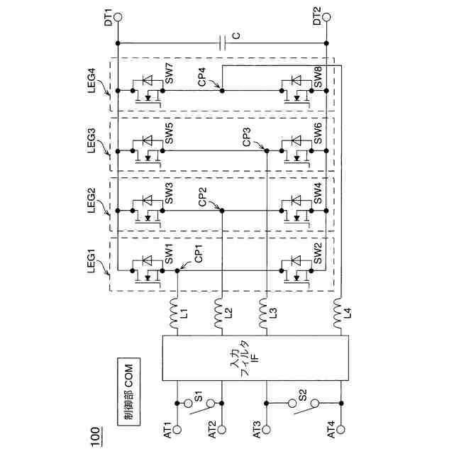
【解決手段】交流電力を入出力するための4つの交流電力用端子と、直流電力を入出力するための2つの直流電力用端子と、各々が2つのスイッチング素子を有する4つのレグと、コンデンサと、を有し、前記4つのレグと前記コンデンサは、前記2つの直流電力用端子の間に、並列に接続され、前記4つの交流用端子と前記4つのレグとは、一対一対応しており、前記4つの交流用端子の各々は、対応するレグの2つのスイッチング素子の間にある接続点において、インダクタを介して、当該対応するレグに接続され、前記4つの交流用端子のうちの2つの交流用端子の間に第1のスイッチが接続され、前記4つの交流用端子のうちの残りの2つの交流用端子の間に第2のスイッチが接続されている。
【選択図】図1
特許請求の範囲
【請求項1】
交流電力を入出力するための4つの交流電力用端子と、
直流電力を入出力するための2つの直流電力用端子と、
各々が2つのスイッチング素子を有する4つのレグと、
コンデンサと、を有し、
前記4つのレグと前記コンデンサは、前記2つの直流電力用端子の間に、並列に接続され、
前記4つの交流用端子と前記4つのレグとは、一対一対応しており、
前記4つの交流用端子の各々は、対応するレグの2つのスイッチング素子の間にある接続点において、インダクタを介して、当該対応するレグに接続され、
前記4つの交流用端子のうちの2つの交流用端子の間に第1のスイッチが接続され、前記4つのレグのうちの残りの2つの交流用端子の間に第2のスイッチが接続されている、電源回路。
続きを表示(約 1,000 文字)
【請求項2】
前記第1のスイッチ、前記第2のスイッチ、および前記4つのレグのスイッチング素子を制御する制御部をさらに有する、請求項1に記載の電源回路。
【請求項3】
前記制御部は、前記交流電力用端子に単相交流電源が接続されているならば、
前記第1のスイッチと前記第2のスイッチを閉じるように制御し、
前記4つのレグのスイッチング素子に対して、単相交流電力を直流電流に変換する際のスイッチング制御を行う、請求項2に記載の電源回路。
【請求項4】
前記制御部は、前記交流電力用端子に4線式の三相交流電源が接続されているならば、
前記第1のスイッチと前記第2のスイッチを開くように制御し、
前記4つのレグのスイッチング素子に対して、三相交流電力を直流電流に変換する際のスイッチング制御を行う、請求項3に記載の電源回路。
【請求項5】
前記制御部は、前記交流電力用端子に3線式の三相交流電源が接続されているならば、
前記第1のスイッチと前記第2のスイッチを開くように制御し、
前記三相交流電源が接続されていない交流電力用電源に対応するレグのスイッチング素子を常に開くように制御し、
前記三相交流電源が接続されている交流電力用電源に対応するレグのスイッチング素子に対して、三相交流電力を直流電流に変換する際のスイッチング制御を行う、請求項3または4に記載の電源回路。
【請求項6】
請求項1に記載の電源回路を制御するための、コンピュータにより実行される制御方法であって、
前記第1のスイッチと前記第2のスイッチを制御する工程と、
前記4つのレグのスイッチング素子を制御する工程と、を有し、
前記交流電力用端子に単相交流電源が接続されているならば、
前記第1のスイッチと前記第2のスイッチを制御する工程において、前記第1のスイッチと前記第2のスイッチを閉じるように制御し、
前記4つのレグのスイッチング素子を制御する工程において、前記4つのレグのスイッチング素子に対して、単相交流電力を直流電流に変換する際のスイッチング制御を行う、制御方法。
【請求項7】
請求項6に記載の制御方法を、コンピュータに実行させる制御プログラム。
発明の詳細な説明
【技術分野】
【0001】
本発明は、電源回路に関する。
続きを表示(約 1,900 文字)
【背景技術】
【0002】
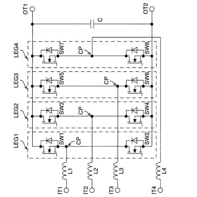
4線式の三相交流を直流に変換するコンバータとして、4レグ方式ACDCコンバータが開発されている。この4レグ方式ACDCコンバータでは、図9に示すように、2つの出力端子OT1、OT2の間に、4つのレグ(第1~第4のレグLEG1~LEG4)とコンデンサが並列に接続されており、3本の電圧線が接続される第1~第3の入力端子IT1~IT3が、インダクタを介して、第1~第3のレグLEG1~LEG3の接続点CPに接続され、中性線が接続される第4の入力端子IT4が、第4のレグLEG4の接続点CPに接続され、第1~3の入力端子IT1~IT3から入力された交流電力が直流電力に変換され、出力端子OT1、OT2から出力される。
【0003】
4レグ方式ACDCコンバータでは、負荷変動や電源欠相時にコンデンサCの電圧のアンバランスが生じたときに、第4のレグLEG4のスイッチング素子SW7、SW8を制御することにより、アンバランス電流を引き抜き、コンデンサの電圧のアンバランスを抑制している。例えば、特許文献1には、4レグ方式ACDCコンバータを用いた回路が開示されている。
【先行技術文献】
【特許文献】
【0004】
特開2010-41744号公報
【発明の概要】
【発明が解決しようとする課題】
【0005】
電気自動車が普及し、電気自動車用の充電装置も普及してきている。現在設置されている充電装置の仕様には様々な種類があり、例えば、三相22kW/32A、三相11kW/16A、単相11kW/48A、単相7.2kW/32A、単相3.6kW/16Aがある。車載充電器側としては、搭載されるバッテリ容量や充電時間の関係から7.2kWや11kWの充電能力が求められる場合が多い。ここで、三相の充電装置を利用可能な地域については、より少ない電流値で11kWの充電が可能(11kW/16A)であるが、依然として広い地域に単相7.2kW/32Aの充電装置が設置されている状況があるため、三相11kW/16Aと単相7.2kW/32Aの両立性(コンパチブル)を確保することが、広い地域で充電を行うために求められる。
【0006】
図9に示した4レグ方式ACDCコンバータを三相11kW/16Aでの充電に対応させるためには、スイッチング素子SW1~SW8を16Aクラスにすれば良い。しかしながら、図9に示した4レグ方式ACDCコンバータを単相7.2kW/36Aでの充電にも対応させようとすると、スイッチング素子SW1~SW8を32Aクラスにする必要があり、コストが高くなってしまう。
【0007】
そこで、本発明は、単相交流電源および三相交流電源の両方に対応した低コストの電源回路を提供することを目的とする。
【課題を解決するための手段】
【0008】
上記課題を解決するため、本発明に係る一実施形態に係る電源回路は、交流電力を入出力するための4つの交流電力用端子と、直流電力を入出力するための2つの直流電力用端子と、各々が2つのスイッチング素子を有する4つのレグと、コンデンサと、を有し、
前記4つのレグと前記コンデンサは、前記2つの直流電力用端子の間に、並列に接続され、前記4つの交流用端子と前記4つのレグとは、一対一対応しており、前記4つの交流用端子の各々は、対応するレグの2つのスイッチング素子の間にある接続点において、インダクタを介して、当該対応するレグに接続され、前記4つの交流用端子のうちの2つの交流用端子の間に第1のスイッチが接続され、前記4つのレグのうちの残りの2つの交流用端子の間に第2のスイッチが接続されている。
【0009】
本発明の一実施形態に係る制御方法は、上記電源回路を制御するための、コンピュータにより実行される制御方法であって、前記第1のスイッチS1と前記第2のスイッチを制御する工程と、前記4つのレグのスイッチング素子を制御する工程と、を有し、前記交流電力用端子に単相交流電源が接続されているならば、前記第1のスイッチS1と前記第2のスイッチを制御する工程において、前記第1のスイッチと前記第2のスイッチを閉じるように制御し、前記4つのレグのスイッチング素子を制御する工程において、前記4つのレグのスイッチング素子に対して、単相交流電力を直流電流に変換する際のスイッチング制御を行う。
【0010】
本発明の一実施形態に係る制御プログラムは、上記制御方法を、コンピュータに実行させる制御プログラム。
【発明の効果】
(【0011】以降は省略されています)
この特許をJ-PlatPat(特許庁公式サイト)で参照する
関連特許
矢崎総業株式会社
端子
13日前
矢崎総業株式会社
端子台
1日前
矢崎総業株式会社
端子台
8日前
矢崎総業株式会社
端子台
8日前
矢崎総業株式会社
端子台
8日前
矢崎総業株式会社
端子台
8日前
矢崎総業株式会社
端子台
1日前
矢崎総業株式会社
端子台
1日前
矢崎総業株式会社
端子台
1日前
矢崎総業株式会社
コネクタ
13日前
矢崎総業株式会社
接合装置
6日前
矢崎総業株式会社
コネクタ
7日前
矢崎総業株式会社
コネクタ
7日前
矢崎総業株式会社
コネクタ
1日前
矢崎総業株式会社
コネクタ
6日前
矢崎総業株式会社
バスバー
2日前
矢崎総業株式会社
コネクタ
6日前
矢崎総業株式会社
コネクタ
6日前
矢崎総業株式会社
コネクタ
13日前
矢崎総業株式会社
給電装置
14日前
矢崎総業株式会社
コネクタ
14日前
矢崎総業株式会社
電源回路
21日前
矢崎総業株式会社
コネクタ
21日前
矢崎総業株式会社
コネクタ
21日前
矢崎総業株式会社
電気接続箱
8日前
矢崎総業株式会社
光ケーブル
2日前
矢崎総業株式会社
電流センサ
7日前
矢崎総業株式会社
端子防水構造
7日前
矢崎総業株式会社
バスバー電線
14日前
矢崎総業株式会社
バスバー電線
14日前
矢崎総業株式会社
照明ユニット
15日前
矢崎総業株式会社
端子防水構造
7日前
矢崎総業株式会社
連結コネクタ
21日前
矢崎総業株式会社
抵抗溶接装置
6日前
矢崎総業株式会社
抵抗溶接装置
6日前
矢崎総業株式会社
電線固定構造
6日前
続きを見る
他の特許を見る