TOP
|
特許
|
意匠
|
商標
特許ウォッチ
Twitter
他の特許を見る
公開番号
2025176461
公報種別
公開特許公報(A)
公開日
2025-12-04
出願番号
2024082635
出願日
2024-05-21
発明の名称
端子防水構造
出願人
矢崎総業株式会社
代理人
個人
,
個人
,
個人
主分類
H01R
13/52 20060101AFI20251127BHJP(基本的電気素子)
要約
【課題】熱収縮チューブ等を用いることなく、防水性能を向上することができる端子防水構造を提供する。
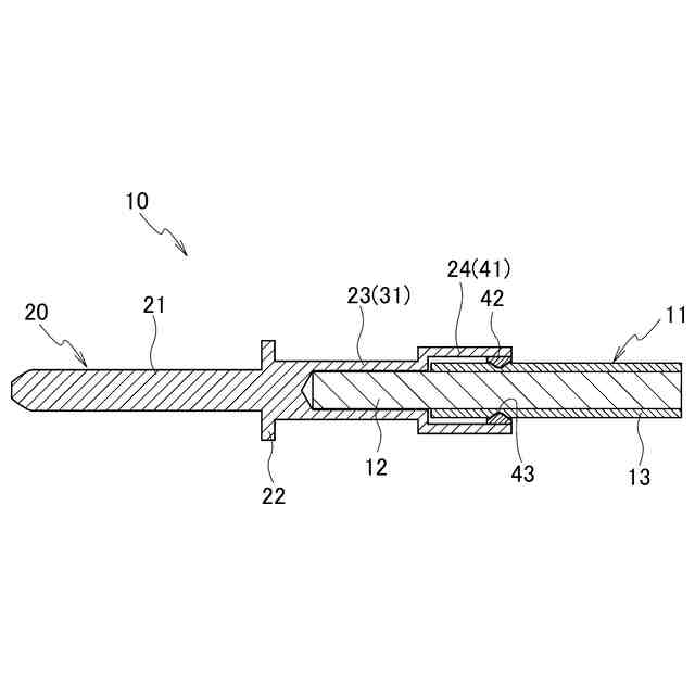
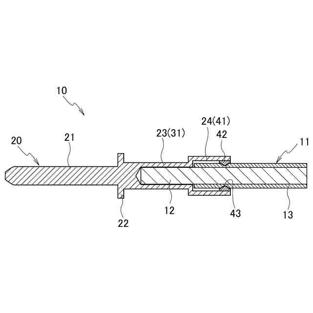
【解決手段】端子防水構造10は、芯線12及び絶縁被覆13を有する電線11と、電線11の端末部に装着された端子20とを備える。端子20は、端子20の前端部に形成され、相手端子が電気的に接続される端子接続部21と、端子20の後端側に筒状に形成され、内部に絶縁被覆13から露出した芯線12が配置される電線接続部23とを有する。端子20は、電線接続部23に隣接して端子20の後端部に筒状に形成され、内部に絶縁被覆13が配置される端子防水部24を有する。端子防水部24の内周には、絶縁被覆13の外周と端子防水部24の内周との間をシールするパッキン42が配置されている。
【選択図】図3
特許請求の範囲
【請求項1】
芯線及び絶縁被覆を有する電線と、
前記電線の端末部に装着された端子と、を備え、
前記端子は、
前記端子の前端部に形成され、相手端子が電気的に接続される端子接続部と、
前記端子の後端側に筒状に形成され、内部に前記絶縁被覆から露出した前記芯線が配置される電線接続部と、
前記電線接続部に隣接して前記端子の後端部に筒状に形成され、内部に前記絶縁被覆が配置される端子防水部と、を有し、
前記端子防水部の内周には、前記絶縁被覆の外周と前記端子防水部の内周との間をシールするシール部材が配置されている、
端子防水構造。
続きを表示(約 120 文字)
【請求項2】
前記シール部材の内周には、周方向に沿って延びる環状の突状部が形成されている、請求項1に記載の端子防水構造。
【請求項3】
前記突状部が、前記絶縁被覆に食い込んでいる、請求項2に記載の端子防水構造。
発明の詳細な説明
【技術分野】
【0001】
本発明は、端子防水構造に関する。
続きを表示(約 1,400 文字)
【背景技術】
【0002】
従来から、電気自動車及びプラグインハイブリッド自動車等の車両に搭載されたバッテリに車両外部から電力を供給(充電)するために、充電コネクタ及び充電ポート(充電インレット)を含む充電システムが利用されている(例えば、特許文献1参照)。特許文献1に記載されている充電インレットでは、ハウジング内にはパワー端子及び信号端子等の端子が収容され、端子に接続された電線がハウジングから後方に引き出され、リテーナによって、それらの端子が一括して抜け止めされている。
【先行技術文献】
【特許文献】
【0003】
特開2017-220355号公報
【発明の概要】
【発明が解決しようとする課題】
【0004】
例えば、電気自動車及びプラグインハイブリッド自動車等の車両の充電システムにおいては、雨水等が端子の内部に浸入することを防止する防水性能が要求される。しかしながら、従来の一般的な端子防水構造(防水圧着端子)は、端子と電線との接続箇所をテープ巻きしたり、端子と電線との接続箇所に熱収縮チューブを被せて加熱する等の工程を行う必要があった。
【0005】
本発明は、このような従来技術が有する課題に鑑みてなされたものである。そして本発明の目的は、熱収縮チューブ等を用いることなく、防水性能を向上することができる端子防水構造を提供することにある。
【課題を解決するための手段】
【0006】
本発明の態様に係る端子防水構造は、芯線及び絶縁被覆を有する電線と、電線の端末部に装着された端子と、を備え、端子は、端子の前端部に形成され、相手端子が電気的に接続される端子接続部と、端子の後端側に筒状に形成され、内部に絶縁被覆から露出した芯線が配置される電線接続部と、電線接続部に隣接して端子の後端部に筒状に形成され、内部に絶縁被覆が配置される端子防水部と、を有し、端子防水部の内周には、絶縁被覆の外周と端子防水部の内周との間をシールするシール部材が配置されている。
【発明の効果】
【0007】
本発明によれば、熱収縮チューブ等を用いることなく、防水性能を向上することができる端子防水構造を提供することができる。
【図面の簡単な説明】
【0008】
本実施形態に係る端子防水構造が適用されるコネクタの分解斜視図である。
本実施形態に係る端子防水構造の一例を示す斜視図である。
本実施形態に係る端子防水構造の側断面図である。
端子防水構造を構成する端子の斜視図である。
端子防水構造を構成する端子の側断面図である。
【発明を実施するための形態】
【0009】
以下、図面を用いて本実施形態に係る端子防水構造について詳細に説明する。なお、図面の寸法比率は説明の都合上誇張されており、実際の比率と異なる場合がある。
【0010】
本実施形態に係る端子防水構造(防水圧着端子)は、例えば、車両に搭載されるバッテリを充電する際に用いられる充電コネクタ又は車両の充電ポートに配置される充電インレット等に適用することが可能である。
(【0011】以降は省略されています)
この特許をJ-PlatPat(特許庁公式サイト)で参照する
関連特許
矢崎総業株式会社
端子
6日前
矢崎総業株式会社
端子
1か月前
矢崎総業株式会社
箱状体
1か月前
矢崎総業株式会社
端子台
1日前
矢崎総業株式会社
箱状体
1か月前
矢崎総業株式会社
端子台
1日前
矢崎総業株式会社
端子台
1日前
矢崎総業株式会社
端子台
1日前
矢崎総業株式会社
箱状体
1か月前
矢崎総業株式会社
箱状体
1か月前
矢崎総業株式会社
箱状体
1か月前
矢崎総業株式会社
給電装置
7日前
矢崎総業株式会社
バスバー
1か月前
矢崎総業株式会社
コネクタ
14日前
矢崎総業株式会社
報知装置
1か月前
矢崎総業株式会社
コネクタ
15日前
矢崎総業株式会社
照明装置
1か月前
矢崎総業株式会社
照明装置
1か月前
矢崎総業株式会社
照明装置
1か月前
矢崎総業株式会社
コネクタ
7日前
矢崎総業株式会社
コネクタ
29日前
矢崎総業株式会社
コネクタ
29日前
矢崎総業株式会社
コネクタ
1か月前
矢崎総業株式会社
照明装置
1か月前
矢崎総業株式会社
コネクタ
1か月前
矢崎総業株式会社
接続構造
1か月前
矢崎総業株式会社
コネクタ
1か月前
矢崎総業株式会社
コネクタ
6日前
矢崎総業株式会社
照明構造
2か月前
矢崎総業株式会社
コネクタ
2か月前
矢崎総業株式会社
コネクタ
2か月前
矢崎総業株式会社
コネクタ
今日
矢崎総業株式会社
コネクタ
今日
矢崎総業株式会社
コネクタ
1か月前
矢崎総業株式会社
コネクタ
1か月前
矢崎総業株式会社
コネクタ
1か月前
続きを見る
他の特許を見る