TOP
|
特許
|
意匠
|
商標
特許ウォッチ
Twitter
他の特許を見る
公開番号
2025175448
公報種別
公開特許公報(A)
公開日
2025-12-03
出願番号
2024081572
出願日
2024-05-20
発明の名称
端子台
出願人
矢崎総業株式会社
代理人
弁理士法人虎ノ門知的財産事務所
主分類
H01R
9/22 20060101AFI20251126BHJP(基本的電気素子)
要約
【課題】バスバの共回りを適正に抑制することができる端子台を提供することを目的とする。
【解決手段】端子台1は、軸線方向Xに沿って延在し、外部端子2と接続されるバスバ10と、バスバ10を保持するハウジング20と、バスバ10および外部端子2をハウジング20に対して締結方向Zに沿って締結する締結部材30と、を備え、ハウジング20は、バスバ10の幅方向Yの一端部を支持する第1回り止め部25と、バスバ10の幅方向Yの他端部を支持する第2回り止め部26と、を有し、第1回り止め部25は、軸線方向Xにおいて締結部材30と幅方向Yに重なる位置に設けられ、第2回り止め部26は、軸線方向Xにおいて締結部材30および第1回り止め部25と離間する位置に設けられる。
【選択図】図4
特許請求の範囲
【請求項1】
軸線方向に沿って延在し、外部端子と接続されるバスバと、
前記バスバを保持するハウジングと、
前記バスバおよび前記外部端子を前記ハウジングに対して前記軸線方向と交差する締結方向に沿って締結する締結部材と、を備え、
前記ハウジングは、前記バスバの前記軸線方向および前記締結方向と交差する幅方向の一端部を支持する第1回り止め部と、前記バスバの前記幅方向の他端部を支持する第2回り止め部と、を有し、
前記第1回り止め部は、前記軸線方向において前記締結部材と前記幅方向に重なる位置に設けられ、前記第2回り止め部は、前記軸線方向において前記締結部材および前記第1回り止め部と離間する位置に設けられる、
端子台。
続きを表示(約 280 文字)
【請求項2】
前記第1回り止め部は、前記バスバにおける前記締結部材を間に挟んだ前記幅方向の両側に一対で設けられ、
前記第2回り止め部は、一対の前記第1回り止め部に対して離間した状態で前記バスバの前記幅方向の両側に一対で設けられる、
請求項1に記載の端子台。
【請求項3】
前記ハウジングは、前記バスバが前記軸線方向に沿って挿入される挿入孔を含んで構成され、
前記第2回り止め部は、前記挿入孔の内側に設けられ、
前記第1回り止め部は、前記挿入孔の外側に設けられる、
請求項1または2に記載の端子台。
発明の詳細な説明
【技術分野】
【0001】
本発明は、端子台に関する。
続きを表示(約 1,900 文字)
【背景技術】
【0002】
従来の端子台に関連する技術として、例えば、特許文献1には、検出端子と接続される接続端子(バスバ)と、接続端子を保持するハウジングと、接続端子および検出端子をハウジングに対して締結する締結部材と、締結部材の締結に伴う接続端子の共回りを阻止する回転阻止壁と、を備えた組電池が開示されている。回転阻止壁は、接続端子の傾斜面側の一端部と当接している一方で、接続端子の水平面側の他端部とは離間している。
【先行技術文献】
【特許文献】
【0003】
特開2010-176997号公報
【発明の概要】
【発明が解決しようとする課題】
【0004】
ところで、この種の端子台では、例えば、バスバの共回りを適正に抑制する点で更なる改善の余地があった。
【0005】
本発明は、上記の事情に鑑みてなされたものであって、バスバの共回りを適正に抑制することができる端子台を提供することを目的とする。
【課題を解決するための手段】
【0006】
上記目的を達成するために、本発明に係る端子台は、軸線方向に沿って延在し、外部端子と接続されるバスバと、前記バスバを保持するハウジングと、前記バスバおよび前記外部端子を前記ハウジングに対して前記軸線方向と交差する締結方向に沿って締結する締結部材と、を備え、前記ハウジングは、前記バスバの前記軸線方向および前記締結方向と交差する幅方向の一端部を支持する第1回り止め部と、前記バスバの前記幅方向の他端部を支持する第2回り止め部と、を有し、前記第1回り止め部は、前記軸線方向において前記締結部材と前記幅方向に重なる位置に設けられ、前記第2回り止め部は、前記軸線方向において前記締結部材および前記第1回り止め部と離間する位置に設けられる。
【発明の効果】
【0007】
本発明に係る端子台では、第1回り止め部は、軸線方向において締結部材と幅方向に重なる位置に設けられ、第2回り止め部は、軸線方向において締結部材および第1回り止め部と離間する位置に設けられる。この構成により、端子台は、例えば、第1回り止め部および第2回り止め部によって締結部材の締結に伴うバスバの共回りを抑制することで、当該バスバの共回りによって生じる応力を第1回り止め部および第2回り止め部のそれぞれに分散させることができ、ひいてはハウジングに局所的に応力が集中することを抑制できる。この結果、端子台は、バスバの共回りを適正に抑制することができる、という効果を奏する。
【図面の簡単な説明】
【0008】
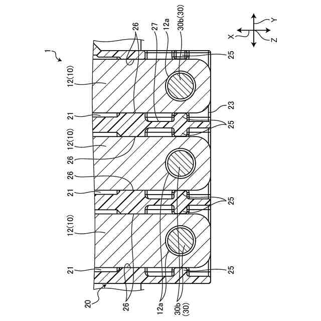
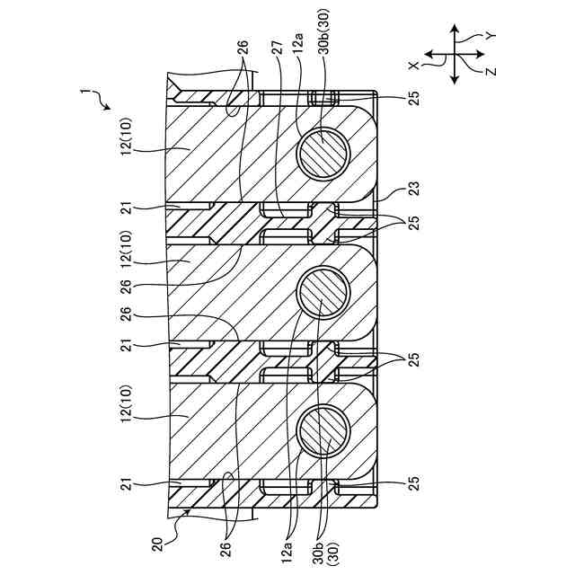
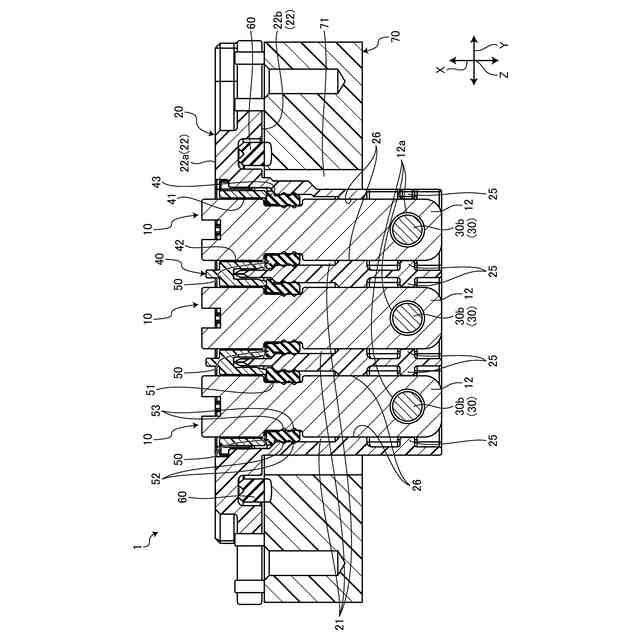
図1は、実施形態に係る端子台の例示的な斜視図である。
図2は、実施形態に係る端子台の例示的な分解斜視図である。
図3は、実施形態に係る端子台の例示的な断面図である。
図4は、実施形態に係る端子台の例示的な断面図であって、第1回り止め部および第2回り止め部の拡大図である。
【発明を実施するための形態】
【0009】
以下、本発明に係る実施形態を図面に基づいて詳細に説明する。なお、下記実施形態によりこの発明が限定されるものではない。また、下記実施形態における構成要素には、当業者が置換可能かつ容易なもの、あるいは実質的に同一のものが含まれる。なお、本明細書では、序数は、部品や、部材、部位、位置、方向等を区別するためだけに用いられており、順番や優先度を示すものではない。
【0010】
[実施形態]
図1は、実施形態に係る端子台1の斜視図である。図1に示される本実施形態の端子台1は、例えば、電気自動車やハイブリッド自動車等の車両に搭載され、取付対象物70に取り付けられると共に、不図示の第1機器と第2機器との電気的接続を中継するものである。本実施形態の端子台1は、複数のバスバ10を含んで構成され、当該複数のバスバ10の一端部に設けられた第1接続部11に対して第1機器の外部端子が電気的に接続される。また、本実施形態の端子台1は、複数のバスバ10の他端部に設けられた第2接続部12に対して第2機器の外部端子2が電気的に接続される。第1機器は、例えば、モータおよびインバータのうちの一方であり、第2機器は、例えば、モータおよびインバータのうちの他方である。なお、端子台1は、この例には限定されず、例えば、第1機器または第2機器と配索材との中継や、配索材と配索材との中継等に用いられてもよい。
(【0011】以降は省略されています)
この特許をJ-PlatPat(特許庁公式サイト)で参照する
関連特許
矢崎総業株式会社
端子
5日前
矢崎総業株式会社
端子
1か月前
矢崎総業株式会社
箱状体
1か月前
矢崎総業株式会社
箱状体
29日前
矢崎総業株式会社
箱状体
29日前
矢崎総業株式会社
照明灯
2か月前
矢崎総業株式会社
箱状体
29日前
矢崎総業株式会社
端子台
今日
矢崎総業株式会社
端子台
今日
矢崎総業株式会社
端子台
今日
矢崎総業株式会社
端子台
今日
矢崎総業株式会社
箱状体
1か月前
矢崎総業株式会社
照明構造
2か月前
矢崎総業株式会社
止水部材
2か月前
矢崎総業株式会社
コネクタ
13日前
矢崎総業株式会社
コネクタ
28日前
矢崎総業株式会社
コネクタ
2か月前
矢崎総業株式会社
コネクタ
2か月前
矢崎総業株式会社
コネクタ
1か月前
矢崎総業株式会社
コネクタ
1か月前
矢崎総業株式会社
コネクタ
1か月前
矢崎総業株式会社
コネクタ
1か月前
矢崎総業株式会社
コネクタ
1か月前
矢崎総業株式会社
照明装置
1か月前
矢崎総業株式会社
コネクタ
28日前
矢崎総業株式会社
電源回路
13日前
矢崎総業株式会社
コネクタ
1か月前
矢崎総業株式会社
コネクタ
1か月前
矢崎総業株式会社
接続構造
29日前
矢崎総業株式会社
コネクタ
1か月前
矢崎総業株式会社
バスバー
1か月前
矢崎総業株式会社
報知装置
1か月前
矢崎総業株式会社
照明装置
1か月前
矢崎総業株式会社
照明装置
1か月前
矢崎総業株式会社
照明装置
1か月前
矢崎総業株式会社
コネクタ
13日前
続きを見る
他の特許を見る