TOP
|
特許
|
意匠
|
商標
特許ウォッチ
Twitter
他の特許を見る
公開番号
2025147811
公報種別
公開特許公報(A)
公開日
2025-10-07
出願番号
2024048243
出願日
2024-03-25
発明の名称
コネクタ
出願人
矢崎総業株式会社
代理人
弁理士法人栄光事務所
主分類
H01R
13/533 20060101AFI20250930BHJP(基本的電気素子)
要約
【課題】コネクタの大型化を避けながら端子の動作温度の過度な上昇を抑制可能なコネクタを提供すること。
【解決手段】コネクタ1は、電線2に接続されることになる端子10と、端子10が格納されるハウジング20と、筒状の形状を有するとともに端子10が筒内に挿入される伝熱部材30と、を備える。伝熱部材30は、筒内面32が端子10に接触し且つ筒外面31aがハウジング20に接触し、且つ、放熱のためのフィン構造33,35をハウジング20に接触しない箇所に有する。伝熱部材30は、フィン構造33,35を、端子10と相手側端子とを接続するためにハウジング20に設けられている空間25、及び、端子10及び伝熱部材30をハウジング20に収容するためにハウジング20に設けられている空間28の少なくとも一方に露出するように、有する。
【選択図】図5
特許請求の範囲
【請求項1】
電線に接続されることになる端子と、前記端子が格納されるハウジングと、筒状の形状を少なくとも一部に有するとともに前記端子が筒内に挿入される伝熱部材と、を備えるコネクタであって、
前記伝熱部材は、
当該伝熱部材の筒内面が前記端子に接触し且つ筒外面が前記ハウジングに接触し、且つ、放熱のためのフィン構造を前記ハウジングに接触しない箇所に有する、
コネクタ。
続きを表示(約 410 文字)
【請求項2】
請求項1に記載のコネクタであって、
前記伝熱部材は、
前記フィン構造を、前記端子と相手側端子とを接続するために前記ハウジングに設けられている空間、及び、前記端子及び前記伝熱部材を前記ハウジングに収容するために前記ハウジングに設けられている空間、の少なくとも一方に露出するように、有する、
コネクタ。
【請求項3】
請求項1に記載のコネクタにおいて、
前記伝熱部材のうちの少なくとも一部であって前記端子に当該伝熱部材が接触する部分が、前記ハウジングよりも弾性に優れる弾性材料で構成される、
コネクタ。
【請求項4】
請求項3に記載のコネクタにおいて、
前記伝熱部材は、
前記弾性材料で構成される内筒部と、前記弾性材料とは異なる材料で構成され且つ前記内筒部が収容される外筒部と、を有する、
コネクタ。
発明の詳細な説明
【技術分野】
【0001】
本発明は、電線に接続されることになる端子と、端子が格納されるハウジングと、筒状の形状を少なくとも一部に有するとともに端子が筒内に挿入される伝熱部材と、を備えるコネクタに関する。
続きを表示(約 1,800 文字)
【背景技術】
【0002】
従来から、電気自動車やプラグインハイブリッド自動車等の車両に搭載されたバッテリに車両外部から電力を供給して充電するためのコネクタが、提案されている(例えば、特許文献1,2を参照)。この種のコネクタは、一般に、充電インレットとも呼ばれる。
【先行技術文献】
【特許文献】
【0003】
特開2017-208247号公報
特開2020-187920号公報
【発明の概要】
【発明が解決しようとする課題】
【0004】
上述した種類のコネクタ(充電インレット)は、一般に、各種の規格で定められた構造や特性を有することが求められる。例えば、上述したコネクタを実際に使用する際、通電時に端子に生じるジュール熱に起因し、端子の温度(いわゆる動作温度)が上昇する。ここで、コネクタの品質保持や安全性等の観点から、端子の動作温度の上限値等が、所定の規格で定められている。特に、バッテリの急速充電を行う場合等には、大電流が短時間にコネクタを通過するため、単位時間あたりの端子の温度上昇の度合いが、通常充電を行う場合に比べて高まる。そのため、自然放熱のみによっては、急速充電中の端子の動作温度を上記規格で定められている範囲内に収めることが困難となる可能性がある。換言すると、動作温度の観点からコネクタの通電電流の大きさが制限されることが、バッテリの充電時間の短縮の妨げとなっている。一方、放熱用の部材(例えば、金属板等)をコネクタの外部に安易に組み付けることは、コネクタの大型化の原因となり得る点や、車体内でのコネクタの設置スペースが限られている点などから、望ましくない。
【0005】
本発明は、上述した状況を鑑みてなされたものであり、コネクタの大型化を避けながら端子の動作温度の過度な上昇を抑制可能なコネクタの提供である。
【課題を解決するための手段】
【0006】
前述した目的を達成するために、本発明に係るコネクタは、下記を特徴としている。
【0007】
電線に接続されることになる端子と、前記端子が格納されるハウジングと、筒状の形状を少なくとも一部に有するとともに前記端子が筒内に挿入される伝熱部材と、を備えるコネクタであって、
前記伝熱部材は、
当該伝熱部材の筒内面が前記端子に接触し且つ筒外面が前記ハウジングに接触し、且つ、放熱のためのフィン構造を前記ハウジングに接触しない箇所に有する、
コネクタであること。
【発明の効果】
【0008】
本発明のコネクタによれば、端子が伝熱部材の筒内に挿入されることで、伝熱部材の筒内面が端子に接触する。更に、伝熱部材の筒外面がハウジングに接触し、且つ、伝熱部材のフィン構造がハウジングに接触しない箇所に配置される。これにより、通電時に端子に生じる熱を伝熱部材で吸熱するとともに蓄熱することで、急速充電時のように単位時間あたりの端子の発熱量が大きい場合であっても、端子の動作温度の急激な上昇を抑制し、端子の動作温度を緩やかに上昇させることができる。更に、伝熱部材の筒外面からハウジングへの放熱、及び、伝熱部材のフィン構造から外気への放熱により、伝熱部材そのものの温度の上昇も抑制される。したがって、本構成のコネクタは、コネクタの大型化を避けながら端子の動作温度の過度な上昇を抑制可能である。
【0009】
以上、本発明について簡潔に説明した。更に、以下に説明される発明を実施するための形態を添付の図面を参照して通読することにより、本発明の詳細は更に明確化されるであろう。
【図面の簡単な説明】
【0010】
図1は、本発明の実施形態に係るコネクタが電線に接続された状態を示す斜視図である。
図2は、図1に示すコネクタの正面図である。
図3は、図1に示すコネクタの分解斜視図である。
図4は、図3に示す伝熱部材の斜視図である。
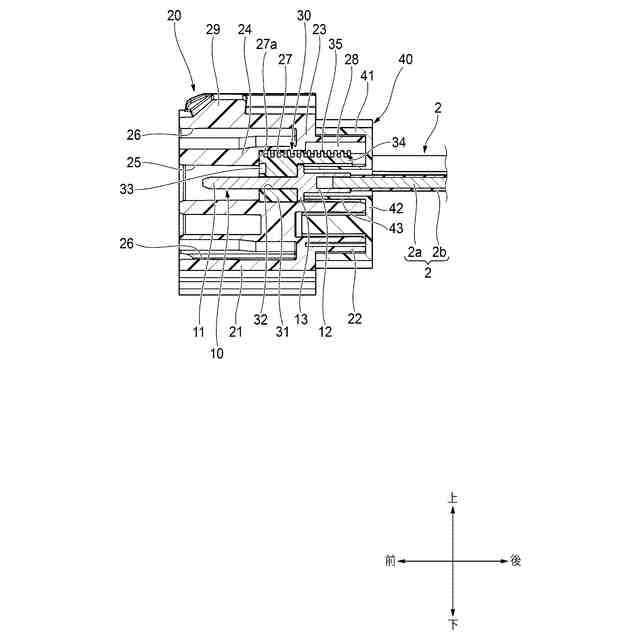
図5は、図2のA-A断面図である。
図6は、変形例に係る伝熱部材の斜視図である。
図7は、図6のB-B断面図である。
【発明を実施するための形態】
(【0011】以降は省略されています)
この特許をJ-PlatPat(特許庁公式サイト)で参照する
関連特許
矢崎総業株式会社
端子
25日前
矢崎総業株式会社
箱状体
18日前
矢崎総業株式会社
箱状体
18日前
矢崎総業株式会社
箱状体
18日前
矢崎総業株式会社
電源回路
2日前
矢崎総業株式会社
照明装置
1か月前
矢崎総業株式会社
コネクタ
2日前
矢崎総業株式会社
照明装置
26日前
矢崎総業株式会社
照明装置
26日前
矢崎総業株式会社
接続構造
18日前
矢崎総業株式会社
コネクタ
17日前
矢崎総業株式会社
照明装置
25日前
矢崎総業株式会社
コネクタ
17日前
矢崎総業株式会社
報知装置
1か月前
矢崎総業株式会社
コネクタ
2日前
矢崎総業株式会社
コネクタ
3日前
矢崎総業株式会社
バスバー
1か月前
矢崎総業株式会社
カバー構造
23日前
矢崎総業株式会社
スイッチ装置
15日前
矢崎総業株式会社
スイッチ装置
15日前
矢崎総業株式会社
画像表示装置
26日前
矢崎総業株式会社
端子付き電線
1か月前
矢崎総業株式会社
車両用室内灯
15日前
矢崎総業株式会社
車両用室内灯
15日前
矢崎総業株式会社
通信ケーブル
15日前
矢崎総業株式会社
連結コネクタ
2日前
矢崎総業株式会社
画像表示装置
26日前
矢崎総業株式会社
スイッチ装置
15日前
矢崎総業株式会社
コネクタ構造
1か月前
矢崎総業株式会社
コネクタ構造
1か月前
矢崎総業株式会社
コネクタ構造
1か月前
矢崎総業株式会社
導電モジュール
23日前
矢崎総業株式会社
車両用表示装置
26日前
矢崎総業株式会社
バスバ配置構造
1か月前
矢崎総業株式会社
バスバ配置構造
24日前
矢崎総業株式会社
導電モジュール
23日前
続きを見る
他の特許を見る