TOP
|
特許
|
意匠
|
商標
特許ウォッチ
Twitter
他の特許を見る
公開番号
2025163761
公報種別
公開特許公報(A)
公開日
2025-10-30
出願番号
2024067264
出願日
2024-04-18
発明の名称
導電モジュール
出願人
矢崎総業株式会社
,
トヨタ自動車株式会社
代理人
弁理士法人虎ノ門知的財産事務所
主分類
H01M
50/519 20210101AFI20251023BHJP(基本的電気素子)
要約
【課題】回路保護に適したものとすること。
【解決手段】回路集合部24は、2つの幹線部21側とは逆側の端部でコネクタ32が組み付けられるコネクタ接続部24aと、2つの幹線部21側で複数のビアホールが設けられたビアホール設置部24bと、コネクタ接続部24aとビアホール設置部24bとの間で電池監視ユニット側の相手方コネクタに対するコネクタ32の配列方向の位置ずれを吸収する位置ずれ吸収部24cと、を有し、回路カバー部材60は、組付け完了位置で幹線部21を表面から覆うカバー本体61と、組付け完了位置でビアホール設置部24bの表面を押圧し、2つの幹線部21に対して曲げの内側の角度が鈍角となるようビアホール設置部24bを交差させるビアホールカバー部63と、を有し、ビアホールカバー部63は、カバー本体61に対して前記角度で傾斜させること。
【選択図】図4
特許請求の範囲
【請求項1】
電池モジュールにおける配列方向に沿って一列に並べられた複数の電池セルを電気的に接続させる複数のバスバと、
前記バスバを電池監視ユニットに電気接続させる前記バスバ毎の回路導体を備え、かつ、可撓性を持たせて平たく形成された回路導体部品と、
前記バスバと前記回路導体部品を開口から収容する収容部材と、
前記収容部材に組付け完了位置で組み付けて、前記回路導体部品を前記開口側から覆う回路カバー部材と、
を備え、
前記回路導体部品は、同一平面上で前記配列方向に対する直交方向に間隔を空けて対向配置させた2つの幹線部と、2つの前記幹線部における前記配列方向のそれぞれの端部同士を連結して、2つの前記幹線部のそれぞれの前記回路導体を一箇所に集めた回路集合部と、を有し、
前記回路集合部は、2つの前記幹線部側とは逆側の端部でコネクタが組み付けられるコネクタ接続部と、2つの前記幹線部側で複数のビアホールが設けられたビアホール設置部と、前記コネクタ接続部と前記ビアホール設置部との間で前記電池監視ユニット側の相手方コネクタに対する前記コネクタの前記配列方向の位置ずれを吸収する位置ずれ吸収部と、を有し、
前記回路カバー部材は、前記組付け完了位置で前記幹線部を表面から覆うカバー本体と、前記組付け完了位置で前記ビアホール設置部の表面を押圧し、2つの前記幹線部に対して曲げの内側の角度が鈍角となるよう前記ビアホール設置部を交差させるビアホールカバー部と、を有し、
前記ビアホールカバー部は、前記カバー本体に対して前記角度で傾斜させることを特徴とした導電モジュール。
続きを表示(約 750 文字)
【請求項2】
前記収容部材は、前記組付け完了位置の前記回路カバー部材の前記ビアホールカバー部と平行で、かつ、前記組付け完了位置の前記回路カバー部材の前記ビアホールカバー部との間で前記ビアホール設置部の裏面に対向配置させる対向配置面を有し、
前記対向配置面には、前記ビアホール設置部における前記位置ずれ吸収部側の端部に前記位置ずれ吸収部側から力が作用した際に、その端部の前記裏面を係止させることを特徴とした請求項1に記載の導電モジュール。
【請求項3】
前記カバー本体は、前記配列方向に沿わせた形状に形成され、
前記ビアホールカバー部は、前記カバー本体に対して前記角度で傾斜させた片持ち梁形状に形成され、
前記回路カバー部材には、前記ビアホールカバー部の自由端から突出させ、かつ、前記組付け完了位置で前記収容部材に当接させて、前記回路集合部を前記ビアホールカバー部の自由端と前記収容部材との間でその双方に対して隙間を空けて配置する当接突起部を設けることを特徴とした請求項1に記載の導電モジュール。
【請求項4】
前記収容部材には、前記組付け完了位置の前記ビアホールカバー部の自由端よりも前記開口側に突出させ、その突出方向側の先端で前記位置ずれ吸収部を係止して、前記位置ずれ吸収部を前記コネクタ接続部側と前記ビアホール設置部側とに分けて折り曲げる係止突起部を設けることを特徴とした請求項3に記載の導電モジュール。
【請求項5】
前記回路カバー部材は、前記配列方向と2つの前記幹線部の対向配置方向とに直交する組付け軌跡で前記収容部材に組み付けられることを特徴とした請求項1から4の内の何れか1つに記載の導電モジュール。
発明の詳細な説明
【技術分野】
【0001】
本発明は、導電モジュールに関する。
続きを表示(約 2,500 文字)
【背景技術】
【0002】
導電モジュールは、複数の電池セルが配列方向に沿って一列に並べられた電池モジュールにおいて、複数のバスバを用いて複数の電池セルを電気的に接続させる。そして、この導電モジュールは、バスバ毎の回路導体が設けられ且つ可撓性を持たせた平らな回路導体部品を介して、それぞれのバスバを電池監視ユニットに電気的に接続させる。その回路導体部品は、シート状の絶縁層と複数の回路導体が設けられた導体層とを備える例えばフレキシブルプリント回路基板であり、バスバと共に収容部材に収容され且つ回路カバー部材で覆われる。この種の導電モジュールについては、例えば、下記の特許文献1に開示されている。
【先行技術文献】
【特許文献】
【0003】
特開2022-173609号公報
【発明の概要】
【発明が解決しようとする課題】
【0004】
ところで、電池モジュールには、複数の電池セルのそれぞれの電極端子が配列方向に沿って同一平面上で一列ずつ並べられ、その二列の電極端子群の間に排煙ダクトを設けたものが存在する。この場合、従来の導電モジュールでは、その排煙ダクトを回路導体部品が塞いでしまう。このため、回路導体部品には、電極端子群毎に配列方向に延在させて設け且つ電極端子群のそれぞれの電極端子に繋ぐバスバ毎の回路導体が配線された幹線部と、排煙ダクトを避けた2つの幹線部における配列方向のそれぞれの端部同士を連結させ、かつ、その双方の幹線部の複数の回路導体を一箇所に集めた回路集合部と、を有するものが用いられる。ここで、回路集合部には、複数のビアホールを有するビアホール設定部と、回路導体を電池監視ユニットに対して電気的に接続させるためのコネクタが組み付けられるコネクタ接続部と、相手方コネクタに対するコネクタの位置ずれを吸収するために撓み変形させる位置ずれ吸収部と、が設けられる。この回路集合部においては、位置ずれ吸収部の撓み変形に伴う力がビアホール設定部に伝わると、このビアホール設定部のビアホールに無用な力が作用してしまい好ましくない。
【0005】
そこで、本発明は、回路保護に適した導電モジュールを提供することを、その目的とする。
【課題を解決するための手段】
【0006】
本発明は、電池モジュールにおける配列方向に沿って一列に並べられた複数の電池セルを電気的に接続させる複数のバスバと、前記バスバを電池監視ユニットに電気接続させる前記バスバ毎の回路導体を備え、かつ、可撓性を持たせて平たく形成された回路導体部品と、前記バスバと前記回路導体部品を開口から収容する収容部材と、前記収容部材に組付け完了位置で組み付けて、前記回路導体部品を前記開口側から覆う回路カバー部材と、を備え、前記回路導体部品は、同一平面上で前記配列方向に対する直交方向に間隔を空けて対向配置させた2つの幹線部と、2つの前記幹線部における前記配列方向のそれぞれの端部同士を連結して、2つの前記幹線部のそれぞれの前記回路導体を一箇所に集めた回路集合部と、を有し、前記回路集合部は、2つの前記幹線部側とは逆側の端部でコネクタが組み付けられるコネクタ接続部と、2つの前記幹線部側で複数のビアホールが設けられたビアホール設置部と、前記コネクタ接続部と前記ビアホール設置部との間で前記電池監視ユニット側の相手方コネクタに対する前記コネクタの前記配列方向の位置ずれを吸収する位置ずれ吸収部と、を有し、前記回路カバー部材は、前記組付け完了位置で前記幹線部を表面から覆うカバー本体と、前記組付け完了位置で前記ビアホール設置部の表面を押圧し、2つの前記幹線部に対して曲げの内側の角度が鈍角となるよう前記ビアホール設置部を交差させるビアホールカバー部と、を有し、前記ビアホールカバー部は、前記カバー本体に対して前記角度で傾斜させることを特徴とする。
【発明の効果】
【0007】
本発明に係る導電モジュールにおいては、回路カバー部材のビアホールカバー部によって、ビアホール設置部が2つの幹線部に対して上記の鈍角の角度に傾倒させられた状態で表面から覆われている。よって、この導電モジュールにおいては、ビアホール設置部に作用する荷重を軽減させた状態で当該ビアホール設置部をビアホールカバー部で覆って保護することができる。この導電モジュールは、ビアホール設置部に作用する荷重を軽減させることで、このビアホール設置部に設けられたビアホールやこれに関連する接続部品の耐久性を向上させることができる。従って、本発明に係る導電モジュールは、ビアホール設置部をビアホールカバー部で覆って外部から保護するだけでなく、耐久性向上に伴うビアホール設置部の保護も可能であり、回路導体部品の回路の保護に適したものとなっている。
【図面の簡単な説明】
【0008】
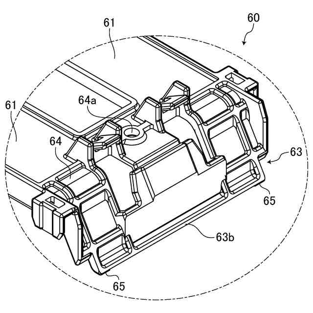
図1は、実施形態の導電モジュールを示す斜視図である。
図2は、実施形態の導電モジュールを示す分解斜視図である。
図3は、カバー部材を取り外した導電モジュールの一部を抜粋した斜視図である。
図4は、図3のX-X線断面の部分拡大図である。
図5は、電池モジュールをバスバと共に示す模式図である。
図6は、回路導体部品の要部を示す斜視図である。
図7は、回路カバー部材の要部を示す斜視図である。
図8は、収容部材の要部を示す斜視図である。
【発明を実施するための形態】
【0009】
以下に、本発明に係る導電モジュールの実施形態を図面に基づいて詳細に説明する。尚、この実施形態によりこの発明が限定されるものではない。
【0010】
[実施形態]
本発明に係る導電モジュールの実施形態の1つを図1から図8に基づいて説明する。
(【0011】以降は省略されています)
この特許をJ-PlatPat(特許庁公式サイト)で参照する
関連特許
矢崎総業株式会社
端子
2か月前
矢崎総業株式会社
端子
2か月前
矢崎総業株式会社
端子
7日前
矢崎総業株式会社
箱状体
2か月前
矢崎総業株式会社
箱状体
27日前
矢崎総業株式会社
照明灯
1か月前
矢崎総業株式会社
雌端子
2か月前
矢崎総業株式会社
箱状体
27日前
矢崎総業株式会社
箱状体
今日
矢崎総業株式会社
箱状体
2か月前
矢崎総業株式会社
箱状体
今日
矢崎総業株式会社
箱状体
今日
矢崎総業株式会社
コネクタ
1か月前
矢崎総業株式会社
配索構造
2か月前
矢崎総業株式会社
止水部材
1か月前
矢崎総業株式会社
報知装置
14日前
矢崎総業株式会社
コネクタ
1か月前
矢崎総業株式会社
コネクタ
1か月前
矢崎総業株式会社
バスバー
18日前
矢崎総業株式会社
コネクタ
1か月前
矢崎総業株式会社
コネクタ
1か月前
矢崎総業株式会社
コネクタ
2か月前
矢崎総業株式会社
コネクタ
1か月前
矢崎総業株式会社
コネクタ
1か月前
矢崎総業株式会社
コネクタ
21日前
矢崎総業株式会社
コネクタ
1か月前
矢崎総業株式会社
コネクタ
25日前
矢崎総業株式会社
コネクタ
26日前
矢崎総業株式会社
照明装置
2か月前
矢崎総業株式会社
照明構造
1か月前
矢崎総業株式会社
コネクタ
1か月前
矢崎総業株式会社
コネクタ
27日前
矢崎総業株式会社
コネクタ
27日前
矢崎総業株式会社
コネクタ
28日前
矢崎総業株式会社
コネクタ
28日前
矢崎総業株式会社
コネクタ
28日前
続きを見る
他の特許を見る