TOP
|
特許
|
意匠
|
商標
特許ウォッチ
Twitter
他の特許を見る
10個以上の画像は省略されています。
公開番号
2025173080
公報種別
公開特許公報(A)
公開日
2025-11-27
出願番号
2024078440
出願日
2024-05-14
発明の名称
コネクタ
出願人
矢崎総業株式会社
代理人
弁理士法人虎ノ門知的財産事務所
主分類
H01R
13/42 20060101AFI20251119BHJP(基本的電気素子)
要約
【課題】製造時の作業性を向上させつつ、シールド性能を向上させることができるコネクタを提供する。
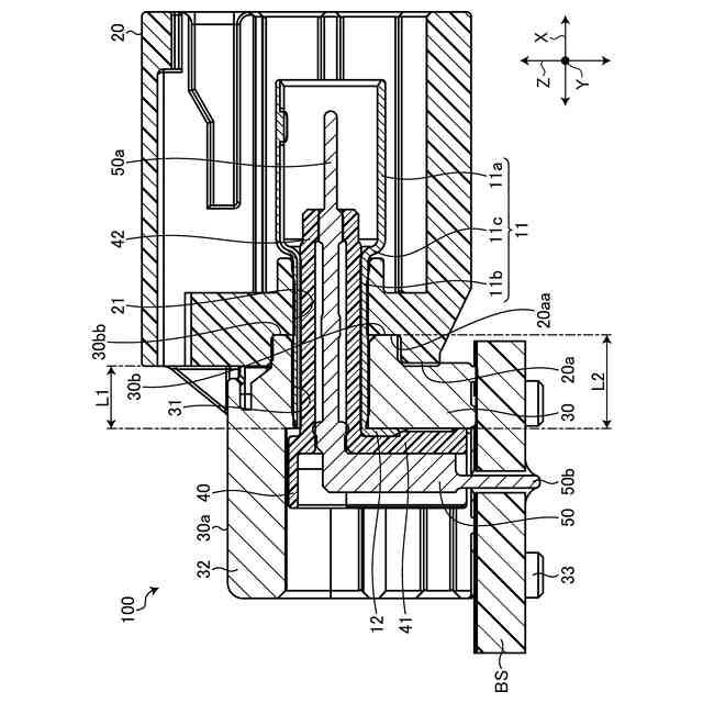
【解決手段】コネクタ100は、第1貫通孔21を有するアウタハウジング20と、第2貫通孔31を有するシールドシェル30と、筒状部11と筒状部の一端11bbから突出した係止片12とを有し、筒状部が第1貫通孔及び第2貫通孔に挿入された状態で、シールドシェルの第2貫通孔の縁部に係止片が係止されたアウタ端子10と、垂下部41と筒状の本体部42とを有し、垂下部が係止片をシールドシェルとの間に挟み込んだ状態で、本体部がアウタ端子内に挿入されたインナハウジング40と、インナハウジングに保持されたインナ端子50と、を備え、筒状部には、筒状部の一端から他端11aa側に向けて延在する一対のスリットSTが形成されており、一対のスリットにおける他端側の端部は、第2貫通孔31の内周面と対向する。
【選択図】図2
特許請求の範囲
【請求項1】
第1貫通孔を有するアウタハウジングと、
第2貫通孔を有し、前記第2貫通孔を前記第1貫通孔と連通させるように配置されたシールドシェルと、
筒状部と前記筒状部の一端から径方向の外側に向けて突出した係止片とを有し、前記筒状部が前記第1貫通孔及び前記第2貫通孔に挿入された状態で、前記シールドシェルにおける前記アウタハウジング側とは反対側の前記第2貫通孔の縁部に前記係止片が係止されたアウタ端子と、
垂下部と前記垂下部から突出した筒状の本体部とを有し、前記垂下部が前記係止片を前記シールドシェルとの間に挟み込んだ状態で、前記本体部が前記アウタ端子内に挿入されたインナハウジングと、
前記本体部の先端から一部を突出させた状態で前記インナハウジングに保持されたインナ端子と、
を備え、
前記筒状部には、前記筒状部の周方向において前記係止片の基端を挟む位置に、前記筒状部の前記一端から他端側に向けて延在する一対のスリットが形成されており、
前記一対のスリットにおける前記他端側の端部は、前記第2貫通孔の内周面と対向する、
ことを特徴とするコネクタ。
発明の詳細な説明
【技術分野】
【0001】
本発明は、コネクタに関する。
続きを表示(約 2,300 文字)
【背景技術】
【0002】
特許文献1には、筒状の相手側端子と電気的に接続される筒状端子と、筒状端子を保持するハウジングとを備えたコネクタに関する技術が開示されている。特許文献1のコネクタにおいて、筒状端子は、板状の導体が筒状に湾曲されて一の縁部と他の縁部とが係合されることによって構成される係合部を有している。一の縁部は、周方向の末端が径方向外向きに窪むように減厚された形状を有し、一の縁部の減厚箇所は、径方向内向きに突出し且つ軸方向に延びる突条を有する。係合部は、減厚箇所が径方向に重なり合うとともに突条が周方向に係合するように互いにオフセットした位置に配置されている。特許文献1においては、上記の構成により、製造を簡素化できるとされている。
【先行技術文献】
【特許文献】
【0003】
特開2021-190229号公報
【発明の概要】
【発明が解決しようとする課題】
【0004】
ところで、コネクタにおいて、製造時の作業性を向上させつつ、シールド性能を向上させることが望まれている。
【0005】
本発明の目的は、製造時の作業性を向上させつつ、シールド性能を向上させることができるコネクタを提供することである。
【課題を解決するための手段】
【0006】
本発明のコネクタは、第1貫通孔を有するアウタハウジングと、第2貫通孔を有し、前記第2貫通孔を前記第1貫通孔と連通させるように配置されたシールドシェルと、筒状部と前記筒状部の一端から径方向の外側に向けて突出した係止片とを有し、前記筒状部が前記第1貫通孔及び前記第2貫通孔に挿入された状態で、前記シールドシェルにおける前記アウタハウジング側とは反対側の前記第2貫通孔の縁部に前記係止片が係止されたアウタ端子と、垂下部と前記垂下部から突出した筒状の本体部とを有し、前記垂下部が前記係止片を前記シールドシェルとの間に挟み込んだ状態で、前記本体部が前記アウタ端子内に挿入されたインナハウジングと、前記本体部の先端から一部を突出させた状態で前記インナハウジングに保持されたインナ端子と、を備え、前記筒状部には、前記筒状部の周方向において前記係止片の基端を挟む位置に、前記筒状部の前記一端から他端側に向けて延在する一対のスリットが形成されており、前記一対のスリットにおける前記他端側の端部は、前記第2貫通孔の内周面と対向する。
【発明の効果】
【0007】
本発明に係るコネクタは、製造時の作業性を向上させつつ、シールド性能を向上させることができるという効果を奏する。
【図面の簡単な説明】
【0008】
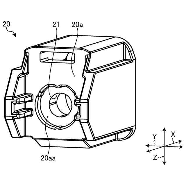
図1は、実施形態に係るコネクタを示す斜視図である。
図2は、実施形態に係るコネクタを示す断面図である。
図3は、実施形態に係るコネクタを示す分解斜視図である。
図4は、実施形態のアウタ端子を示す斜視図である。
図5は、実施形態のアウタハウジングを示す斜視図である。
図6は、実施形態のシールドシェルを示す斜視図である。
図7は、実施形態に係るコネクタの製造方法を示すフローチャート図である。
図8は、実施形態のアウタ端子挿入工程を示す斜視図である。
図9は、実施形態のアウタ端子挿入工程を示す断面図である。
図10は、実施形態のアウタ端子挿入工程を示す平面図である。
図11は、実施形態のインナ端子挿入工程を示す斜視図である。
図12は、実施形態のインナハウジング収容工程を示す斜視図である。
図13は、実施形態のインナハウジング収容工程を示す断面図である。
図14は、実施形態に係るコネクタを基板に取り付ける態様を示す斜視図である。
図15は、実施形態の参考例におけるアウタ端子を示す斜視図である。
【発明を実施するための形態】
【0009】
以下に、本発明の実施形態に係るコネクタにつき図面を参照しつつ詳細に説明する。なお、この実施形態によりこの発明が限定されるものではない。また、下記の実施形態における構成要素には、当業者が容易に想定できるものあるいは実質的に同一のものが含まれる。
【0010】
[実施形態]
図1から図14を参照して、実施形態について説明する。図1は、実施形態に係るコネクタを示す斜視図、図2は、実施形態に係るコネクタを示す断面図、図3は、実施形態に係るコネクタを示す分解斜視図、図4は、実施形態のアウタ端子を示す斜視図、図5は、実施形態のアウタハウジングを示す斜視図、図6は、実施形態のシールドシェルを示す斜視図、図7は、実施形態に係るコネクタの製造方法を示すフローチャート図、図8は、実施形態のアウタ端子挿入工程を示す斜視図、図9は、実施形態のアウタ端子挿入工程を示す断面図、図10は、実施形態のアウタ端子挿入工程を示す平面図、図11は、実施形態のインナ端子挿入工程を示す斜視図、図12は、実施形態のインナハウジング収容工程を示す斜視図、図13は、実施形態のインナハウジング収容工程を示す断面図、図14は、実施形態に係るコネクタを基板に取り付ける態様を示す斜視図である。なお、図2は、図1に示すA-A線における断面図であり、図9及び図13は、図10に示すB-B線における断面に対応する断面図である。
(【0011】以降は省略されています)
この特許をJ-PlatPat(特許庁公式サイト)で参照する
関連特許
矢崎総業株式会社
端子
1か月前
矢崎総業株式会社
端子
1日前
矢崎総業株式会社
箱状体
25日前
矢崎総業株式会社
箱状体
1か月前
矢崎総業株式会社
照明灯
2か月前
矢崎総業株式会社
箱状体
25日前
矢崎総業株式会社
箱状体
25日前
矢崎総業株式会社
箱状体
1か月前
矢崎総業株式会社
接続構造
25日前
矢崎総業株式会社
照明装置
1か月前
矢崎総業株式会社
コネクタ
24日前
矢崎総業株式会社
照明装置
1か月前
矢崎総業株式会社
照明装置
1か月前
矢崎総業株式会社
報知装置
1か月前
矢崎総業株式会社
バスバー
1か月前
矢崎総業株式会社
コネクタ
1か月前
矢崎総業株式会社
コネクタ
1か月前
矢崎総業株式会社
コネクタ
1か月前
矢崎総業株式会社
コネクタ
1か月前
矢崎総業株式会社
コネクタ
1か月前
矢崎総業株式会社
コネクタ
1か月前
矢崎総業株式会社
コネクタ
2か月前
矢崎総業株式会社
コネクタ
2か月前
矢崎総業株式会社
コネクタ
2か月前
矢崎総業株式会社
コネクタ
2か月前
矢崎総業株式会社
コネクタ
2か月前
矢崎総業株式会社
コネクタ
2か月前
矢崎総業株式会社
コネクタ
1か月前
矢崎総業株式会社
コネクタ
10日前
矢崎総業株式会社
止水部材
1か月前
矢崎総業株式会社
照明構造
1か月前
矢崎総業株式会社
コネクタ
1か月前
矢崎総業株式会社
コネクタ
1か月前
矢崎総業株式会社
コネクタ
1か月前
矢崎総業株式会社
コネクタ
1か月前
矢崎総業株式会社
コネクタ
1か月前
続きを見る
他の特許を見る