TOP
|
特許
|
意匠
|
商標
特許ウォッチ
Twitter
他の特許を見る
10個以上の画像は省略されています。
公開番号
2025165521
公報種別
公開特許公報(A)
公開日
2025-11-05
出願番号
2024069617
出願日
2024-04-23
発明の名称
コネクタ
出願人
矢崎総業株式会社
代理人
個人
,
個人
,
個人
主分類
H01R
13/64 20060101AFI20251028BHJP(基本的電気素子)
要約
【課題】ハウジングと相手ハウジングとの嵌合途中で嵌合検知部材が後方に移動した際に嵌合検知部材がハウジングから抜けて外れることを抑制することができるコネクタを提供する。
【解決手段】コネクタ1は、相手ハウジング111と嵌合可能なハウジング2と、ハウジング2にスライド可能に装着されて、ハウジング2と相手ハウジング111との嵌合を検知する嵌合検知部材4とを備える。ハウジング2は、相手ハウジング111との嵌合を保持するハウジングロック機構20を有し、ハウジングロック機構20は、抜け防止突起部29を有する。嵌合検知部材4は、ハウジング2と相手ハウジング111との嵌合途中で嵌合検知部材4が後方に移動した際に抜け防止突起部29に当接可能な抜け防止突起51を有する。
【選択図】図8
特許請求の範囲
【請求項1】
相手ハウジングと嵌合可能なハウジングと、
前記ハウジングにスライド可能に装着されて、前記ハウジングと前記相手ハウジングとの嵌合を検知する嵌合検知部材と、を備え、
前記ハウジングは、前記相手ハウジングとの嵌合を保持するハウジングロック機構を有し、
前記ハウジングロック機構は、抜け防止突起部を有し、
前記嵌合検知部材は、前記ハウジングと前記相手ハウジングとの嵌合途中で前記嵌合検知部材が後方に移動した際に前記抜け防止突起部に当接可能な抜け防止突起を有する、
コネクタ。
続きを表示(約 510 文字)
【請求項2】
前記抜け防止突起は、前記嵌合検知部材を前記ハウジングに対して装着する際に前記抜け防止突起部の上方を通過するように構成され、
前記抜け防止突起部の上部には、前方から後方に向けて下り傾斜状に形成される傾斜面部と、前記傾斜面部の前方に位置して前記ハウジングの外周面に対して垂直になるように形成される垂直面部と、が設けられ、
前記抜け防止突起の下部には、前方から後方に向けて下り傾斜状に形成される傾斜面と、前記傾斜面の後方に位置して前記ハウジングの外周面に対して垂直になるように形成される垂直面と、が設けられる、
請求項1に記載のコネクタ。
【請求項3】
前記嵌合検知部材における前記抜け防止突起の周辺部位には、前記抜け防止突起を挟んで一対のスリットが設けられる、請求項1又は2に記載のコネクタ。
【請求項4】
前記スリットは、前記嵌合検知部材のスライド方向と平行な方向に沿って延びる、請求項3に記載のコネクタ。
【請求項5】
前記スリットは、前記嵌合検知部材のスライド方向と直交する方向に沿って延びる、請求項3に記載のコネクタ。
発明の詳細な説明
【技術分野】
【0001】
本発明は、コネクタに関する。
続きを表示(約 2,300 文字)
【背景技術】
【0002】
従来、コネクタとして、相手ハウジングと嵌合可能なハウジングと、ハウジングにスライド可能に装着されて、相手ハウジングとの嵌合を検知する嵌合検知部材とを備え、ハウジングがハウジングロック機構を有するものが知られている(特許文献1参照)。嵌合検知部材はコネクタのハウジングロック機構後方から挿入され、嵌合検知部材側の係止突起によってハウジングロック機構側の被係止突起を持ち上げて嵌合検知部材が通過した後に、ハウジングロック機構側の被係止突起が元の位置に戻る。これにより、ハウジングロック機構側の被係止突起と嵌合検知部材側の係止突起とが係止される。
【先行技術文献】
【特許文献】
【0003】
特開2020-21644号公報
【発明の概要】
【発明が解決しようとする課題】
【0004】
前述のコネクタでは、相手コネクタとの嵌合前は嵌合係止部材側の係止突起が係止されているが、相手コネクタとの嵌合途中ではハウジングロック機構側の被係止突起が持ち上げられるため、嵌合検知部材側の係止突起が被係止突起の下方を通過可能な状態となる。このため、相手コネクタとの嵌合途中において嵌合検知部材がコネクタの後方に移動すると、嵌合検知部材がハウジングから抜けて外れる可能性がある。
【0005】
本発明は、このような従来技術が有する課題に鑑みてなされたものである。そして本発明の目的は、ハウジングと相手ハウジングとの嵌合途中で嵌合検知部材が後方に移動した際に嵌合検知部材がハウジングから抜けて外れることを抑制することができるコネクタを提供することにある。
【課題を解決するための手段】
【0006】
本発明の態様に係るコネクタは、相手ハウジングと嵌合可能なハウジングと、ハウジングにスライド可能に装着されて、ハウジングと相手ハウジングとの嵌合を検知する嵌合検知部材と、を備え、ハウジングは、相手ハウジングとの嵌合を保持するハウジングロック機構を有し、ハウジングロック機構は、抜け防止突起部を有し、嵌合検知部材は、ハウジングと相手ハウジングとの嵌合途中で嵌合検知部材が後方に移動した際に抜け防止突起部に当接可能な抜け防止突起を有する。
【発明の効果】
【0007】
本発明によれば、ハウジングと相手ハウジングとの嵌合途中で嵌合検知部材が後方に移動した際に嵌合検知部材がハウジングから抜けて外れることを抑制することができるコネクタを提供することができる。
【図面の簡単な説明】
【0008】
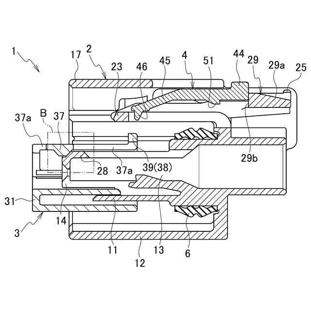
本実施形態に係るコネクタの一例を示す斜視図である。
図1に示すコネクタの分解斜視図である。
ハウジングの一部破断の斜視図である。
図2とは反対側から見た嵌合検知部材の斜視図である。
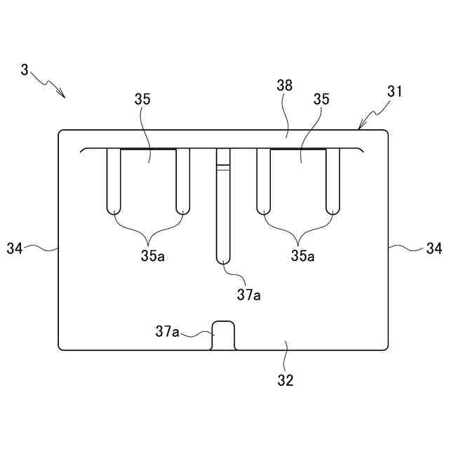
コネクタを構成するフロントホルダの正面図である。
図5に示すフロントホルダの平面図である。
ハウジングへのフロントホルダ装着時(仮係止状態)を示す正面図である。
図7のA-A線による断面図である。
図8のB部の拡大図である。
図7のC-C線による断面図である。
図7のA-A線断面に対応するハウジングへのフロントホルダ装着時(本係止状態)を示す断面図である。
図11のD部の拡大図である。
図11のE部の拡大図である。
嵌合検知部材をハウジングロック機構に載置した状態を示す左右中央の断面図である。
嵌合検知部材をハウジングロック機構に載置した状態を示す外縁側の断面図である。
嵌合検知部材を挿入中の状態を示す左右中央の断面図である。
嵌合検知部材の組付け完了後の状態を示す断面図である。
嵌合検知部材の組付け完了後の状態を示す断面図である。
コネクタと相手コネクタとを嵌合する前の状態を示す正面図である。
図19のF-F線による断面図である。
図19のG-G線による断面図である。
図19のF-F線断面に対応するコネクタと相手コネクタとの嵌合途中の状態を示す断面図である。
図19のG-G線断面に対応するコネクタと相手コネクタとの嵌合途中の状態を示す断面図である。
他の実施形態に係るコネクタの分解斜視図である。
図24とは反対側から見た嵌合検知部材の斜視図である。
図24に示すコネクタの嵌合検知部材を挿入中の状態を示す左右中央の断面図である。
更に他の実施形態に係るコネクタの分解斜視図である。
図27とは反対側から見た嵌合検知部材の斜視図である。
図27に示すコネクタの嵌合検知部材を挿入中の状態を示す左右中央の断面図である。
【発明を実施するための形態】
【0009】
以下、図面を用いて本実施形態に係るコネクタについて詳細に説明する。なお、図面の寸法比率は説明の都合上誇張されており、実際の比率と異なる場合がある。
【0010】
[コネクタ1の概略構成]
図1~図4に示すように、コネクタ1は、ハウジング2と、フロントホルダ3と、嵌合検知部材4と、シール部材6とを備える。本実施形態において、コネクタ1は、前後方向に沿って相手コネクタ101(図19~図23参照、オスコネクタ)と嵌合可能に構成されるメスコネクタである。
(【0011】以降は省略されています)
この特許をJ-PlatPat(特許庁公式サイト)で参照する
関連特許
矢崎総業株式会社
端子
29日前
矢崎総業株式会社
箱状体
22日前
矢崎総業株式会社
箱状体
1か月前
矢崎総業株式会社
箱状体
1か月前
矢崎総業株式会社
箱状体
22日前
矢崎総業株式会社
箱状体
22日前
矢崎総業株式会社
照明装置
1か月前
矢崎総業株式会社
接続構造
22日前
矢崎総業株式会社
照明装置
29日前
矢崎総業株式会社
照明装置
1か月前
矢崎総業株式会社
コネクタ
7日前
矢崎総業株式会社
照明装置
1か月前
矢崎総業株式会社
報知装置
1か月前
矢崎総業株式会社
コネクタ
21日前
矢崎総業株式会社
コネクタ
6日前
矢崎総業株式会社
バスバー
1か月前
矢崎総業株式会社
コネクタ
1か月前
矢崎総業株式会社
コネクタ
6日前
矢崎総業株式会社
電源回路
6日前
矢崎総業株式会社
コネクタ
1か月前
矢崎総業株式会社
コネクタ
1か月前
矢崎総業株式会社
コネクタ
21日前
矢崎総業株式会社
カバー構造
27日前
矢崎総業株式会社
電気接続箱
1か月前
矢崎総業株式会社
電気接続箱
1か月前
矢崎総業株式会社
スイッチ装置
19日前
矢崎総業株式会社
コネクタ構造
1か月前
矢崎総業株式会社
照明ユニット
今日
矢崎総業株式会社
画像表示装置
1か月前
矢崎総業株式会社
画像表示装置
1か月前
矢崎総業株式会社
スイッチ装置
19日前
矢崎総業株式会社
通信ケーブル
19日前
矢崎総業株式会社
連結コネクタ
6日前
矢崎総業株式会社
コネクタ構造
1か月前
矢崎総業株式会社
車両用室内灯
19日前
矢崎総業株式会社
コネクタ構造
1か月前
続きを見る
他の特許を見る