TOP
|
特許
|
意匠
|
商標
特許ウォッチ
Twitter
他の特許を見る
10個以上の画像は省略されています。
公開番号
2025162621
公報種別
公開特許公報(A)
公開日
2025-10-28
出願番号
2024065895
出願日
2024-04-16
発明の名称
端子
出願人
矢崎総業株式会社
代理人
弁理士法人虎ノ門知的財産事務所
主分類
H01R
13/187 20060101AFI20251021BHJP(基本的電気素子)
要約
【課題】適正な導通性能を確保することができる端子を提供することを目的とする。
【解決手段】端子10は、相手方端子20と電気的に接続される端子接続部12を備え、端子接続部12は、内部に相手方端子20が挿入される筒部13と、筒部13と一体で形成され、筒部13の内部に弾性変形可能に支持され、筒部13の内部に挿入された相手方端子20と電気的に接続される導通バネ14と、筒部13と別体で形成され、筒部13の内部に弾性変形可能に保持され、導通バネ14に接触して当該導通バネ14を筒部13の内部に挿入された相手方端子20に押し付ける接触荷重バネ16と、を有する。
【選択図】図5
特許請求の範囲
【請求項1】
相手方端子と電気的に接続される端子接続部を備え、
前記端子接続部は、
内部に前記相手方端子が挿入される筒部と、
前記筒部と一体で形成され、前記筒部の内部に弾性変形可能に支持され、前記筒部の内部に挿入された前記相手方端子と電気的に接続される導通バネと、
前記筒部と別体で形成され、前記筒部の内部に弾性変形可能に保持され、前記導通バネに接触して当該導通バネを前記筒部の内部に挿入された前記相手方端子に押し付ける接触荷重バネと、を有することを特徴とする、
端子。
続きを表示(約 650 文字)
【請求項2】
前記端子接続部は、前記筒部の内面に形成され、前記相手方端子の挿入方向と交差する前記筒部の高さ方向に対して前記導通バネと対向して配置される第1凸部をさらに有し、
前記第1凸部、及び、前記導通バネは、前記筒部の内部に挿入された前記相手方端子を前記筒部の前記高さ方向から挟み込む、
請求項1に記載の端子。
【請求項3】
前記端子接続部は、
前記筒部の内面に設けられる第2凸部と、
前記筒部と別体で形成され、前記筒部の内部に弾性変形可能に保持され、前記相手方端子の挿入方向と交差する前記筒部の幅方向に対して前記第2凸部と対向して配置される側方バネとをさらに有し、
前記第2凸部、及び、前記側方バネは、前記筒部の内部に挿入された前記相手方端子を前記筒部の前記幅方向から挟み込む、
請求項1または2に記載の端子。
【請求項4】
前記側方バネは、前記接触荷重バネと一体で形成される、
請求項3に記載の端子。
【請求項5】
前記第1凸部は、前記挿入方向に対して、前記相手方端子に対する前記導通バネの接触点の位置を基準として両側に間隔をあけて一対で設けられる、
請求項2に記載の端子。
【請求項6】
前記第2凸部は、前記挿入方向に対して、前記相手方端子に対する前記側方バネの接触点の位置を基準として両側に間隔をあけて一対で設けられる、
請求項3に記載の端子。
発明の詳細な説明
【技術分野】
【0001】
本発明は、端子に関する。
続きを表示(約 1,700 文字)
【背景技術】
【0002】
自動車の電気制御技術や電動化が進むにつれ、コネクタが自動車に多く使用され、当該コネクタを介して端子や電線に流れる通電電流の大電流化が進んでいる。そのため、特に自動車産業において、端子接続部が耐震性を有する必要がある。また、大電流は、一般的に、接触点(雌端子が雄端子に接触する箇所)を通って伝えられるため、雌端子側の接触点と雄端子との間の良好な電気的接触が、さらに要求される。
【0003】
例えば、特許文献1には、SUS材料で形成された端子ボックスと、当該端子ボックスと一体で形成されているばね部とを備える端子(雌端子)が開示されている。
【先行技術文献】
【特許文献】
【0004】
特開2007-179987号公報
【発明の概要】
【発明が解決しようとする課題】
【0005】
ところで、上述の特許文献1に記載の端子は、相手方端子(雄タブ)にばね部(導通バネ)を接触させることで相手方端子と電気的に接続されるが、導通バネの構成材料として導電率が高い材料を用いるとばね特性が低下し、ばね特性が高い材料を用いると導電率が低下するため、端子同士の接合部位における導通性能が低下する傾向がある。
【0006】
本発明は、上記の事情に鑑みてなされたものであって、適正な導通性能を確保することができる端子を提供することを目的とする。
【課題を解決するための手段】
【0007】
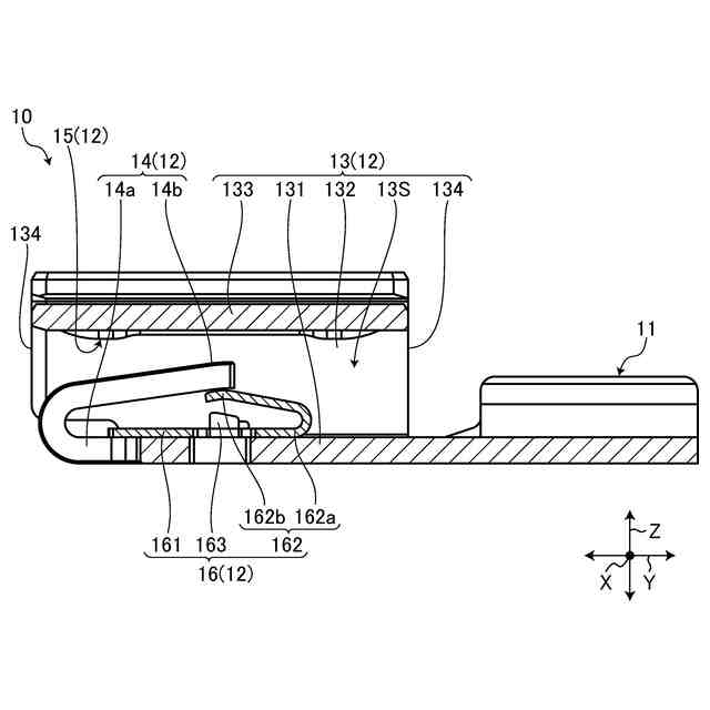
上記目的を達成するために、本発明に係る端子は、相手方端子と電気的に接続される端子接続部を備え、前記端子接続部は、内部に前記相手方端子が挿入される筒部と、前記筒部と一体で形成され、前記筒部の内部に弾性変形可能に支持され、前記筒部の内部に挿入された前記相手方端子と電気的に接続される導通バネと、前記筒部と別体で形成され、前記筒部の内部に弾性変形可能に保持され、前記導通バネに接触して当該導通バネを前記筒部の内部に挿入された前記相手方端子に押し付ける接触荷重バネと、を有することを特徴とする。
【発明の効果】
【0008】
本発明に係る端子は、適正な導通性能を確保することができる、という効果を奏する。
【図面の簡単な説明】
【0009】
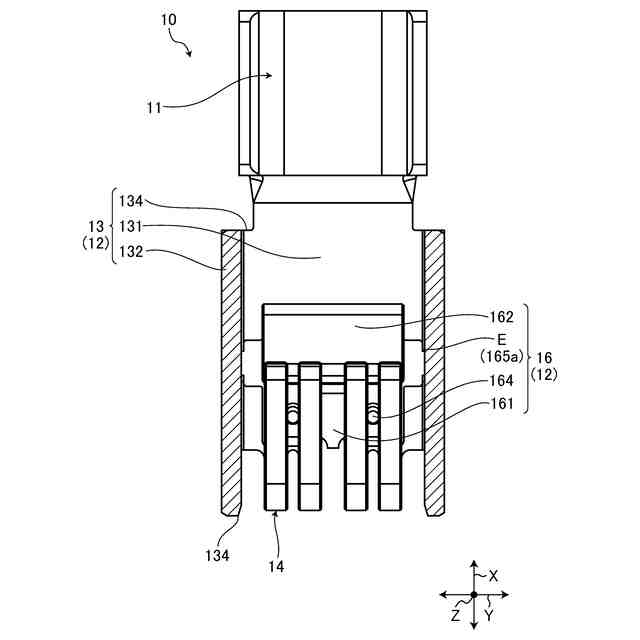
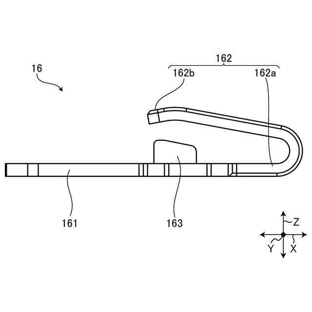
図1は、第1実施形態に係る端子が適用されるコネクタの概略構成を表す図である。
図2は、第1実施形態に係る端子の概略構成を表す斜視図である。
図3は、第1実施形態に係る端子の概略構成を表す斜視図である。
図4は、第1実施形態に係る端子の概略構成を表す正面図である。
図5は、図4に示すA-A断面図である。
図6は、図4に示すB-B断面図である。
図7は、第1実施形態に係る端子に適用される接触荷重バネの概略構成を表す斜視図である。
図8は、図7に示す接触荷重バネの概略構成を表す側面図である。
図9は、第1実施形態に係る端子の概略構成を表す展開図である。
図10は、第1実施形態に係る端子が適用されるコネクタの組み付けを表す図である。
図11は、第2実施形態に係る端子の概略構成を表す斜視図である。
図12は、第2実施形態に係る端子の概略構成を表す斜視図である。
図13は、第2実施形態に係る端子の概略構成を表す断面図である。
図14は、第2実施形態に係る端子の概略構成を表す断面図である。
図15は、第2実施形態に係る端子に適用される接触荷重バネの概略構成を表す斜視図である。
図16は、第2実施形態に係る端子が適用されるコネクタの組み付けを表す図である。
【発明を実施するための形態】
【0010】
以下に、本発明に係る実施形態を図面に基づいて詳細に説明する。なお、この実施形態によりこの発明が限定されるものではない。また、下記実施形態における構成要素には、当業者が置換可能かつ容易なもの、あるいは実質的に同一のものが含まれる。
(【0011】以降は省略されています)
この特許をJ-PlatPat(特許庁公式サイト)で参照する
関連特許
矢崎総業株式会社
端子
22日前
矢崎総業株式会社
箱状体
15日前
矢崎総業株式会社
箱状体
1か月前
矢崎総業株式会社
箱状体
1か月前
矢崎総業株式会社
箱状体
15日前
矢崎総業株式会社
箱状体
15日前
矢崎総業株式会社
照明装置
28日前
矢崎総業株式会社
照明装置
22日前
矢崎総業株式会社
照明装置
23日前
矢崎総業株式会社
照明装置
23日前
矢崎総業株式会社
コネクタ
14日前
矢崎総業株式会社
コネクタ
今日
矢崎総業株式会社
コネクタ
14日前
矢崎総業株式会社
報知装置
29日前
矢崎総業株式会社
接続構造
15日前
矢崎総業株式会社
バスバー
1か月前
矢崎総業株式会社
コネクタ
1か月前
矢崎総業株式会社
コネクタ
1か月前
矢崎総業株式会社
コネクタ
1か月前
矢崎総業株式会社
カバー構造
20日前
矢崎総業株式会社
電気接続箱
1か月前
矢崎総業株式会社
画像表示装置
23日前
矢崎総業株式会社
コネクタ構造
29日前
矢崎総業株式会社
コネクタ構造
29日前
矢崎総業株式会社
コネクタ構造
29日前
矢崎総業株式会社
端子付き電線
1か月前
矢崎総業株式会社
フラット導体
1か月前
矢崎総業株式会社
画像表示装置
23日前
矢崎総業株式会社
車両用室内灯
12日前
矢崎総業株式会社
通信ケーブル
12日前
矢崎総業株式会社
スイッチ装置
12日前
矢崎総業株式会社
スイッチ装置
12日前
矢崎総業株式会社
スイッチ装置
12日前
矢崎総業株式会社
車両用室内灯
12日前
矢崎総業株式会社
車両用表示装置
23日前
矢崎総業株式会社
車両用表示装置
27日前
続きを見る
他の特許を見る