TOP
|
特許
|
意匠
|
商標
特許ウォッチ
Twitter
他の特許を見る
10個以上の画像は省略されています。
公開番号
2025165539
公報種別
公開特許公報(A)
公開日
2025-11-05
出願番号
2024069647
出願日
2024-04-23
発明の名称
コネクタ
出願人
矢崎総業株式会社
代理人
個人
,
個人
,
個人
主分類
H01R
13/42 20060101AFI20251028BHJP(基本的電気素子)
要約
【課題】フロントホルダをハウジングの前端部に装着する際にフロントホルダに対して強い反力が発生することを抑制して、フロントホルダの装着時及び取外し時の操作力を低く抑えることができるコネクタを提供する。
【解決手段】コネクタ1は、相手ハウジング111と嵌合可能なハウジング2と、ハウジング2の前端部14に装着されるフロントホルダ3とを備える。ハウジング2は、本係止ロック部28を有する。フロントホルダ3は、フロントホルダ3がハウジング2に本係止される際に本係止ロック部28に係止される本係止ロック37と、本係止ロック37を前後方向に挟み込むように設けられる一対の本係止スリット37aとを有する。
【選択図】図8
特許請求の範囲
【請求項1】
相手ハウジングと嵌合可能なハウジングと、
前記ハウジングの前端部に装着されるフロントホルダと、を備え、
前記ハウジングは、本係止ロック部を有し、
前記フロントホルダは、
前記フロントホルダが前記ハウジングに本係止される際に前記本係止ロック部に係止される本係止ロックと、
前記本係止ロックを前後方向に挟み込むように設けられる一対の本係止スリットと、を有する、
コネクタ。
続きを表示(約 800 文字)
【請求項2】
前記本係止ロックは、前記フロントホルダが仮係止位置から本係止位置へと移動する際に前記本係止ロック部の上方を通過するように構成され、
前記本係止ロック部の上部には、前方から後方に向けて上り傾斜状に形成される本係止挿入傾斜面部と、前記本係止挿入傾斜面部の後方に位置して前方から後方に向けて下り傾斜状に形成される本係止解除傾斜面部と、が設けられ、
前記本係止ロックの下部には、前方から後方に向けて上り傾斜状に形成される挿入傾斜面と、前記挿入傾斜面の前方に位置して前方から後方に向けて下り傾斜状に形成される解除傾斜面と、が設けられる、
請求項1に記載のコネクタ。
【請求項3】
前記ハウジングは、仮係止ロック部を有し、
前記フロントホルダは、
前記フロントホルダが前記ハウジングに仮係止される際に前記仮係止ロック部に係止される仮係止ロックと、
前記仮係止ロックを左右方向に挟み込むように設けられる一対の仮係止スリットと、を有する、
請求項1又は2に記載のコネクタ。
【請求項4】
前記フロントホルダは、前記フロントホルダの後端部に突設されたフランジ部を有し、
前記フランジ部の基端部には、
一対の前記仮係止スリットに連続するフランジ側仮係止スリットと、
一対の前記本係止スリットの内の後方側の前記本係止スリットに連続するフランジ側本係止スリットと、が設けられる。
請求項3に記載のコネクタ。
【請求項5】
前記ハウジングの前端部に装着される環状のシール部材を備え、
前記フランジ部は、前記フロントホルダが前記ハウジングの前端部に本係止された状態において前記シール部材の前方に位置する抜け防止部を有する、
請求項4に記載のコネクタ。
発明の詳細な説明
【技術分野】
【0001】
本発明は、コネクタに関する。
続きを表示(約 1,900 文字)
【背景技術】
【0002】
従来、コネクタとして、相手ハウジングと嵌合可能なハウジングと、ハウジングの前端部に装着されるフロントホルダとを備えたものが知られている(特許文献1参照)。特許文献1に記載のコネクタは、フロントリテーナ(フロントホルダ)の外面から突出した形態であり、フロントリテーナに外嵌される相手ハウジングの内周面に押圧されることで、フロントリテーナと相手ハウジングとをガタ詰めする突起を備える。
【先行技術文献】
【特許文献】
【0003】
特開2014-203633号公報
【発明の概要】
【発明が解決しようとする課題】
【0004】
前述のようなコネクタにおいては、フロントホルダをハウジングの前端部に装着する際にフロントホルダが撓み難く、フロントホルダに対して強い反力が発生することにより、フロントホルダの装着時及び取外し時の操作力が高くなってしまう可能性がある。
【0005】
本発明は、このような従来技術が有する課題に鑑みてなされたものである。そして本発明の目的は、フロントホルダをハウジングの前端部に装着する際にフロントホルダに対して強い反力が発生することを抑制して、フロントホルダの装着時及び取外し時の操作力を低く抑えることができるコネクタを提供することにある。
【課題を解決するための手段】
【0006】
本発明の態様に係るコネクタは、相手ハウジングと嵌合可能なハウジングと、ハウジングの前端部に装着されるフロントホルダと、を備え、ハウジングは、本係止ロック部を有し、フロントホルダは、フロントホルダがハウジングに本係止される際に本係止ロック部に係止される本係止ロックと、本係止ロックを前後方向に挟み込むように設けられる一対の本係止スリットと、を有する。
【発明の効果】
【0007】
本発明によれば、フロントホルダをハウジングの前端部に装着する際にフロントホルダに対して強い反力が発生することを抑制して、フロントホルダの装着時及び取外し時の操作力を低く抑えることができるコネクタを提供することができる。
【図面の簡単な説明】
【0008】
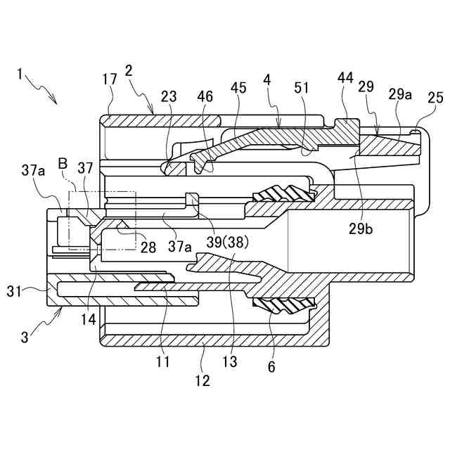
本実施形態に係るコネクタの一例を示す斜視図である。
図1に示すコネクタの分解斜視図である。
ハウジングの一部破断の斜視図である。
図2とは反対側から見た嵌合検知部材の斜視図である。
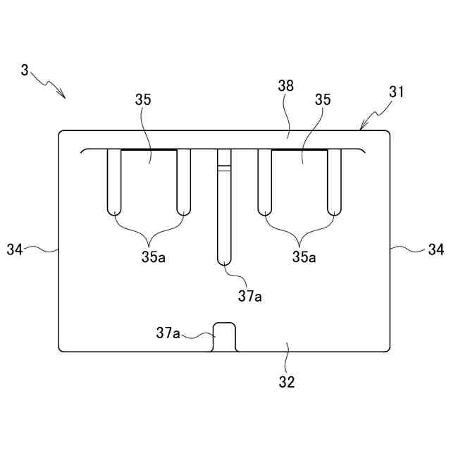
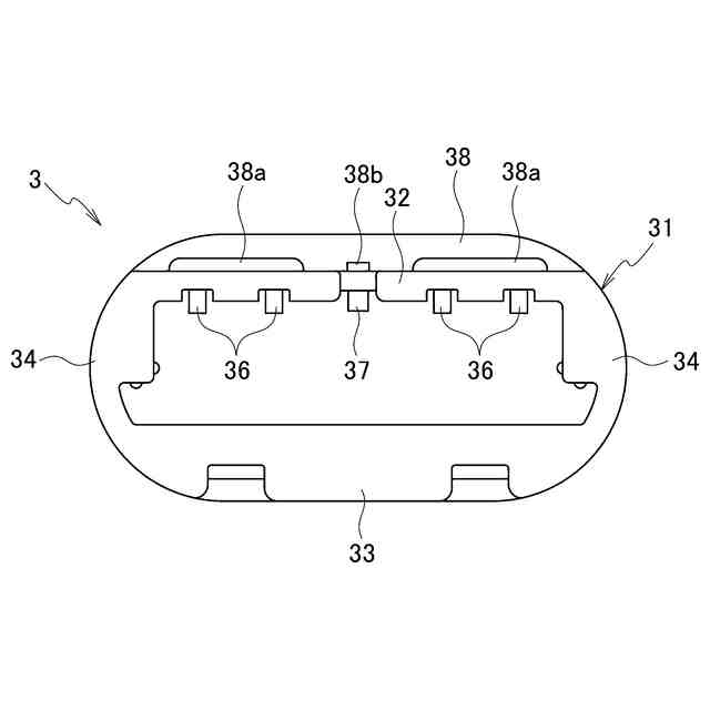
コネクタを構成するフロントホルダの正面図である。
図5に示すフロントホルダの平面図である。
ハウジングへのフロントホルダ装着時(仮係止状態)を示す正面図である。
図7のA-A線による断面図である。
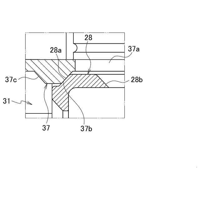
図8のB部の拡大図である。
図7のC-C線による断面図である。
図7のA-A線断面に対応するハウジングへのフロントホルダ装着時(本係止状態)を示す断面図である。
図11のD部の拡大図である。
図11のE部の拡大図である。
嵌合検知部材をハウジングロック機構に載置した状態を示す左右中央の断面図である。
嵌合検知部材をハウジングロック機構に載置した状態を示す外縁側の断面図である。
嵌合検知部材を挿入中の状態を示す左右中央の断面図である。
嵌合検知部材の組付け完了後の状態を示す断面図である。
嵌合検知部材の組付け完了後の状態を示す断面図である。
コネクタと相手コネクタとを嵌合する前の状態を示す正面図である。
図19のF-F線による断面図である。
図19のG-G線による断面図である。
図19のF-F線断面に対応するコネクタと相手コネクタとの嵌合途中の状態を示す断面図である。
図19のG-G線断面に対応するコネクタと相手コネクタとの嵌合途中の状態を示す断面図である。
【発明を実施するための形態】
【0009】
以下、図面を用いて本実施形態に係るコネクタについて詳細に説明する。なお、図面の寸法比率は説明の都合上誇張されており、実際の比率と異なる場合がある。
【0010】
[コネクタ1の概略構成]
図1~図4に示すように、コネクタ1は、ハウジング2と、フロントホルダ3と、嵌合検知部材4と、シール部材6とを備える。本実施形態において、コネクタ1は、前後方向に沿って相手コネクタ101(図19~図23参照、オスコネクタ)と嵌合可能に構成されるメスコネクタである。
(【0011】以降は省略されています)
この特許をJ-PlatPat(特許庁公式サイト)で参照する
関連特許
日機装株式会社
加圧装置
2日前
日新イオン機器株式会社
イオン源
2日前
株式会社GSユアサ
蓄電装置
17日前
株式会社GSユアサ
蓄電装置
1か月前
富士電機株式会社
電磁接触器
17日前
三菱電機株式会社
回路遮断器
25日前
トヨタ自動車株式会社
蓄電装置
9日前
個人
電源ボックス及び電子機器
2日前
日本特殊陶業株式会社
保持装置
1か月前
大電株式会社
電線又はケーブル
9日前
ホシデン株式会社
複合コネクタ
11日前
株式会社トクミ
ケーブル
3日前
株式会社東芝
電子源
2日前
ヒロセ電機株式会社
電気コネクタ
17日前
日本無線株式会社
レーダアンテナ
1か月前
甲神電機株式会社
変流器及び零相変流器
1か月前
矢崎総業株式会社
コネクタ
17日前
株式会社レゾナック
冷却器
25日前
ローム株式会社
半導体モジュール
18日前
住友電装株式会社
コネクタ
17日前
株式会社デンソー
熱交換部材
1か月前
株式会社パロマ
監視システム
9日前
矢崎総業株式会社
端子
9日前
日本航空電子工業株式会社
コネクタ
1か月前
トヨタ自動車株式会社
蓄電装置構造
3日前
日本特殊陶業株式会社
アンテナ装置
4日前
三菱電機株式会社
半導体装置
2日前
日本特殊陶業株式会社
アンテナ装置
4日前
株式会社デンソー
半導体装置
17日前
日本航空電子工業株式会社
コネクタ
2日前
日本特殊陶業株式会社
アンテナ装置
4日前
株式会社ダイヘン
電圧調整装置
4日前
TDK株式会社
電子部品
4日前
TDK株式会社
電子部品
17日前
矢崎総業株式会社
バスバー電線
10日前
株式会社興電舎
励磁突入電流抑制方法
2日前
続きを見る
他の特許を見る