TOP
|
特許
|
意匠
|
商標
特許ウォッチ
Twitter
他の特許を見る
10個以上の画像は省略されています。
公開番号
2025149217
公報種別
公開特許公報(A)
公開日
2025-10-08
出願番号
2024049720
出願日
2024-03-26
発明の名称
電気接続箱
出願人
矢崎総業株式会社
代理人
弁理士法人栄光事務所
主分類
H02G
3/16 20060101AFI20251001BHJP(電力の発電,変換,配電)
要約
【課題】フレームの嵌合保持部に接続体を確実に組付けることができる電気接続箱を提供する。
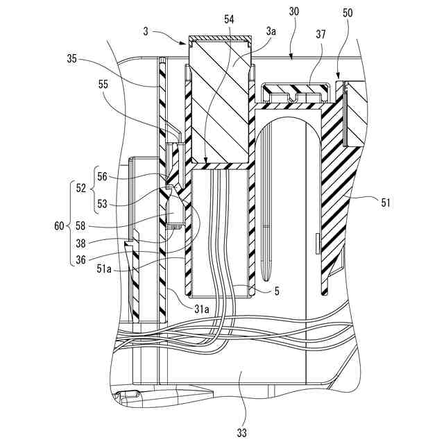
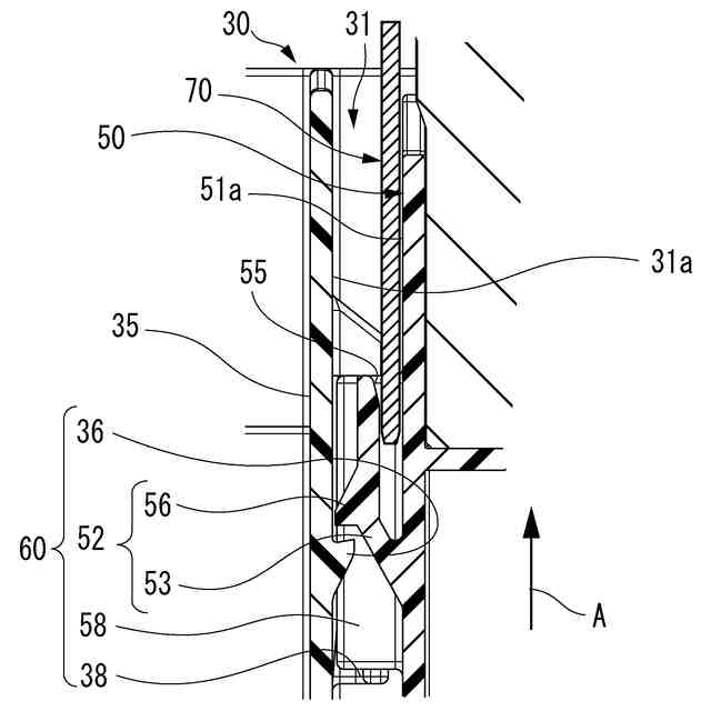
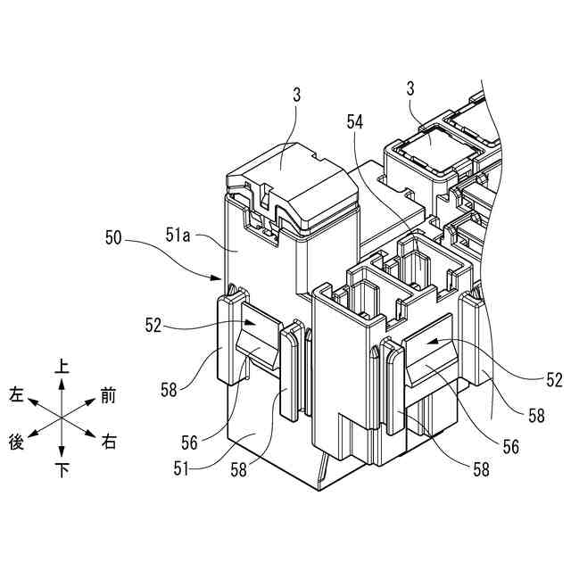
【解決手段】電気接続箱は、電子部品3及び電子部品3の端子に対して電気的に接続される電線5が組み付けられた接続体50と、接続体50が嵌合及び保持される嵌合保持部31を有するフレーム30と、フレーム30の下部開口から挿入された接続体50を嵌合保持部31に対して係止するロック構造60と、を備える。ロック構造60は、嵌合保持部31の内壁面31aに突設されたロック突起36と、接続体50の外側面51aに突設され、先端部が外側面51aに沿って接続体50の嵌入方向Aに延びる片持ち梁状のロックアーム52と、を有する。ロックアーム52は、可撓性のアーム本体53と、アーム本体53の外面から突出してロック突起36に係合する係合凸部56と、を有する。
【選択図】図5
特許請求の範囲
【請求項1】
電子部品及び前記電子部品の端子に対して電気的に接続される電線が組み付けられた接続体と、前記接続体が嵌合及び保持される嵌合保持部を有するフレームと、前記フレームの下部開口から挿入された前記接続体を前記嵌合保持部に対して係止するロック構造と、を備える電気接続箱であって、
前記ロック構造は、前記嵌合保持部の内壁面に突設されたロック突起と、前記接続体の外側面に突設され、先端部が前記外側面に沿って前記接続体の嵌入方向に延びる片持ち梁状のロックアームと、を有し、
前記ロックアームは、可撓性のアーム本体と、前記アーム本体の外面から突出して前記ロック突起に係合する係合凸部と、を有する、
電気接続箱。
続きを表示(約 400 文字)
【請求項2】
前記ロック構造は、
前記ロックアームが間に介在されるように互いに対向配置されて前記外側面に突設され、前記嵌入方向に沿って延在された一対の被ガイドレール部と、
前記ロック突起が間に介在されるように互いに対向配置されて前記内壁面に突設され、前記係合凸部が前記ロック突起に対して係合完了位置になるまで前記一対の被ガイドレール部を挿入案内する一対のガイドレール部と、を有する、
請求項1に記載の電気接続箱。
【請求項3】
前記ロックアームは、前記先端部が前記嵌合保持部の上部開口から突出しないように構成される、
請求項1又は2に記載の電気接続箱。
【請求項4】
前記先端部の内面側には、前記嵌入方向に沿って前記接続体の前記外側面から離れる方向に傾斜するテーパ面が形成される、
請求項3に記載の電気接続箱。
発明の詳細な説明
【技術分野】
【0001】
本発明は、電気接続箱に関する。
続きを表示(約 1,600 文字)
【背景技術】
【0002】
例えばヒューズやリレー等の電子部品を表面に着脱可能に装着する車載用の電気接続箱が知られている(特許文献1等参照)。この種の電気接続箱には、筐体等の内部に収容される電子部品の収容性を向上させるべく、電子部品及び電子部品の端子に対して電気的に接続される電線が組付けられた電子部品ブロック(接続体)をフレームに着脱自在に配置したものが知られている。フレームの下部開口から挿入された電子部品ブロックは、ロック構造によってフレームに着脱自在に係止され、フレームに対して抜け止めされる。
【0003】
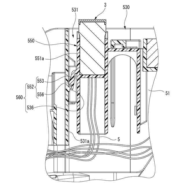
図9に示すように、従来のロック構造560は、フレーム530における嵌合保持部531の内壁面531aに突設されたロック突起536と、電子部品3が組み付けられる接続体550の外側面551aに形成された片持ち梁状のロックアーム552とを備えて構成される。
ロックアーム552は、先端部が接続体550の外側面551aに沿って嵌入方向と反対方向(図中、下方)に延びる可撓性のアーム本体553と、このアーム本体553の外面から突出する係合凸部556とを有する。
【0004】
そこで、フレーム530の下部開口から接続体550が挿入されると、フレーム530のロック突起536がロックアーム552の外面を押圧することで、アーム本体553が基部を支持点として内側に撓んで係合凸部556がロック突起536を乗り越えた後、弾性復帰したロックアーム552の係合凸部556をロック突起536が係止する。これにより、接続体550はフレーム530に対して抜け止めされる。
【0005】
ところで、この種の電気接続箱におけるロック構造560では、フレーム530の嵌合保持部531に嵌合された接続体550におけるロックアーム552の半嵌合を検知するために、フレーム530の下部開口から確認する必要がある。
【0006】
即ち、図10に示すように、ロックアーム552の係合凸部556と、フレーム530のロック突起536との係合状態をフレーム530の下部開口から目視で確認したり、図11に示すように、接続体550の外側面551aと、ロックアーム552のアーム本体553との間のアーム撓み空間に検知治具70を挿入してロックアームの半嵌合状態を検知したりする必要があった。
【先行技術文献】
【特許文献】
【0007】
特開2019-198144号公報
【発明の概要】
【発明が解決しようとする課題】
【0008】
しかしながら、従来のロック構造560では、ロックアーム552の半嵌合状態を容易に確認することができないという問題があった。
即ち、この種の電気接続箱では、図9に示したように、電気接続箱内に収容された複数の電子部品3の端子に接続されて下方に引き出された多数の電線5が、導出口に向けてフレーム530の下部に配索されている。
【0009】
そこで、これら電線5が接続体550の下方を通過してロック構造560に被るため、フレーム530の下部開口からのロックアーム552の目視が困難となったり、検知治具70をアーム撓み空間に挿入するスペースが確保できなくなったりし、ロック構造560の半嵌合確認が困難となる。その結果、フレームの嵌合保持部に接続体を確実に組付けることができないという問題があった。
【0010】
本発明は上記状況に鑑みてなされたもので、その目的は、フレームの嵌合保持部に接続体を確実に組付けることができる電気接続箱を提供することにある。
【課題を解決するための手段】
(【0011】以降は省略されています)
この特許をJ-PlatPat(特許庁公式サイト)で参照する
関連特許
矢崎総業株式会社
端子
4日前
矢崎総業株式会社
コネクタ
18日前
矢崎総業株式会社
照明装置
4日前
矢崎総業株式会社
報知装置
11日前
矢崎総業株式会社
照明装置
5日前
矢崎総業株式会社
照明装置
10日前
矢崎総業株式会社
バスバー
15日前
矢崎総業株式会社
照明装置
5日前
矢崎総業株式会社
カバー構造
2日前
矢崎総業株式会社
画像表示装置
5日前
矢崎総業株式会社
コネクタ構造
11日前
矢崎総業株式会社
端子付き電線
16日前
矢崎総業株式会社
コネクタ構造
11日前
矢崎総業株式会社
コネクタ構造
11日前
矢崎総業株式会社
画像表示装置
5日前
矢崎総業株式会社
車両用表示装置
5日前
矢崎総業株式会社
車両用表示装置
9日前
矢崎総業株式会社
車両用表示装置
5日前
矢崎総業株式会社
バスバ配置構造
3日前
矢崎総業株式会社
車両用表示装置
5日前
矢崎総業株式会社
車室内照明装置
4日前
矢崎総業株式会社
車両用表示装置
5日前
矢崎総業株式会社
バスバ配置構造
16日前
矢崎総業株式会社
導電モジュール
2日前
矢崎総業株式会社
導電モジュール
2日前
矢崎総業株式会社
充電インレット
10日前
矢崎総業株式会社
クランプ固定構造
16日前
矢崎総業株式会社
ワイヤーハーネス
18日前
矢崎総業株式会社
電気接続ユニット
10日前
矢崎総業株式会社
光センシング装置
9日前
矢崎総業株式会社
バスバー放熱構造
3日前
矢崎総業株式会社
ホルダ付きコネクタ
2日前
矢崎総業株式会社
端子及び端子付き電線
10日前
矢崎総業株式会社
車載部品の筐体の取付構造
9日前
矢崎総業株式会社
光送信器及び光通信システム
9日前
矢崎総業株式会社
導体保持構造及び電気接続箱
17日前
続きを見る
他の特許を見る