TOP
|
特許
|
意匠
|
商標
特許ウォッチ
Twitter
他の特許を見る
公開番号
2025159780
公報種別
公開特許公報(A)
公開日
2025-10-22
出願番号
2024062534
出願日
2024-04-09
発明の名称
充電インレット
出願人
矢崎総業株式会社
代理人
個人
,
個人
,
個人
主分類
B60L
53/16 20190101AFI20251015BHJP(車両一般)
要約
【課題】簡易的な構造でインジケータ機能と照明機能とを有する充電インレットを提供する。
【解決手段】充電インレット1は、充電口15を有するインレットハウジング10と、充電口15が照射領域IAに入る光を照射する照明部20と、インレットハウジング10の外装面13aに、照明部20から照射された光Laの照射領域IAに入るように充電口15の外周の少なくとも一部の形状に合わせて貼付される反射テープ30とを備える。照明部20は、光Laの色を可変とする光源21を備え、光源21は、充電時の稼働状態に対応した照射パターンに基づいて光Laを射出してもよい。
【選択図】図1
特許請求の範囲
【請求項1】
充電口を有するインレットハウジングと、
前記充電口が照射領域に入る光を照射する照明部と、
前記インレットハウジングの外装面に、前記照明部から照射された前記光の前記照射領域に入るように前記充電口の外周の少なくとも一部の形状に合わせて貼付される反射テープと、を備える、充電インレット。
続きを表示(約 370 文字)
【請求項2】
前記照明部は、前記光の色を可変とする光源を備え、
前記光源は、充電時の稼働状態に対応した照射パターンに基づいて前記光を射出する、請求項1に記載の充電インレット。
【請求項3】
前記反射テープは、一対あり、
一対の前記反射テープは、それぞれ前記充電口の外周の一部の形状に合い、かつ、前記照明部が前記充電口に向かう方向に対して直交する方向で前記充電口を挟んで対称な形状を有する、請求項1又は2に記載の充電インレット。
【請求項4】
前記反射テープの平面形状は、前記充電口の外周の少なくとも一部の形状に沿う曲線状である、請求項1又は2に記載の充電インレット。
【請求項5】
前記反射テープの平面形状は、直線状部の組み合わせである、請求項1又は2に記載の充電インレット。
発明の詳細な説明
【技術分野】
【0001】
本発明は、充電インレットに関する。
続きを表示(約 1,300 文字)
【背景技術】
【0002】
従来、電気自動車又はプラグインハイブリッド自動車等の車両に設置され、車両外部から車載バッテリに電力を供給させるための充電インレットがある。また、充電インレットでの充電口の近傍には、バッテリの充電状態等を表示する装置が設置される場合もある。特許文献1には、給電口(充電口)の近傍に設置され、適宜、色を変化させて点滅することで給電状態(充電状態)をユーザーに認知させる発光部を備えた車両用照明装置に関する技術が開示されている。
【先行技術文献】
【特許文献】
【0003】
特開2018-43744号公報
【発明の概要】
【発明が解決しようとする課題】
【0004】
特許文献1に開示の車両用照明装置では、イルミネーションユニットの一部として、二種類の発光部が、それぞれ、複数の光源、導光体、レンズ及び反射板から構成されているので、充電インレット全体としての構造も複雑化する。また、これらの発光部は、充電口の近傍に設置されているものの、充電口の全体を照らすことが難しいため、夜間等においてユーザーの給電作業を補助するための照明としては不十分である。
【0005】
本発明は、このような従来技術が有する課題に鑑みてなされたものである。そして本発明の目的は、簡易的な構造でインジケータ機能と照明機能とを有する充電インレットを提供することにある。
【課題を解決するための手段】
【0006】
本発明の態様に係る充電インレットは、充電口を有するインレットハウジングと、充電口が照射領域に入る光を照射する照明部と、インレットハウジングの外装面に、照明部から照射された光の照射領域に入るように充電口の外周の少なくとも一部の形状に合わせて貼付される反射テープと、を備える。
【発明の効果】
【0007】
本発明によれば、簡易的な構造でインジケータ機能と照明機能とを有する充電インレットを提供することができる。
【図面の簡単な説明】
【0008】
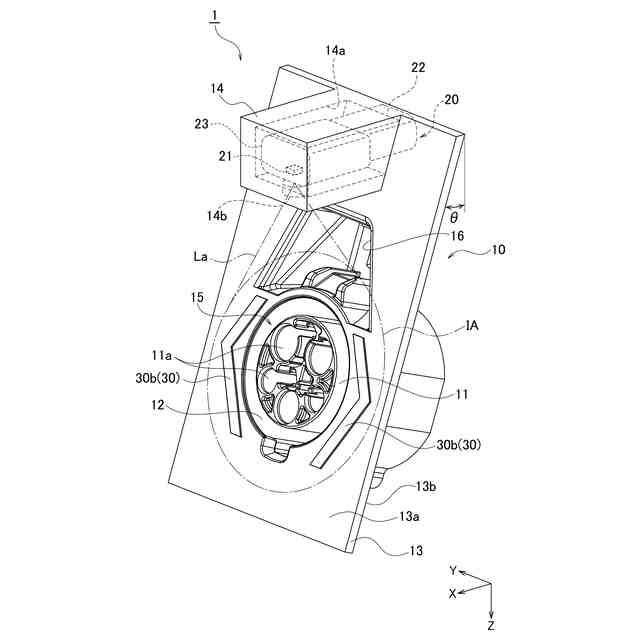
一実施形態に係る充電インレットの斜視図である。
反射テープの貼り付け時を示す充電インレットの斜視図である。
他の実施形態に係る充電インレットの斜視図である。
稼働状態ごとに対応した光の照射パターンを示す表である。
【発明を実施するための形態】
【0009】
以下、図面を用いて各実施形態に係る充電インレットについて詳細に説明する。なお、図面の寸法比率は説明の都合上誇張されており、実際の比率と異なる場合がある。
【0010】
図1は、一実施形態に係る充電インレット1の斜視図である。以下、一例として、車両に設置されている状態での充電インレット1と、充電インレット1に取り付けられている状態での照明部20とを想定して、各方向を次のように規定する。まず、Z方向は、鉛直方向に対応し、本実施形態では、充電インレット1に対して照明部20が取り付けられる方向にも対応する。また、Z方向と直交する水平面をXY平面と規定し、X方向とY方向とは、XY平面において互いに直交する。
(【0011】以降は省略されています)
この特許をJ-PlatPat(特許庁公式サイト)で参照する
関連特許
矢崎総業株式会社
端子
16日前
矢崎総業株式会社
照明灯
2か月前
矢崎総業株式会社
箱状体
1か月前
矢崎総業株式会社
箱状体
1か月前
矢崎総業株式会社
箱状体
9日前
矢崎総業株式会社
箱状体
9日前
矢崎総業株式会社
箱状体
9日前
矢崎総業株式会社
報知装置
23日前
矢崎総業株式会社
コネクタ
1か月前
矢崎総業株式会社
照明装置
17日前
矢崎総業株式会社
照明装置
17日前
矢崎総業株式会社
コネクタ
1か月前
矢崎総業株式会社
コネクタ
1か月前
矢崎総業株式会社
照明装置
22日前
矢崎総業株式会社
止水部材
1か月前
矢崎総業株式会社
コネクタ
2か月前
矢崎総業株式会社
照明構造
1か月前
矢崎総業株式会社
照明装置
16日前
矢崎総業株式会社
コネクタ
1か月前
矢崎総業株式会社
バスバー
27日前
矢崎総業株式会社
コネクタ
1か月前
矢崎総業株式会社
コネクタ
1か月前
矢崎総業株式会社
コネクタ
1か月前
矢崎総業株式会社
コネクタ
1か月前
矢崎総業株式会社
コネクタ
1か月前
矢崎総業株式会社
コネクタ
1か月前
矢崎総業株式会社
コネクタ
1か月前
矢崎総業株式会社
コネクタ
1か月前
矢崎総業株式会社
コネクタ
1か月前
矢崎総業株式会社
コネクタ
1か月前
矢崎総業株式会社
コネクタ
1か月前
矢崎総業株式会社
コネクタ
1か月前
矢崎総業株式会社
コネクタ
1か月前
矢崎総業株式会社
コネクタ
1か月前
矢崎総業株式会社
コネクタ
8日前
矢崎総業株式会社
接続構造
9日前
続きを見る
他の特許を見る