TOP
|
特許
|
意匠
|
商標
特許ウォッチ
Twitter
他の特許を見る
公開番号
2025134177
公報種別
公開特許公報(A)
公開日
2025-09-17
出願番号
2024031917
出願日
2024-03-04
発明の名称
コネクタ
出願人
矢崎総業株式会社
代理人
弁理士法人虎ノ門知的財産事務所
主分類
H01R
13/64 20060101AFI20250909BHJP(基本的電気素子)
要約
【課題】強度の向上を図ることができるコネクタを提供すること。
【解決手段】コネクタ1は、相手方コネクタと接続可能に構成され、接続方向Xに沿って組付空間22を形成しているハウジング2と、組付空間22に挿入されハウジング2に対し接続方向Xに沿って仮係止位置から本係止位置へ移動可能に組み付けられる位置保証部材3と、を備え、組付空間22は、ハウジングに形成され接続方向Xに延びる二つの側壁23の間に形成され、ハウジングは、組付空間22に組み付けられた位置保証部材3と係合し位置保証部材3を本係止位置で係止する係止部材24を有し、係止部材24は、二つの側壁23の間に架設され相手方コネクタに対向する嵌合面側に設けられる架設部244を有し、架設部244は、相手方コネクタと対向する面を接続方向Xに沿って窪ませた凹部を形成するように構成されている。
【選択図】図2
特許請求の範囲
【請求項1】
相手方コネクタと接続可能に構成され、接続方向に沿って組付空間を形成しているハウジングと、
前記組付空間に挿入され前記ハウジングに対し前記接続方向に沿って仮係止位置から本係止位置へ移動可能に組み付けられる位置保証部材と、を備え、
前記組付空間は、前記ハウジングに形成され前記接続方向に延びる二つの側壁の間に形成され、
前記ハウジングは、前記組付空間に組み付けられた前記位置保証部材と係合し前記位置保証部材を前記本係止位置で係止する係止部材を有し、
前記係止部材は、前記二つの側壁の間に架設され前記相手方コネクタに対向する嵌合面側に設けられる架設部を有し、
前記架設部は、前記相手方コネクタと対向する面を前記接続方向に沿って窪ませた凹部を形成している、
コネクタ。
続きを表示(約 120 文字)
【請求項2】
前記位置保証部材は、前記ハウジングに組み付けられて前記本係止位置に配置された状態で、前記係止部材から離間し、前記側壁から前記組付空間側へ突出して形成されるガイド部に当接されている、
請求項1に記載のコネクタ。
発明の詳細な説明
【技術分野】
【0001】
本発明は、コネクタに関する。
続きを表示(約 1,700 文字)
【背景技術】
【0002】
従来、コネクタに関するものとして、例えば、特許文献1に記載されるように、相手方コネクタに接続されるコネクタであって、コネクタ位置保証機能を有するコネクタが知られている。このコネクタは、相手方コネクタとの嵌合状態を保証する位置保証部材を備えている。位置保証部材は、コネクタのハウジングに取り付けられ、待機位置に配置される。位置保証部材は、コネクタと相手方コネクタが嵌合した後に、嵌合方向へ移動され、待機位置から嵌合ロック位置へ移動させられる。位置保証部材が嵌合ロック位置へ移動できれば、コネクタと相手方コネクタが適切に嵌合していることが保証される。
【先行技術文献】
【特許文献】
【0003】
特開2017-157454号公報
【発明の概要】
【発明が解決しようとする課題】
【0004】
上述したコネクタは、ハウジングと位置保証部材が係合する部分があり、この係合する部分の機械的強度が他の部分と比べて低くなる場合がある。このため、強度の向上が図れるコネクタの開発が望まれている。
【0005】
そこで、本発明は、強度の向上が図れるコネクタを提供することを目的とする。
【課題を解決するための手段】
【0006】
すなわち、本発明に係るコネクタは、相手方コネクタと接続可能に構成され、接続方向に沿って組付空間を形成しているハウジングと、前記組付空間に挿入され前記ハウジングに対し前記接続方向に沿って仮係止位置から本係止位置へ移動可能に組み付けられる位置保証部材と、を備え、前記組付空間は、前記ハウジングに形成され前記接続方向に延びる二つの側壁の間に形成され、前記ハウジングは、前記組付空間に組み付けられた前記位置保証部材と係合し前記位置保証部材を前記本係止位置で係止する係止部材を有し、前記係止部材は、前記二つの側壁の間に架設され前記相手方コネクタに対向する嵌合面側に設けられる架設部を有し、前記架設部は、前記相手方コネクタと対向する面を前記接続方向に沿って窪ませた凹部を形成するように構成されている。
【発明の効果】
【0007】
本発明に係るコネクタによれば、強度の向上を図ることができる。
【図面の簡単な説明】
【0008】
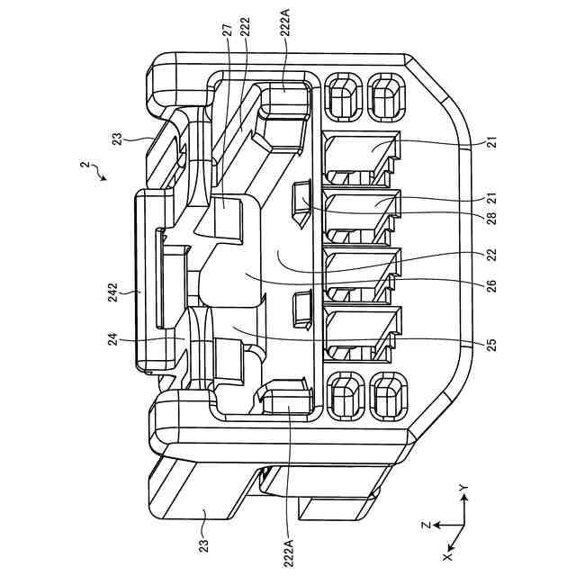
図1は、実施形態に係るコネクタの分解斜視図である。
図2は、実施形態に係るコネクタの斜視図である。
図3は、実施形態に係るコネクタの分解状態の平面図である。
図4は、実施形態に係るコネクタにおけるハウジングの斜視図である。
図5は、実施形態に係るコネクタにおける位置保証部材の本係止状態の説明図である。
図6は、実施形態に係るコネクタにおける接続の説明図である。
図7は、実施形態に係るコネクタにおける機械的強度の説明図である。
【発明を実施するための形態】
【0009】
以下に、本発明に係る実施形態を図面に基づいて詳細に説明する。なお、この実施形態により本発明が限定されるものではない。また、下記実施形態における構成要素には、当業者が置換可能かつ容易なもの、あるいは実質的に同一のものが含まれる。
【0010】
[実施形態]
本実施形態は、コネクタに関する。以下の説明では、互いに交差する第一方向、第二方向、及び、第三方向のうち、第一方向を「接続方向X」といい、第二方向を「幅方向Y」といい、第三方向を「高さ方向Z」という。ここでは、接続方向Xと幅方向Yと高さ方向Zとは、相互に直交する。接続方向Xは、コネクタと相手方コネクタの接続方向又は嵌合方向に相当する。幅方向Yは、コネクタの幅方向に相当する。幅方向Yと高さ方向Zとは、接続方向Xと直交する直交方向に相当する。また、以下の説明で用いる各方向は、特に断りのない限り、各部が相互に組み付けられた状態での方向を表すものとする。なお、ここでいう直交は、ほぼ直交を含む。
(【0011】以降は省略されています)
この特許をJ-PlatPat(特許庁公式サイト)で参照する
関連特許
矢崎総業株式会社
端子
4日前
矢崎総業株式会社
箱状体
24日前
矢崎総業株式会社
箱状体
24日前
矢崎総業株式会社
コネクタ
25日前
矢崎総業株式会社
バスバー
15日前
矢崎総業株式会社
コネクタ
18日前
矢崎総業株式会社
コネクタ
22日前
矢崎総業株式会社
コネクタ
23日前
矢崎総業株式会社
コネクタ
24日前
矢崎総業株式会社
コネクタ
24日前
矢崎総業株式会社
コネクタ
25日前
矢崎総業株式会社
コネクタ
25日前
矢崎総業株式会社
コネクタ
29日前
矢崎総業株式会社
照明装置
10日前
矢崎総業株式会社
コネクタ
29日前
矢崎総業株式会社
照明構造
29日前
矢崎総業株式会社
止水部材
29日前
矢崎総業株式会社
コネクタ
1か月前
矢崎総業株式会社
コネクタ
1か月前
矢崎総業株式会社
コネクタ
1か月前
矢崎総業株式会社
コネクタ
1か月前
矢崎総業株式会社
コネクタ
1か月前
矢崎総業株式会社
コネクタ
1か月前
矢崎総業株式会社
報知装置
11日前
矢崎総業株式会社
コネクタ
1か月前
矢崎総業株式会社
照明装置
5日前
矢崎総業株式会社
照明装置
5日前
矢崎総業株式会社
照明装置
4日前
矢崎総業株式会社
電気接続箱
24日前
矢崎総業株式会社
カバー構造
2日前
矢崎総業株式会社
電気接続箱
1か月前
矢崎総業株式会社
電気接続箱
24日前
矢崎総業株式会社
電気接続箱
24日前
矢崎総業株式会社
ゴムブーツ
29日前
矢崎総業株式会社
プロテクタ
29日前
矢崎総業株式会社
画像表示装置
5日前
続きを見る
他の特許を見る