TOP
|
特許
|
意匠
|
商標
特許ウォッチ
Twitter
他の特許を見る
公開番号
2025146030
公報種別
公開特許公報(A)
公開日
2025-10-03
出願番号
2024046596
出願日
2024-03-22
発明の名称
ゴムブーツ
出願人
矢崎総業株式会社
代理人
個人
,
個人
,
個人
主分類
H01R
13/52 20060101AFI20250926BHJP(基本的電気素子)
要約
【課題】シール性を保持することができ、組付性を向上することができるゴムブーツを提供する。
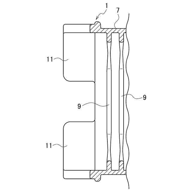
【解決手段】外形が多角形状のコネクタの外面に内面が密着され、外周に締付部材を締め付けることによってコネクタに固定される弾性変形可能な環状の嵌合部7を備えたゴムブーツ1において、嵌合部7の外形を、円形状に形成し、嵌合部7の内面に、コネクタの隣り合う角部の間に配置され、内方に向けて突出された複数のリップ部9を設けた。
【選択図】図3
特許請求の範囲
【請求項1】
外形が多角形状のコネクタの外面に内面が密着され、外周に締付部材を締め付けることによって前記コネクタに固定される弾性変形可能な環状の嵌合部を備え、
前記嵌合部は、外形が円形状に形成され、
前記嵌合部の内面には、前記コネクタの隣り合う角部の間に配置され、内方に向けて突出された複数のリップ部が設けられているゴムブーツ。
続きを表示(約 240 文字)
【請求項2】
前記嵌合部の前記コネクタ側の端面には、前記コネクタに向けて延出された把持部が設けられている請求項1に記載のゴムブーツ。
【請求項3】
前記把持部は、前記嵌合部の周方向に離間して複数設けられ、
複数の前記把持部は、前記コネクタの角部に配置されている請求項2に記載のゴムブーツ。
【請求項4】
前記リップ部は、前記コネクタに対する前記嵌合部の組付方向に沿って、複数設けられている請求項1から3のいずれか1項に記載のゴムブーツ。
発明の詳細な説明
【技術分野】
【0001】
本発明は、ゴムブーツに関する。
続きを表示(約 1,800 文字)
【背景技術】
【0002】
従来、ゴムブーツとしては、外形が四角形状のコネクタの外面に内面が密着され、外周に締付部材を締め付けることによってコネクタに固定される弾性変形可能な環状の嵌合部としてのフード部を備えたものが知られている(特許文献1参照)。このゴムブーツでは、フード部の外形が、コネクタの外形と同様の四角形状に形成されている。フード部の内面には、内方に向けて突出するリップ部が設けられている。リップ部は、フード部の周方向に連続して形成され、フード部の長辺部分に位置する部分が、内方に向けた突出量が大きい厚肉部となっている。このようなゴムブーツでは、フード部の外周に締付部材を締め付けたときに、リップ部にかかる締付力が異なるが、締付力が弱い部分に厚肉部を設けることで、コネクタの外面に対するリップ部の密着性を安定化している。
【先行技術文献】
【特許文献】
【0003】
特開2011-86396号公報
【発明の概要】
【発明が解決しようとする課題】
【0004】
ところで、上記特許文献1のようなゴムブーツでは、嵌合部の外形が、コネクタの外形に合わせて、多角形状に形成されている。嵌合部の外形を多角形状に形成すると、締付部材を締め付けたときに、嵌合部に締付力が均等にかからず、嵌合部の肉が角部に集まってしまい、嵌合部の内面とコネクタの外面との間に隙間が生じることがあり、シール性が低下していた。加えて、嵌合部の内面に、周方向に連続するリップ部を設けると、嵌合部を広げる方向に対する剛性が高くなる。このため、嵌合部をコネクタに組付けるときに、嵌合部を広げ難く、組付性が低下していた。
【0005】
本発明は、このような従来技術が有する課題に鑑みてなされたものである。そして本発明の目的は、シール性を保持することができ、組付性を向上することができるゴムブーツを提供することにある。
【課題を解決するための手段】
【0006】
本実施形態に係るゴムブーツは、外形が多角形状のコネクタの外面に内面が密着され、外周に締付部材を締め付けることによって前記コネクタに固定される弾性変形可能な環状の嵌合部を備え、前記嵌合部は、外形が円形状に形成され、前記嵌合部の内面には、前記コネクタの隣り合う角部の間に配置され、内方に向けて突出された複数のリップ部が設けられている。
【発明の効果】
【0007】
本発明によれば、シール性を保持することができ、組付性を向上することができるゴムブーツを提供することができる。
【図面の簡単な説明】
【0008】
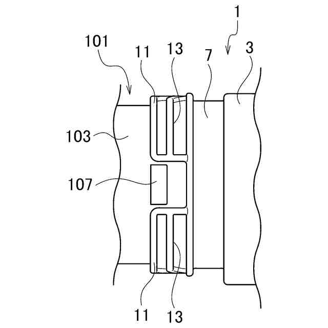
本実施形態に係るゴムブーツをコネクタに組付けたときの斜視図である。
本実施形態に係るゴムブーツをコネクタに組付けたときの要部拡大側面図である。
本実施形態に係るゴムブーツの斜視図である。
図3の要部拡大図である。
本実施形態に係るゴムブーツの要部拡大断面図である。
【発明を実施するための形態】
【0009】
以下、図面を用いて本実施形態に係るゴムブーツについて詳細に説明する。なお、図面の寸法比率は説明の都合上誇張されており、実際の比率と異なる場合がある。
【0010】
図1に示すように、本実施形態に係るゴムブーツ1は、例えば、電気部品(不図示)に電気的に接続されるコネクタ101に適用される。コネクタ101は、例えば、ハウジング103と、端子(不図示)とを有する。ハウジング103は、例えば、合成樹脂などの絶縁性材料からなり、外形が角部105を有するように、多角形である四角形状に形成されている。ハウジング103の内部には、例えば、端子を収容可能な端子収容室が形成されている。端子は、例えば、電気部品に電気的に接続された電線(不図示)の端末部に、電気的に接続されている。端子は、ハウジング103の端子収容室に収容され、端子に接続された電線が、ハウジングの外部に引き出される。コネクタ101は、ハウジング103が相手コネクタ(不図示)と嵌合することにより、端子が相手コネクタの相手端子(不図示)と電気的に接続される。コネクタ101の電線が引き出される側には、ゴムブーツ1が組付けられ、電線側からコネクタ101への水などの侵入が防止される。
(【0011】以降は省略されています)
この特許をJ-PlatPat(特許庁公式サイト)で参照する
関連特許
矢崎総業株式会社
コネクタ
6日前
矢崎総業株式会社
コネクタ
2日前
矢崎総業株式会社
コネクタ
2日前
矢崎総業株式会社
照明構造
2日前
矢崎総業株式会社
コネクタ
4日前
矢崎総業株式会社
止水部材
2日前
矢崎総業株式会社
コネクタ
9日前
矢崎総業株式会社
コネクタ
4日前
矢崎総業株式会社
ゴムブーツ
2日前
矢崎総業株式会社
プロテクタ
2日前
矢崎総業株式会社
電気接続箱
9日前
矢崎総業株式会社
電流検出装置
4日前
矢崎総業株式会社
ワイヤハーネス
9日前
矢崎総業株式会社
ワイヤハーネス
6日前
矢崎総業株式会社
ワイヤハーネス
6日前
矢崎総業株式会社
ワイヤハーネス
6日前
矢崎総業株式会社
バンドクランプ
9日前
矢崎総業株式会社
シートハーネス
10日前
矢崎総業株式会社
フロアハーネス
10日前
矢崎総業株式会社
ワイヤハーネス
6日前
矢崎総業株式会社
コネクタユニット
3日前
矢崎総業株式会社
コネクタおよびワイヤハーネス
2日前
矢崎総業株式会社
コネクタおよびワイヤハーネス
2日前
矢崎総業株式会社
コネクタおよびワイヤハーネス
2日前
矢崎総業株式会社
電線間止水材及びワイヤハーネス
2日前
矢崎総業株式会社
ワイヤハーネス、及び、外装部材
6日前
矢崎総業株式会社
アンテナ装置、及びアンテナ筐体
6日前
矢崎総業株式会社
基板コネクタ、及び、基板ユニット
6日前
矢崎総業株式会社
照明、照明と被取付部材との防水構造
2日前
矢崎総業株式会社
ワイヤハーネス配索構造、及び、ワイヤハーネス
6日前
矢崎総業株式会社
ワイヤハーネス、およびワイヤハーネスの製造方法
6日前
矢崎総業株式会社
ハウジングユニット、端子モジュール、及び、コネクタ
4日前
矢崎総業株式会社
ワイヤーハーネスの幹線及びワイヤーハーネス
6日前
個人
安全なNAS電池
1か月前
個人
フリー型プラグ安全カバー
1か月前
東レ株式会社
多孔質炭素シート
25日前
続きを見る
他の特許を見る