TOP
|
特許
|
意匠
|
商標
特許ウォッチ
Twitter
他の特許を見る
10個以上の画像は省略されています。
公開番号
2025157909
公報種別
公開特許公報(A)
公開日
2025-10-16
出願番号
2024060265
出願日
2024-04-03
発明の名称
端子付き電線
出願人
矢崎総業株式会社
代理人
弁理士法人栄光事務所
主分類
H01R
4/02 20060101AFI20251008BHJP(基本的電気素子)
要約
【課題】端子に圧着される芯線の圧着部分において良好な素線間の導通を図り、電気的特性に優れる端子付き電線を提供すること。
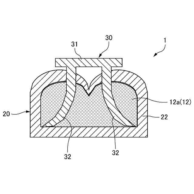
【解決手段】端子付き電線1は、電線10及び端子20を備え、電線10の芯線12に圧着された端子20を外側から一対の電極で挟んで通電を行うことにより抵抗溶接され、芯線12における端子20が圧着される圧着部分12aに対して、端子20への一対の電極の挟持方向に沿って端子20の外側から挿入されて、複数の素線11間に入り込む補助電極30をさらに備える。
【選択図】図2
特許請求の範囲
【請求項1】
複数の素線からなる芯線及び前記芯線を被覆する絶縁被覆を有する電線と、前記電線の端部から露出された前記芯線に圧着される端子と、を備え、前記芯線に圧着された前記端子を外側から一対の電極で挟んで通電を行うことにより抵抗溶接された端子付き電線であって、
前記芯線における前記端子が圧着される圧着部分に対して、前記端子への前記一対の電極の挟持方向に沿って前記端子の前記外側から挿入されて、前記複数の素線間に入り込む補助電極をさらに備える、
端子付き電線。
続きを表示(約 310 文字)
【請求項2】
請求項1に記載の端子付き電線であって、
前記補助電極は、前記端子の前記外側に位置する頭部と、前記頭部から前記複数の素線間に入り込むように延びる足部と、を有する、
端子付き電線。
【請求項3】
請求項2に記載の端子付き電線であって、
前記補助電極は、複数の前記足部を有し、
前記複数の前記足部は、各挿入先端部が互いに離れるように延びる、
端子付き電線。
【請求項4】
請求項1から請求項3の何れか一項に記載の端子付き電線であって、
前記端子には、前記補助電極が挿入される挿通孔が設けられる、
端子付き電線。
発明の詳細な説明
【技術分野】
【0001】
本発明は、端子付き電線に関する。
続きを表示(約 1,400 文字)
【背景技術】
【0002】
従来から、電線から露出する芯線に端子を圧着してなる端子付き電線が提案されている。この種の端子端子付き電線は、例えば、電気自動車に使用される動力用の電線として用いられる場合がある。この場合、芯線を構成する素線の本数が多くなり、芯線への端子の圧着時において、径方向中央部分の素線が塑性変形を受け難いため、素線表面の酸化膜が破壊されず、特に素線同士の導通を図り難くなる。加えて、これに起因して芯線圧着部分の電気抵抗が高くなり、通電時の発熱が問題となる場合がある。
【0003】
この問題に対処すべく、上記圧着時に使用する加工具(いわゆる、アンビル及びクリンパ)を電極とした抵抗溶接により、芯線圧着部分の素線を溶融する方法もあるが、通電加熱のばらつきが発生することもあり、必ずしも満足な導通を図れるわけではない。
【0004】
特許文献1には、上記問題に対処すべく、露出された芯線の先端に矩形U字状の補助電極を挿入し、上記圧着時に補助電極にも通電することで、素線の酸化膜を破壊して導通を得る方法が開示されている。
【先行技術文献】
【特許文献】
【0005】
特開2010-176880号公報
【発明の概要】
【発明が解決しようとする課題】
【0006】
しかしながら、特許文献1に開示された方法では、露出された芯線の先端に補助電極を挿入する際、一部の素線を内部(先端とは反対側)に押し込んでしまい、部分的に素線が凹凸状になるおそれがある。これにより、芯線圧着部分の通電経路が部分的に狭まり、過剰発熱による溶融金属の飛散(爆飛)等が生じるおそれがある。このように、従来の端子付き電線には、改善の余地があった。
【0007】
本発明は、上述した状況を鑑みてなされたものであり、その目的は、端子に圧着される芯線の圧着部分において良好な素線間の導通を図り、電気的特性に優れる端子付き電線を提供することにある。
【課題を解決するための手段】
【0008】
前述した目的を達成するために、本発明に係る端子付き電線は、
複数の素線からなる芯線及び前記芯線を被覆する絶縁被覆を有する電線と、前記電線の端部から露出された前記芯線に圧着される端子と、を備え、前記芯線に圧着された前記端子を外側から一対の電極で挟んで通電を行うことにより抵抗溶接された端子付き電線であって、
前記芯線における前記端子が圧着される圧着部分に対して、前記端子への前記一対の電極の挟持方向に沿って前記端子の前記外側から挿入されて、前記複数の素線間に入り込む補助電極をさらに備える。
【発明の効果】
【0009】
本発明によれば、端子に圧着される芯線の圧着部分において良好な素線間の導通を図り、電気的特性に優れる端子付き電線を提供できる。
【0010】
以上、本発明について簡潔に説明した。更に、以下に説明される発明を実施するための形態(以下、「実施形態」という。)を添付の図面を参照して通読することにより、本発明の詳細は更に明確化されるであろう。
【図面の簡単な説明】
(【0011】以降は省略されています)
この特許をJ-PlatPat(特許庁公式サイト)で参照する
関連特許
矢崎総業株式会社
端子付き電線
今日
矢崎総業株式会社
バスバ配置構造
今日
矢崎総業株式会社
クランプ固定構造
今日
矢崎総業株式会社
ワイヤーハーネス
2日前
矢崎総業株式会社
導体保持構造及び電気接続箱
1日前
矢崎総業株式会社
コネクタ製造装置及びコネクタ
今日
矢崎総業株式会社
クランプ、クランプ取付構造及びプロテクタ
今日
矢崎総業株式会社
端子付き電線、及び、端子付き電線の製造方法
今日
日本発條株式会社
積層体
17日前
個人
フレキシブル電気化学素子
6日前
ローム株式会社
半導体装置
15日前
株式会社ユーシン
操作装置
6日前
日新イオン機器株式会社
イオン源
2日前
個人
防雪防塵カバー
17日前
ローム株式会社
半導体装置
8日前
ローム株式会社
半導体装置
15日前
ローム株式会社
半導体装置
15日前
ローム株式会社
半導体装置
13日前
株式会社GSユアサ
蓄電装置
17日前
株式会社ホロン
冷陰極電子源
13日前
株式会社ホロン
冷陰極電子源
今日
太陽誘電株式会社
全固体電池
13日前
株式会社GSユアサ
蓄電設備
6日前
株式会社GSユアサ
蓄電装置
13日前
オムロン株式会社
電磁継電器
7日前
個人
半導体パッケージ用ガラス基板
16日前
株式会社GSユアサ
蓄電設備
6日前
太陽誘電株式会社
コイル部品
6日前
日本特殊陶業株式会社
保持装置
13日前
日本特殊陶業株式会社
保持装置
17日前
TDK株式会社
電子部品
13日前
ノリタケ株式会社
熱伝導シート
6日前
トヨタ自動車株式会社
バッテリ
7日前
トヨタ自動車株式会社
二次電池
17日前
サクサ株式会社
電池の固定構造
6日前
ローム株式会社
電子装置
17日前
続きを見る
他の特許を見る