TOP
|
特許
|
意匠
|
商標
特許ウォッチ
Twitter
他の特許を見る
公開番号
2025147474
公報種別
公開特許公報(A)
公開日
2025-10-07
出願番号
2024047734
出願日
2024-03-25
発明の名称
コネクタ
出願人
矢崎総業株式会社
代理人
個人
,
個人
,
個人
主分類
H01R
31/06 20060101AFI20250930BHJP(基本的電気素子)
要約
【課題】接続部材の支持板部に止水材を塗布する際に、止水材がタブ部に流れ込んで付着することを抑制することができるコネクタを提供する。
【解決手段】雄コネクタ2は、複数のタブ部31を有するアース端子部材8と、アース端子部材8の一部がインサート成形された雄ハウジング7とを備える。アース端子部材8は、ボディ固定部21と、ボディ固定部21から立ち上げられた首部22と、首部22に連設され、複数のタブ部31が突出形成されているベース部32とを有する。ベース部32は、首部22のZ方向の端部に連設された第1ベース部42と、第1ベース部42のY方向の側部に形成され、折り返された第2ベース部43とを有する。タブ部31は、第2ベース部43のZ方向の端部に連設されて、第2ベース部43に対して折り曲げられて形成され、タブ部31の根元部には、折曲部29が形成されており、首部22には、止水材塗布部27が形成されている。
【選択図】図6
特許請求の範囲
【請求項1】
複数のタブ部を有する導電性金属材料から形成された接続部材と、
前記接続部材の一部がインサート成形された樹脂製のハウジングと、を備え、
前記接続部材は、
車両に対して固定される固定板部と、
前記固定板部から立ち上げられた支持板部と、
前記支持板部に連設され、複数の前記タブ部が突出形成されているベース部と、を有し、
前記ベース部は、
前記支持板部の第1方向の端部に連設された第1ベース部と、
前記第1ベース部における前記第1方向に交差する第2方向の側部に形成され、折り返されて前記第1ベース部に重ね合わされた第2ベース部と、を有し、
前記タブ部は、前記第2ベース部の前記第1方向の端部に連設されて、前記第2ベース部に対して折り曲げられて形成され、
前記タブ部の根元部には、折曲部が形成されており、
前記支持板部には、止水材塗布部が形成されている、
コネクタ。
続きを表示(約 340 文字)
【請求項2】
前記止水材塗布部は、前記支持板部の全周に止水材を塗布し固化させてなる、請求項1に記載のコネクタ。
【請求項3】
前記第2ベース部の前記第1方向の両端部にはそれぞれ、前記タブ部が連設され、
前記第2ベース部の前記第1方向の両端部に連設された前記タブ部の根元部にそれぞれ、前記折曲部が形成されている、
請求項1又は2に記載のコネクタ。
【請求項4】
前記第1ベース部の前記第2方向の両側部にはそれぞれ、前記第2ベース部が連設され、
前記第1ベース部の前記第2方向の両側部に連設された前記第2ベース部と、前記第1ベース部との間にそれぞれ、折返部が形成されている、
請求項1又は2に記載のコネクタ。
発明の詳細な説明
【技術分野】
【0001】
本発明は、コネクタに関する。
続きを表示(約 1,700 文字)
【背景技術】
【0002】
複数本の電線を一括して車両のアース部位に接続するアースジョイントコネクタとして、複数のタブ部を有する導電性金属材料から形成された接続部材が樹脂製のハウジングに一体的に設けられたものがある(特許文献1参照)。この接続部材は、車両に対して固定される固定板部と、固定板部から立ち上げられた支持板部と、支持板部に連設され、複数のタブ部が突出形成されているベース部とを有して構成される。
【先行技術文献】
【特許文献】
【0003】
特開2016-110713号公報
【発明の概要】
【発明が解決しようとする課題】
【0004】
アースジョイントコネクタにおいて、インサート成形後には、接続部材(金属)の体積減少率とハウジング(樹脂)の体積減少率との違いに起因して接続部材とハウジングとの間に微小な隙間が生じ得る。このため、接続部材の支持板部の全周に止水材を塗布して固化させた状態で、その接続部材に対してインサート成形をすることが一般的である。しかしながら、接続部材の支持板部に止水材を塗布する際に、止水材の液垂れ等により、止水材がタブ部に流れ込んで付着すると、タブ部の抵抗値が大きくなってしまう。
【0005】
本発明は、このような従来技術が有する課題に鑑みてなされたものである。そして本発明の目的は、接続部材の支持板部に止水材を塗布する際に、止水材がタブ部に流れ込んで付着することを抑制することができるコネクタを提供することにある。
【課題を解決するための手段】
【0006】
本発明の態様に係るコネクタは、複数のタブ部を有する導電性金属材料から形成された接続部材と、接続部材の一部がインサート成形された樹脂製のハウジングと、を備え、接続部材は、車両に対して固定される固定板部と、固定板部から立ち上げられた支持板部と、支持板部に連設され、複数のタブ部が突出形成されているベース部と、を有し、ベース部は、支持板部の第1方向の端部に連設された第1ベース部と、第1ベース部における第1方向に交差する第2方向の側部に形成され、折り返されて第1ベース部に重ね合わされた第2ベース部と、を有し、タブ部は、第2ベース部の第1方向の端部に連設されて、第2ベース部に対して折り曲げられて形成され、タブ部の根元部には、折曲部が形成されており、支持板部には、止水材塗布部が形成されている。
【発明の効果】
【0007】
本発明によれば、接続部材の支持板部に止水材を塗布する際に、止水材がタブ部に流れ込んで付着することを抑制することができるコネクタを提供することができる。
【図面の簡単な説明】
【0008】
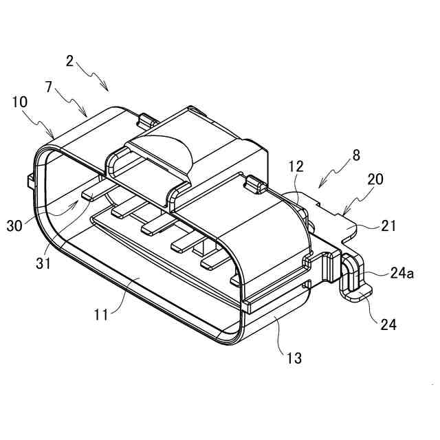
本実施形態に係るアースジョイントコネクタの一例を示す分解斜視図である。
本実施形態に係る雄コネクタの一例を示す斜視図である。
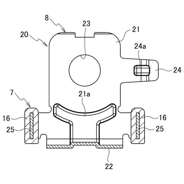
本実施形態に係る雄コネクタの一例を示す正面図である。
図3のA-A線による断面図である。
図3のB-B線による断面図である。
アース端子部材の斜視図である。
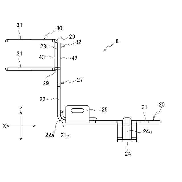
アース端子部材の側面図である。
アース端子部材を成形する前のブランク材の概略的な斜視図である。
アース端子部材を成形する前のブランク材の概略的な平面図である。
アース端子部材に止水材を塗布する工程の説明図である。
アース端子部材に止水材を塗布する工程の説明図である。
【発明を実施するための形態】
【0009】
以下、図面を用いて本実施形態に係るコネクタについて詳細に説明する。なお、図面の寸法比率は説明の都合上誇張されており、実際の比率と異なる場合がある。
【0010】
図1に示すように、アースジョイントコネクタ1は、コネクタ(雄コネクタ2)と相手側コネクタ(雌コネクタ3)とを組み合わせて構成される。本実施形態に係るコネクタ(雄コネクタ2)には、相手側コネクタ(雌コネクタ3)が嵌合される。
(【0011】以降は省略されています)
この特許をJ-PlatPat(特許庁公式サイト)で参照する
関連特許
矢崎総業株式会社
端子
2日前
矢崎総業株式会社
箱状体
26日前
矢崎総業株式会社
箱状体
26日前
矢崎総業株式会社
箱状体
26日前
矢崎総業株式会社
給電装置
3日前
矢崎総業株式会社
コネクタ
25日前
矢崎総業株式会社
コネクタ
25日前
矢崎総業株式会社
コネクタ
11日前
矢崎総業株式会社
コネクタ
10日前
矢崎総業株式会社
コネクタ
10日前
矢崎総業株式会社
接続構造
26日前
矢崎総業株式会社
コネクタ
3日前
矢崎総業株式会社
電源回路
10日前
矢崎総業株式会社
コネクタ
2日前
矢崎総業株式会社
コネクタ
2日前
矢崎総業株式会社
連結コネクタ
10日前
矢崎総業株式会社
スイッチ装置
23日前
矢崎総業株式会社
通信ケーブル
23日前
矢崎総業株式会社
照明ユニット
4日前
矢崎総業株式会社
車両用室内灯
23日前
矢崎総業株式会社
車両用室内灯
23日前
矢崎総業株式会社
バスバー電線
3日前
矢崎総業株式会社
バスバー電線
3日前
矢崎総業株式会社
スイッチ装置
23日前
矢崎総業株式会社
スイッチ装置
23日前
矢崎総業株式会社
ワイヤハーネス
3日前
矢崎総業株式会社
充電インレット
2日前
矢崎総業株式会社
端子間接続構造
4日前
矢崎総業株式会社
導電モジュール
2日前
矢崎総業株式会社
ワイヤハーネス
2日前
矢崎総業株式会社
電気接点用ばね
2日前
矢崎総業株式会社
導電モジュール
25日前
矢崎総業株式会社
導電モジュール
10日前
矢崎総業株式会社
電池モジュール
2日前
矢崎総業株式会社
導通検査システム
23日前
矢崎総業株式会社
ワイヤーハーネス
26日前
続きを見る
他の特許を見る