TOP
|
特許
|
意匠
|
商標
特許ウォッチ
Twitter
他の特許を見る
公開番号
2025129582
公報種別
公開特許公報(A)
公開日
2025-09-05
出願番号
2024026310
出願日
2024-02-26
発明の名称
コネクタ
出願人
矢崎総業株式会社
代理人
個人
,
個人
,
個人
主分類
H01R
13/42 20060101AFI20250829BHJP(基本的電気素子)
要約
【課題】組付性を向上することができるコネクタを提供する。
【解決手段】第1端子7と、第1端子7と電気的に接続される第2端子9と、締結により、第1端子7と第2端子9とを電気的に接続するネジ部材61とを備えたコネクタ1において、ネジ部材61を、第1端子7に一体に設け、第2端子9に、ネジ部材61に締結されるナット75を、回転可能に一体に組付けた。
【選択図】図3
特許請求の範囲
【請求項1】
第1端子と、
前記第1端子と電気的に接続される第2端子と、
締結により、前記第1端子と前記第2端子とを電気的に接続するネジ部材と、
を備え、
前記ネジ部材は、前記第1端子と前記第2端子とのうち一方に一体に設けられ、
前記第1端子と前記第2端子とのうち他方には、前記ネジ部材に締結されるナットが、回転可能に一体に組付けられているコネクタ。
続きを表示(約 330 文字)
【請求項2】
前記ナットは、前記他方に対して、前記ネジ部材の軸線と交差する方向に傾くことが可能に配置されている請求項1に記載のコネクタ。
【請求項3】
前記他方には、前記他方を貫通して形成された配置孔が設けられ、
前記ナットには、外径が前記配置孔の内径より小さく設定され前記配置孔の内部に配置される挿通部と、前記配置孔の径より大きく設定され前記配置孔の外部に配置される規制部とが設けられ、
前記規制部は、前記他方の外面との間に隙間が形成されている請求項2に記載のコネクタ。
【請求項4】
前記挿通部の端部には、前記配置孔の径より大きく設定された抜け止め部が設けられている請求項3に記載のコネクタ。
発明の詳細な説明
【技術分野】
【0001】
本発明は、コネクタに関する。
続きを表示(約 1,500 文字)
【背景技術】
【0002】
従来、コネクタとしては、第1端子としてのバスバと、バスバと電気的に接続される第2端子としてのモータ端子と、締結により、バスバとモータ端子とを電気的に接続するネジ部材とを備えたものが知られている(特許文献1参照)。このコネクタでは、バスバとモータ端子とが重ね合わされた状態で、ネジ部材が締結される。ネジ部材を締結することにより、バスバとモータ端子とが接触されて、バスバとモータ端子とが電気的に接続される。
【先行技術文献】
【特許文献】
【0003】
特開2020-78971号公報
【発明の概要】
【発明が解決しようとする課題】
【0004】
ところで、上記特許文献1のようなコネクタでは、第1端子と第2端子とを重ね合わせた状態で、別部品であるネジ部材を、第1端子と第2端子とに締結している。このため、第1端子と第2端子との管理や取り扱いとは別に、ネジ部材の管理や取り扱いの必要があり、組付性が低下していた。
【0005】
本発明は、このような従来技術が有する課題に鑑みてなされたものである。そして本発明の目的は、組付性を向上することができるコネクタを提供することにある。
【課題を解決するための手段】
【0006】
本実施形態に係るコネクタは、第1端子と、前記第1端子と電気的に接続される第2端子と、締結により、前記第1端子と前記第2端子とを電気的に接続するネジ部材と、を備え、前記ネジ部材は、前記第1端子と前記第2端子とのうち一方に一体に設けられ、前記第1端子と前記第2端子とのうち他方には、前記ネジ部材に締結されるナットが、回転可能に一体に組付けられている。
【発明の効果】
【0007】
本発明によれば、組付性を向上することができるコネクタを提供することができる。
【図面の簡単な説明】
【0008】
本実施形態に係るコネクタの斜視図である。
本実施形態に係るコネクタの分解斜視図である。
本実施形態に係るコネクタの断面図である。
本実施形態に係るコネクタの第2端子が傾いて配置されたときの断面図である。
図4の要部拡大図である。
本実施形態に係るコネクタの第1ハウジングの斜視図である。
本実施形態に係るコネクタの第1ハウジングの分解斜視図である。
本実施形態に係るコネクタの第2ハウジングの斜視図である。
本実施形態に係るコネクタの第2ハウジングの分解斜視図である。
本実施形態に係るコネクタのカバーの斜視図である。
本実施形態に係るコネクタのカバーの分解斜視図である。
【発明を実施するための形態】
【0009】
以下、図面を用いて本実施形態に係るコネクタについて詳細に説明する。なお、図面の寸法比率は説明の都合上誇張されており、実際の比率と異なる場合がある。
【0010】
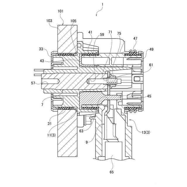
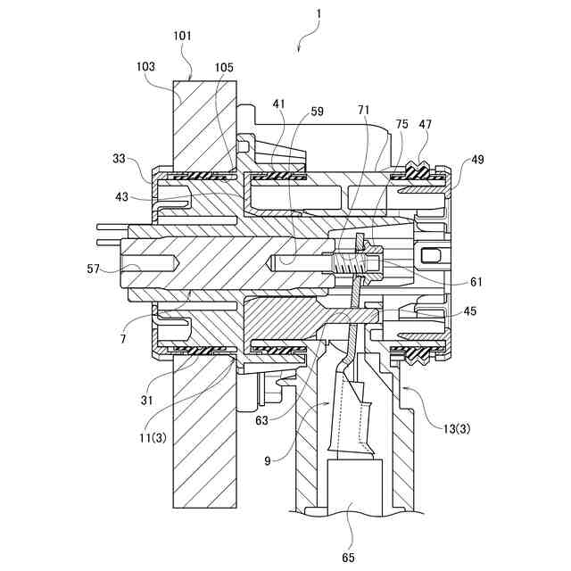
図1に示すように、本実施形態に係るコネクタ1は、例えば、車両に搭載された電気部品101に適用される。コネクタ1は、例えば、電気部品101と、車両に搭載され電源や機器などの他の電気部品(不図示)とを電気的に接続する。図1~図3に示すように、電気部品101には、例えば、ケーシング103の内部に相手端子(不図示)が収容されている。ケーシング103には、相手端子が配置される壁部を貫通して形成された貫通孔からなる配置部105が設けられている。配置部105には、コネクタ1が組付けられ、電気部品101とコネクタ1とが電気的に接続される。
(【0011】以降は省略されています)
この特許をJ-PlatPat(特許庁公式サイト)で参照する
関連特許
矢崎総業株式会社
箱状体
4日前
矢崎総業株式会社
箱状体
4日前
矢崎総業株式会社
コネクタ
2日前
矢崎総業株式会社
コネクタ
4日前
矢崎総業株式会社
コネクタ
9日前
矢崎総業株式会社
コネクタ
5日前
矢崎総業株式会社
照明構造
9日前
矢崎総業株式会社
コネクタ
5日前
矢崎総業株式会社
コネクタ
3日前
矢崎総業株式会社
コネクタ
5日前
矢崎総業株式会社
止水部材
9日前
矢崎総業株式会社
コネクタ
4日前
矢崎総業株式会社
コネクタ
9日前
矢崎総業株式会社
電気接続箱
4日前
矢崎総業株式会社
電気接続箱
4日前
矢崎総業株式会社
電気接続箱
4日前
矢崎総業株式会社
プロテクタ
9日前
矢崎総業株式会社
ゴムブーツ
9日前
矢崎総業株式会社
フラット導体
4日前
矢崎総業株式会社
バスバ配置構造
4日前
矢崎総業株式会社
箱状体、及び、電気接続箱
4日前
矢崎総業株式会社
バッテリシェアリングシステム
5日前
矢崎総業株式会社
コネクタおよびワイヤハーネス
9日前
矢崎総業株式会社
電線間止水材及びワイヤハーネス
9日前
矢崎総業株式会社
照明、照明と被取付部材との防水構造
9日前
矢崎総業株式会社
フラット導体及びフラット導体の製造方法
4日前
矢崎総業株式会社
加締型、端子付き電線の製造方法、及び、端子付き電線
5日前
矢崎総業株式会社
加締型、端子付き電線の製造方法、及び、端子付き電線
5日前
日本発條株式会社
積層体
13日前
個人
フレキシブル電気化学素子
2日前
ローム株式会社
半導体装置
11日前
ローム株式会社
半導体装置
9日前
個人
防雪防塵カバー
13日前
株式会社ユーシン
操作装置
2日前
ローム株式会社
半導体装置
11日前
ローム株式会社
半導体装置
11日前
続きを見る
他の特許を見る