TOP
|
特許
|
意匠
|
商標
特許ウォッチ
Twitter
他の特許を見る
10個以上の画像は省略されています。
公開番号
2025132257
公報種別
公開特許公報(A)
公開日
2025-09-10
出願番号
2024029687
出願日
2024-02-29
発明の名称
照明灯
出願人
矢崎総業株式会社
代理人
個人
,
個人
,
個人
主分類
B60Q
3/51 20170101AFI20250903BHJP(車両一般)
要約
【課題】全長を短くすることが可能な照明灯を提供する。
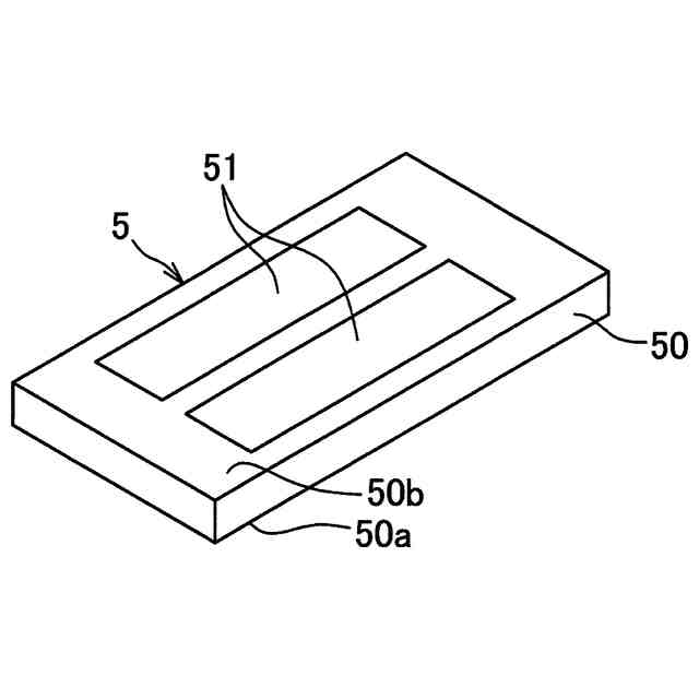
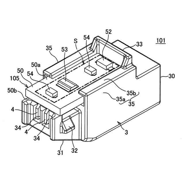
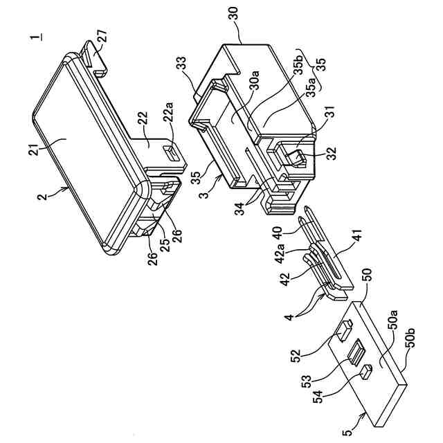
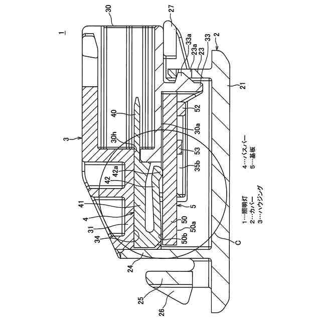
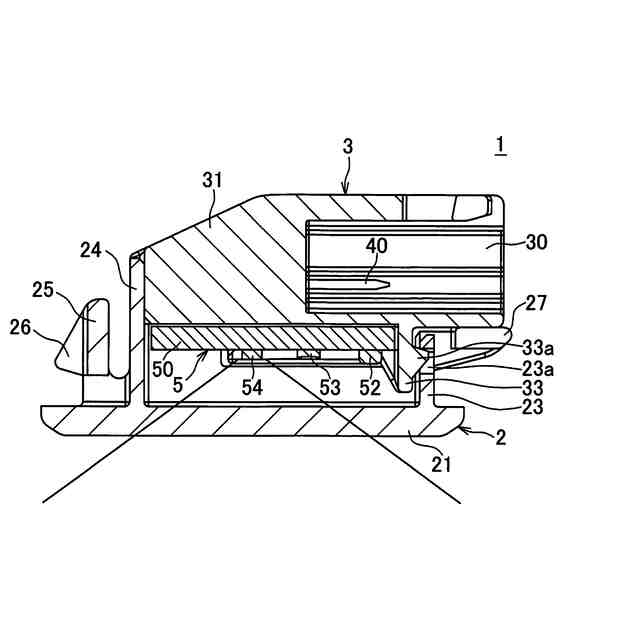
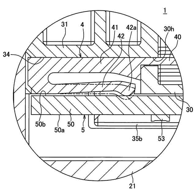
【解決手段】照明灯1は、光源が搭載された基板5と、バスバー4と、基板5及びバスバー4が組み付けられたハウジング3と、ハウジング3に組み付けられて基板5を覆ったカバー2と、を備えている。照明灯1は、基板5がハウジング3のフード部30の下面及びバスバー収容部31の下面に重ねられ、基板5の前半部とバスバー4の第1接続部40とが、相手コネクタ12のフード部30への嵌合方向と交差する嵌合交差方向に並べられている。そして、基板5の後半部とバスバー4の第2接続部42とが、前記嵌合交差方向に並べられている。
【選択図】図5
特許請求の範囲
【請求項1】
光源が搭載された基板と、バスバーと、前記基板及び前記バスバーが組み付けられたハウジングと、を備え、
前記ハウジングは、相手コネクタが嵌合されるフード部と、前記フード部の後方に設けられたバスバー収容部と、を有し、
前記バスバーは、前記フード部に配置されて前記相手コネクタに接続される第1接続部と、前記バスバー収容部に配置されて前記基板に接続された第2接続部と、を有し、
前記基板は、前記フード部の外面に重ねられており、
前記基板の前半部と前記第1接続部とが、前記相手コネクタの前記フード部への嵌合方向と交差する嵌合交差方向に並べられており、
前記基板の後半部と前記第2接続部とが、前記嵌合交差方向に並べられている
ことを特徴とする照明灯。
続きを表示(約 380 文字)
【請求項2】
前記基板の一方の面に前記光源が搭載され、他方の面に前記第2接続部との接点部が形成されており、
前記基板は、前記他方の面が前記フード部の外面に重ねられており、
前記バスバー収容部にスリットが形成されており、当該スリットから前記バスバー収容部外に突出した前記第2接続部の一部が前記接点部に弾性接触している
ことを特徴とする請求項1に記載の照明灯。
【請求項3】
前記バスバーは、前記第1接続部と前記第2接続部とを繋いだ中間部を有し、
前記中間部は、前記第1接続部の後端から前記第1接続部と反対側に延びており、
前記第2接続部は、前記中間部の後端から前端側に片持ち状に延びており、
前記第2接続部の自由端が前記接点部に弾性接触している
ことを特徴とする請求項2に記載の照明灯。
発明の詳細な説明
【技術分野】
【0001】
本発明は、照明灯に関するものである。
続きを表示(約 860 文字)
【背景技術】
【0002】
図12は、特許文献1に開示された従来の照明灯の断面図である。図12に示すように、照明灯500は、ハウジング501と、バスバー520と、光源である発光ダイオード531が搭載された回路基板530と、レンズ535と、レンズカバー540と、を備えている。
【0003】
ハウジング501は、電源に接続された相手コネクタが嵌合されるコネクタ嵌合室503と、コネクタ嵌合室503の後方に設けられた部品収容室502と、を有している。
【0004】
バスバー520は、コネクタ嵌合室503に配置されたタブ端子部525と、部品収容室502に配置された固定接点部522及びバネ接点部523と、を有している。
【0005】
回路基板530は、部品収容室502に配置されており、固定接点部522及びバネ接点部523に挟持されてバスバー520と電気的に接続されている。
【0006】
レンズ535は、部品収容室502における発光ダイオード531の上方位置に配置されている。
【0007】
レンズカバー540は、ハウジング501の開口箇所を閉塞している。また、レンズカバー540は、レンズ535及び回路基板530の移動を規制している。
【0008】
このような照明灯500は、電源からの電力が相手コネクタ及びバスバー520を介して回路基板530に供給されて発光ダイオード531が発光する。
【先行技術文献】
【特許文献】
【0009】
特開2020-13674号公報
【発明の概要】
【発明が解決しようとする課題】
【0010】
上記従来の照明灯500においては、回路基板530がコネクタ嵌合室503の後方に設けられた部品収容室502に配置されているがゆえにその全長が長くなってしまうという問題があった。
(【0011】以降は省略されています)
この特許をJ-PlatPat(特許庁公式サイト)で参照する
関連特許
矢崎総業株式会社
コネクタ
14日前
矢崎総業株式会社
コネクタ
2日前
矢崎総業株式会社
コネクタ
今日
矢崎総業株式会社
コネクタ
今日
矢崎総業株式会社
コネクタ
14日前
矢崎総業株式会社
コネクタ
12日前
矢崎総業株式会社
コネクタ
6日前
矢崎総業株式会社
コネクタ
5日前
矢崎総業株式会社
電気接続箱
5日前
矢崎総業株式会社
ドアハーネス
6日前
矢崎総業株式会社
電流検出装置
今日
矢崎総業株式会社
ワイヤハーネス
2日前
矢崎総業株式会社
ワイヤハーネス
2日前
矢崎総業株式会社
バンドクランプ
5日前
矢崎総業株式会社
ワイヤハーネス
5日前
矢崎総業株式会社
ワイヤハーネス
2日前
矢崎総業株式会社
フロアハーネス
6日前
矢崎総業株式会社
シートハーネス
6日前
矢崎総業株式会社
ワイヤハーネス
2日前
矢崎総業株式会社
電子制御ユニット
6日前
矢崎総業株式会社
コネクタユニット
12日前
矢崎総業株式会社
電子制御ユニット
6日前
矢崎総業株式会社
電線保護材、ワイヤハーネス
13日前
矢崎総業株式会社
ゴムブーツ、ワイヤハーネス
13日前
矢崎総業株式会社
フレキシブルフラットケーブル
12日前
矢崎総業株式会社
アンテナ装置、及びアンテナ筐体
2日前
矢崎総業株式会社
ワイヤハーネス、及び、外装部材
2日前
矢崎総業株式会社
ワイヤーハーネスのシールド構造
6日前
矢崎総業株式会社
基板コネクタ、及び、基板ユニット
2日前
矢崎総業株式会社
車載通信装置及び車載通信システム
14日前
矢崎総業株式会社
包囲部材に対するバスバ挿入構造、補助部材
6日前
矢崎総業株式会社
ワイヤハーネス、及び、ワイヤハーネス製造方法
12日前
矢崎総業株式会社
ワイヤハーネス配索構造、及び、ワイヤハーネス
2日前
矢崎総業株式会社
ワイヤハーネス、およびワイヤハーネスの製造方法
2日前
矢崎総業株式会社
ハウジングユニット、端子モジュール、及び、コネクタ
今日
矢崎総業株式会社
ワイヤーハーネスの幹線及びワイヤーハーネス
2日前
続きを見る
他の特許を見る