TOP
|
特許
|
意匠
|
商標
特許ウォッチ
Twitter
他の特許を見る
10個以上の画像は省略されています。
公開番号
2025175455
公報種別
公開特許公報(A)
公開日
2025-12-03
出願番号
2024081584
出願日
2024-05-20
発明の名称
端子台
出願人
矢崎総業株式会社
代理人
弁理士法人虎ノ門知的財産事務所
主分類
H01R
9/22 20060101AFI20251126BHJP(基本的電気素子)
要約
【課題】ハウジングの大型化を抑制できる端子台を提供する。
【解決手段】端子台1は、貫通孔31aを有するバスバ3と、ねじ穴4hを有するナット4と、バスバを保持する保持部と、ねじ穴を貫通孔と対向させてナットを保持する凹部と、を有するハウジング2と、貫通孔に挿入され、かつ凹部に収容されたナットに螺合されるボルトと、を備え、ナットは、バスバと対向する対向面と、対向面からバスバに向けて突出する突起42と、を有し、バスバは、突起と係合してナットの回転を規制する収容孔33を有する。
【選択図】図12
特許請求の範囲
【請求項1】
貫通孔を有するバスバと、
ねじ穴を有するナットと、
前記バスバを保持する保持部と、前記ねじ穴を前記貫通孔と対向させて前記ナットを保持する凹部と、を有するハウジングと、
前記貫通孔に挿入され、かつ前記凹部に収容された前記ナットに螺合されるボルトと、
を備え、
前記ナットは、前記バスバと対向する対向面と、前記対向面から前記バスバに向けて突出する突起と、を有し、
前記バスバは、前記突起と係合して前記ナットの回転を規制する収容孔を有する
ことを特徴とする端子台。
続きを表示(約 400 文字)
【請求項2】
前記ねじ穴の中心軸線の方向から見た場合の前記ナットの形状は、矩形であり、
前記突起は、前記矩形の対角線上に配置される
請求項1に記載の端子台。
【請求項3】
前記ナットは、前記ねじ穴を間に置いて前記対角線上に配置された二つの前記突起を有する
請求項2に記載の端子台。
【請求項4】
前記凹部は、前記突起を前記収容孔と対向させる位置で前記ナットを保持する
請求項1に記載の端子台。
【請求項5】
前記ナットは、複数の前記突起を有し、
複数の前記突起は、前記ねじ穴の中心軸線を中心とする同心上に配置されており、
前記バスバは、複数の前記収容孔を有し、
複数の前記収容孔は、何れの前記突起に対しても複数の前記収容孔の一つが係合できるように配置される
請求項1に記載の端子台。
発明の詳細な説明
【技術分野】
【0001】
本発明は、端子台に関する。
続きを表示(約 1,700 文字)
【背景技術】
【0002】
従来、二つの導電部材をナットおよびボルトによって共締めする技術がある。特許文献1には、ナットを保持するナット保持部を有するハウジングが開示されている。ハウジングによって保持された導体の端子部は、ボルトおよびナットによって相手方の端子と共締めされる。
【先行技術文献】
【特許文献】
【0003】
特開2021-89881号公報
【発明の概要】
【発明が解決しようとする課題】
【0004】
ハウジングによって保持されたナットにボルトが螺合するときに、ナットにはボルトと共回りさせようとするトルクが作用する。このトルクに対してハウジングによってナットの回転を規制しようとすると、ハウジングの肉厚を大きくする必要があり、ハウジングの大型化を招いてしまう。
【0005】
本発明の目的は、ハウジングの大型化を抑制できる端子台を提供することである。
【課題を解決するための手段】
【0006】
本発明の端子台は、貫通孔を有するバスバと、ねじ穴を有するナットと、前記バスバを保持する保持部と、前記ねじ穴を前記貫通孔と対向させて前記ナットを保持する凹部と、を有するハウジングと、前記貫通孔に挿入され、かつ前記凹部に収容された前記ナットに螺合されるボルトと、を備え、前記ナットは、前記バスバと対向する対向面と、前記対向面から前記バスバに向けて突出する突起と、を有し、前記バスバは、前記突起と係合して前記ナットの回転を規制する収容孔を有することを特徴とする。
【発明の効果】
【0007】
本発明に係る端子台において、ナットは、バスバと対向する対向面と、対向面からバスバに向けて突出する突起と、を有し、バスバは、突起と係合してナットの回転を規制する収容孔を有する。本発明に係る端子台によれば、バスバの収容孔によってナットの回転を規制することで、ハウジングの大型化を抑制できるという効果を奏する。
【図面の簡単な説明】
【0008】
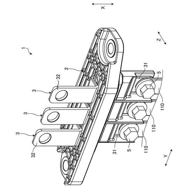
図1は、実施形態に係る端子台の斜視図である。
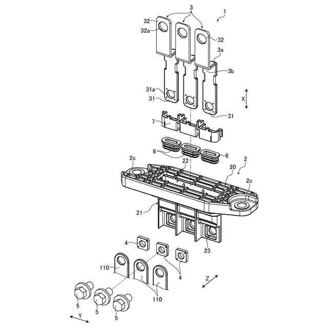
図2は、実施形態に係る端子台の分解斜視図である。
図3は、実施形態に係るハウジングの正面図である。
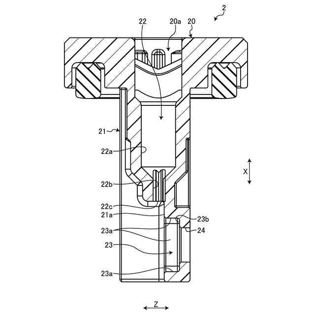
図4は、実施形態に係るハウジングの断面図である。
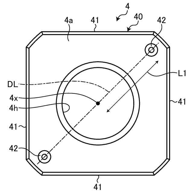
図5は、実施形態に係るナットの平面図である。
図6は、実施形態に係るナットの斜視図である。
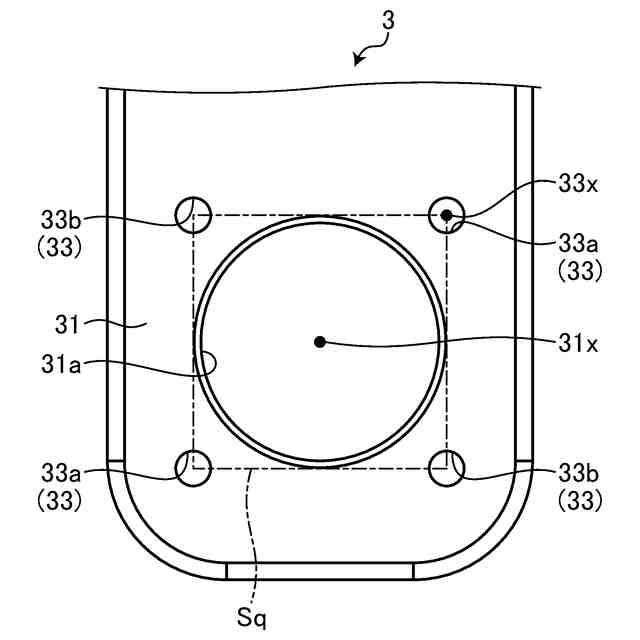
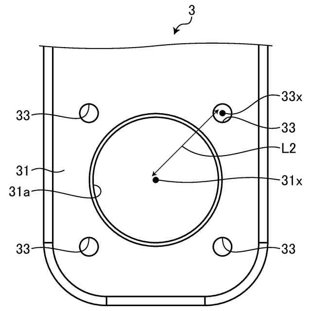
図7は、実施形態に係るバスバの平面図である。
図8は、実施形態に係るバスバの平面図である。
図9は、実施形態に係る端子台の断面図である。
図10は、実施形態に係る端子台の断面図である。
図11は、実施形態に係る端子台の断面図である。
図12は、実施形態に係る端子台の断面図である。
図13は、実施形態に係る端子台の断面図である。
図14は、実施形態に係る端子台の断面図である。
【発明を実施するための形態】
【0009】
以下に、本発明の実施形態に係る端子台につき図面を参照しつつ詳細に説明する。なお、この実施形態によりこの発明が限定されるものではない。また、下記の実施形態における構成要素には、当業者が容易に想定できるものあるいは実質的に同一のものが含まれる。
【0010】
[実施形態]
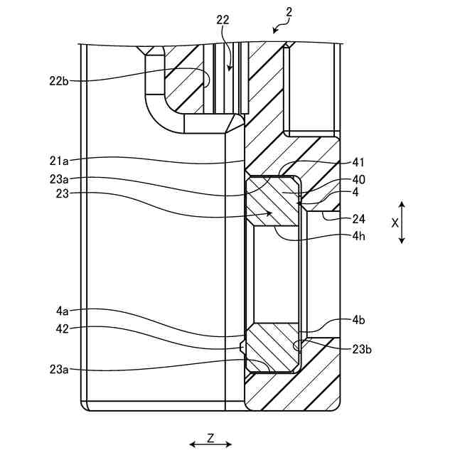
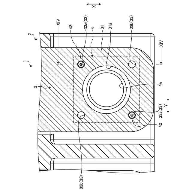
図1から図14を参照して、実施形態について説明する。本実施形態は、端子台に関する。図1は、実施形態に係る端子台の斜視図、図2は、実施形態に係る端子台の分解斜視図、図3は、実施形態に係るハウジングの正面図、図4は、実施形態に係るハウジングの断面図、図5は、実施形態に係るナットの平面図、図6は、実施形態に係るナットの斜視図、図7および図8は、実施形態に係るバスバの平面図、図9から図14は、実施形態に係る端子台の断面図である。図4には、図3のIV-IV断面が示されている。図12には、図11のXII-XII断面が示されている。図14には、図12のXIV-XIV断面が示されている。
(【0011】以降は省略されています)
この特許をJ-PlatPat(特許庁公式サイト)で参照する
関連特許
矢崎総業株式会社
端子
1か月前
矢崎総業株式会社
端子
5日前
矢崎総業株式会社
端子台
今日
矢崎総業株式会社
端子台
今日
矢崎総業株式会社
端子台
今日
矢崎総業株式会社
端子台
今日
矢崎総業株式会社
箱状体
29日前
矢崎総業株式会社
箱状体
29日前
矢崎総業株式会社
箱状体
29日前
矢崎総業株式会社
コネクタ
28日前
矢崎総業株式会社
照明装置
1か月前
矢崎総業株式会社
給電装置
6日前
矢崎総業株式会社
電源回路
13日前
矢崎総業株式会社
照明装置
1か月前
矢崎総業株式会社
コネクタ
13日前
矢崎総業株式会社
コネクタ
6日前
矢崎総業株式会社
照明装置
1か月前
矢崎総業株式会社
コネクタ
13日前
矢崎総業株式会社
コネクタ
5日前
矢崎総業株式会社
コネクタ
14日前
矢崎総業株式会社
コネクタ
28日前
矢崎総業株式会社
コネクタ
5日前
矢崎総業株式会社
照明装置
1か月前
矢崎総業株式会社
報知装置
1か月前
矢崎総業株式会社
バスバー
1か月前
矢崎総業株式会社
接続構造
29日前
矢崎総業株式会社
カバー構造
1か月前
矢崎総業株式会社
電気接続箱
今日
矢崎総業株式会社
連結コネクタ
13日前
矢崎総業株式会社
スイッチ装置
26日前
矢崎総業株式会社
スイッチ装置
26日前
矢崎総業株式会社
スイッチ装置
26日前
矢崎総業株式会社
通信ケーブル
26日前
矢崎総業株式会社
バスバー電線
6日前
矢崎総業株式会社
車両用室内灯
26日前
矢崎総業株式会社
端子付き電線
1か月前
続きを見る
他の特許を見る