TOP
|
特許
|
意匠
|
商標
特許ウォッチ
Twitter
他の特許を見る
公開番号
2025175552
公報種別
公開特許公報(A)
公開日
2025-12-03
出願番号
2024081722
出願日
2024-05-20
発明の名称
電気接続箱
出願人
矢崎総業株式会社
代理人
弁理士法人栄光事務所
主分類
H02G
3/16 20060101AFI20251126BHJP(電力の発電,変換,配電)
要約
【課題】容易に引出口からの水の浸入を抑制できる電気接続箱を提供する。
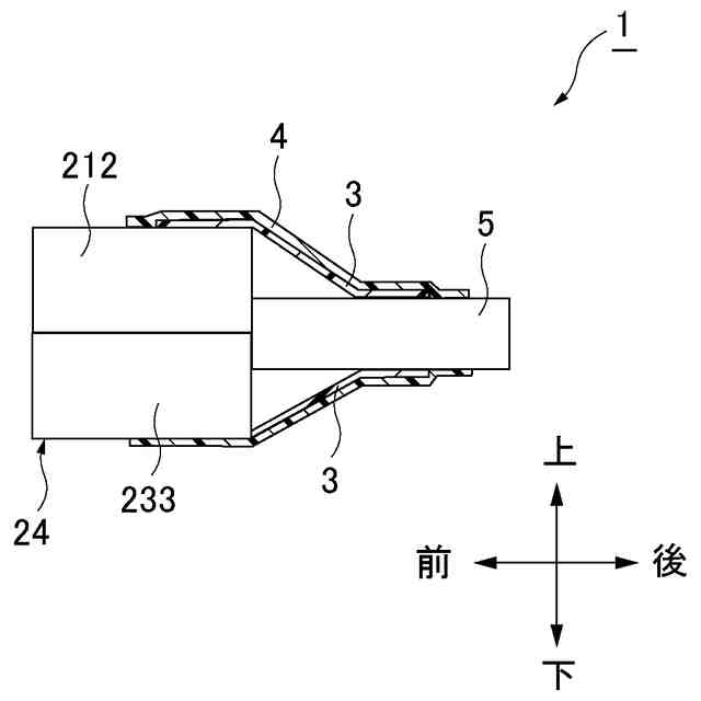
【解決手段】電気接続箱本体は、電子部品が収容され、電子部品に接続されたワイヤハーネス5を引き出す筒状の引出口24を有する。複数のベラ部3は、柔軟性を有し、引出口24とは別体に設けられる。複数のベラ部3は、引出口24の外壁又は内壁と、ワイヤハーネス5の引出口24から引き出された部分と、の間に設けられ、ワイヤハーネス5の軸回りに並べられている。テープ4が、複数のベラ部3の外側に巻き付けられる。
【選択図】図4
特許請求の範囲
【請求項1】
電子部品が収容され、前記電子部品に接続された電線を引き出す筒状の引出口を有する電気接続箱本体と、
前記引出口とは別体に設けられ、前記引出口の外壁又は内壁と、前記電線の前記引出口から引き出された部分と、の間に設けられ、前記電線の軸回りに並べられた柔軟性のある複数のシート部と、
複数の前記シート部の外側に巻き付けられたテープと、を備えた、
電気接続箱。
続きを表示(約 250 文字)
【請求項2】
請求項1に記載の電気接続箱において、
複数の前記シート部は、前記電線側の端部に近づくに従って幅が狭くなる、
電気接続箱。
【請求項3】
請求項1に記載の電気接続箱において、
複数の前記シート部の表面には、前記電線の軸回りに沿った溝が複数、前記電線の軸方向に並んで設けられている、
電気接続箱。
【請求項4】
請求項1に記載の電気接続箱において、
複数の前記シート部が4つ設けられている、
電気接続部。
発明の詳細な説明
【技術分野】
【0001】
本発明は、電気接続箱に関する。
続きを表示(約 1,500 文字)
【背景技術】
【0002】
従来、自動車等の車両に搭載され、ワイヤハーネス、ヒューズ、リレー等の電子部品を集約して内部に収容する電気接続箱(ジャンクションボックス、ヒューズボックス、リレーボックス等とも呼ばれる)が知られている。このような電気接続箱は、電気接続箱に収容される電子部品に電気的に接続されるワイヤハーネスを外部に引き出す引出口を備える(例えば、特許文献1、2参照)。
【先行技術文献】
【特許文献】
【0003】
特開2020-184859号公報
特開2004-7909号公報
【発明の概要】
【発明が解決しようとする課題】
【0004】
上述した引出口から電気接続箱内への水の浸入を防ぐため、引出口と、ワイヤハーネスの引出口から引き出された部分と、の間に粘着テープを巻き付けていた。しかしながら、引出口の径と、ワイヤハーネスの径と、には、差がある。このため、引出口とワイヤハーネスとの間に段差が生じ、この段差部分で粘着テープに皺が寄る。この皺により隙間が生じ、粘着テープの隙間から電気接続箱内へ水が浸入する虞があった。
【0005】
そこで、従来では、エプトシーラのようなテープ状の発砲ゴムを巻き付け、さらにその上から粘着テープを巻き付け、粘着テープに皺がよらないようにしていた。しかしながら、上記段差にエプトシーラを巻き付けることが難しく、エプトシーラの巻き付けは難作業となっている。
【0006】
本発明は、上述した事情に鑑みてなされたものであり、その目的は、容易に引出口からの水の浸入を抑制できる電気接続箱を提供することにある。
【課題を解決するための手段】
【0007】
前述した目的を達成するために、本発明に係る電気接続箱は、下記を特徴としている。
電子部品が収容され、前記電子部品に接続された電線を引き出す筒状の引出口を有する電気接続箱本体と、
前記引出口とは別体に設けられ、前記引出口の外壁又は内壁と、前記電線の前記引出口から引き出された部分と、の間に設けられ、前記電線の軸回りに並べられた柔軟性のある複数のシート部と、
複数の前記シート部の外側に巻き付けられたテープと、を備えた、
電気接続箱であること。
【発明の効果】
【0008】
本発明に係る電気接続箱によれば、容易に引出口からの水の浸入を抑制できるとの効果を奏する。
【0009】
以上、本発明について簡潔に説明した。更に、以下に説明される発明を実施するための形態(以下、「実施形態」という。)を添付の図面を参照して通読することにより、本発明の詳細は更に明確化されるであろう。
【図面の簡単な説明】
【0010】
図1は、本発明の電気接続箱が備えた電気接続箱本体の一実施形態を示す簡略化した分解斜視図である。
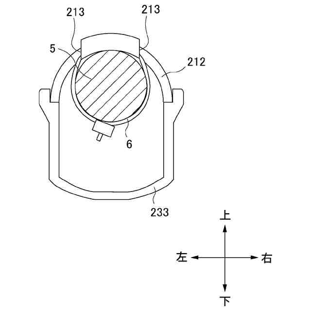
図2は、図1に示す引出口の斜視図である。
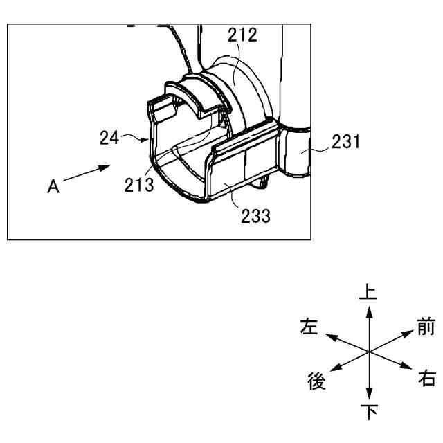
図3は、図2に示す引出口からワイヤハーネスを引き出した状態におけるA矢視図である。
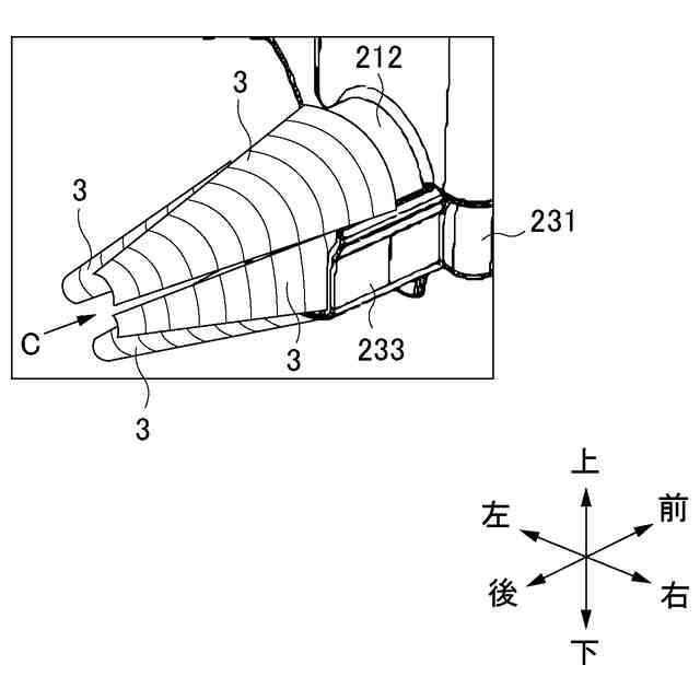
図4は、図1に示す引出口にベラ部を取り付けた状態を示す斜視図である。
図5は、図4に示すベラ部の上面図である。
図6は、図5に示すベラ部のB矢視図である。
図7は、図4に示す引出口からワイヤハーネスを引き出した状態におけるC矢視図である。
図8は、本発明の電気接続箱の引出口の簡略化した断面図である。
【発明を実施するための形態】
(【0011】以降は省略されています)
この特許をJ-PlatPat(特許庁公式サイト)で参照する
関連特許
矢崎総業株式会社
電気接続箱
1日前
株式会社デンソー
ロータ
1日前
株式会社デンソー
ロータ
1日前
矢崎総業株式会社
車載用切替装置
1日前
株式会社日立製作所
分散電源管理システム
1日前
株式会社デンソー
ロータ及びコンプレッサ
1日前
株式会社片岡製作所
被覆剥離方法および被覆剥離装置
1日前
JFEプラントエンジ株式会社
電気設備の検電実習装置及び検電実習方法
1日前
株式会社日立製作所
電力変換装置
1日前
株式会社エールホールディングス
充電制御装置
1日前
株式会社日立システムズパワーサービス
分散リソース管理装置および分散リソース管理方法
1日前
株式会社日立製作所
二次電池の温度予測方法、および、二次電池の温度予測装置
1日前
株式会社安川電機
インバータシステム、ノイズフィルタ、ノイズ低減方法
1日前
深セン得道未来科技有限公司
円筒形リチウム電池キャップ、当該キャップ付きのリチウム電池および電池製造工程
1日前
住友電気工業株式会社
回転電機
1日前
株式会社日立製作所
電力変換装置、電力変換装置の製造方法
1日前
他の特許を見る