TOP
|
特許
|
意匠
|
商標
特許ウォッチ
Twitter
他の特許を見る
公開番号
2025175786
公報種別
公開特許公報(A)
公開日
2025-12-03
出願番号
2024082049
出願日
2024-05-20
発明の名称
電力変換装置、電力変換装置の製造方法
出願人
株式会社日立製作所
,
Astemo株式会社
代理人
弁理士法人サンネクスト国際特許事務所
主分類
H02M
7/48 20070101AFI20251126BHJP(電力の発電,変換,配電)
要約
【課題】はんだ厚の確保と放熱の信頼性向上を両立する。
【解決手段】電力変換装置は、リードフレーム上に接合された半導体素子を内蔵する半導体パッケージと、平板状であり、表面に半導体パッケージが搭載され、かつリードフレームと電気的に接続される基板と、を備え、基板は表面と裏面とを結ぶ厚み方向に貫通する孔の内周に施した金属皮膜である第1スルーホールおよび第2スルーホールを備え、第1スルーホールは、半導体素子と厚み方向に重なる領域に設けられ、第2スルーホールは、半導体素子と厚み方向に重ならない領域に設けられ、第1スルーホールおよび第2スルーホールにおける半導体素子に近い側の厚み方向の端部とリードフレームとを接続し、かつ第1スルーホールに充填される接合材をさらに備え、第2スルーホールを構成する孔内には充填剤が充填され、充填剤と金属皮膜との線膨張係数の差は、接合材と金属皮膜との線膨張係数の差よりも大きい。
【選択図】図2
特許請求の範囲
【請求項1】
リードフレーム上に接合された半導体素子を内蔵する半導体パッケージと、
表面および裏面を有する平板状であり、前記表面に前記半導体パッケージが搭載され、かつ前記リードフレームと電気的に接続される基板と、を備え、
前記基板は前記表面と前記裏面とを結ぶ厚み方向に貫通する孔の内周に施した金属皮膜である第1スルーホールおよび第2スルーホールを備え、
前記第1スルーホールは、前記半導体素子と前記厚み方向に重なる領域に設けられ、
前記第2スルーホールは、前記半導体素子と前記厚み方向に重ならない領域に設けられ、
前記第1スルーホールおよび前記第2スルーホールにおける前記半導体素子に近い側の前記厚み方向の端部と前記リードフレームとを接続し、かつ前記第1スルーホールに充填される接合材をさらに備え、
前記第2スルーホールを構成する孔内には充填剤が充填され、
前記充填剤と前記金属皮膜との線膨張係数の差は、前記接合材と前記金属皮膜との線膨張係数の差よりも大きい、電力変換装置。
続きを表示(約 1,200 文字)
【請求項2】
請求項1に記載の電力変換装置において、
前記接合材は、前記充填剤よりも熱伝導率が大きい、電力変換装置。
【請求項3】
請求項1に記載の電力変換装置において、
前記第1スルーホールを構成する孔は、前記第2スルーホールを構成する孔よりも径が大きい、電力変換装置。
【請求項4】
請求項1に記載の電力変換装置において、
前記第1スルーホールを構成する孔は、前記半導体素子に近い側の径よりも、前記半導体素子に遠い側の径が小さい、電力変換装置。
【請求項5】
請求項1に記載の電力変換装置において、
前記第1スルーホールは、前記第2スルーホールよりも厚みが厚い、電力変換装置。
【請求項6】
請求項1に記載の電力変換装置において、
前記配線基板は、前記表面、および前記裏面の両方に配線を有し、
前記第1スルーホールおよび前記第2スルーホールのそれぞれは、前記表面の配線および前記裏面の配線の両方に接する、電力変換装置。
【請求項7】
請求項1に記載の電力変換装置において、
前記表面の配線および前記裏面の配線は前記厚み方向に略同一の範囲で広がる電力変換装置。
【請求項8】
請求項1に記載の電力変換装置において、
前記半導体パッケージは、前記配線基板の上に前記厚み方向と直交する奥行き方向に複数設けられ、
前記第1スルーホールおよび前記第2スルーホールは、前記厚み方向および前記奥行き方向に直交する並び方向に並ぶ電力変換装置。
【請求項9】
請求項1に記載の電力変換装置において、
1つの前記半導体素子につき、2以上の前記第1スルーホールを有する電力変換装置。
【請求項10】
平板状の基板に厚み方向に貫通する孔を複数形成する孔形成工程と、
前記複数の孔のそれぞれの内周に金属皮膜を形成することで、第1スルーホールおよび第2スルーホールを形成する膜形成工程と、
前記第2スルーホールを構成する孔の内部に充填剤を充填する充填剤充填工程と、
前記基板の表面の上部に、前記第1スルーホールおよび前記第2スルーホールを覆うように接合材を配し、かつ前記接合材の上に、リードフレーム上に接合された半導体素子を内蔵する半導体パッケージを配する配置工程と、を含み、
前記配置工程では、前記第1スルーホールと前記半導体素子とが前記厚み方向に重なるように配され、
前記配置工程の後に、加熱されて溶融した前記接合材を前記第1スルーホールを構成する孔の内部に充填する接合工程、を含み、
前記充填剤と前記金属皮膜との線膨張係数の差は、前記接合材と前記金属皮膜との線膨張係数の差よりも大きい、電力変換装置の製造方法。
発明の詳細な説明
【技術分野】
【0001】
本発明は、電力変換装置、および電力変換装置の製造方法に関する。
続きを表示(約 2,600 文字)
【背景技術】
【0002】
電力変換装置は様々な産業分野で利用され、高効率化や小型化が求められる。特許文献1には、絶縁基板の両面に、銅箔からなる導体パターンおよびランド部を形成し、かつ、一面側には電子部品の搭載面となる部分に放熱用半田付けランド部を設けると共に、対向する他面側に半田吸収用ランド部を形成し、かつ、これら放熱用半田付けランド部と半田吸収用ランド部に両端が開口するバイアホールを備えたプリント基板を設け、前記プリント基板の両面の半田不要部にソルダ・レジストを形成し、該ソルダ・レジストで前記放熱用半田付けランド部および前記半田吸収用ランド部を囲み、ついで、一面側にメタルマスクを載置して、前記ランド部および放熱用半田付けランド部にクリーム半田を塗布し、ついで、前記一面に電子部品を載置し、ファーストリフローで前記クリーム半田を溶融して、前記電子部品のリード端子をランド部と半田接続し、かつ、前記放熱用半田付けランド部と前記電子部品の裏面と密着させる半田層を形成すると共に、前記バイアホールを通して他面側に漏出する溶融半田を前記半田吸収用ランド部に流出させて開口部に偏平に付着させ、ついで、前記プリント基板の他面にメタルマスクを載置し、前記半田吸収用ランド部では前記バイアホールの開口部分で固化している半田を被覆した状態でクリーム半田を塗布し、該クリーム半田をセカンドリフローして前記半田吸収用ランド部に半田層を形成していることを特徴とする放熱構造を備えたプリント基板の製造方法が開示されている。
【先行技術文献】
【特許文献】
【0003】
特開2008-078271号公報
【発明の概要】
【発明が解決しようとする課題】
【0004】
特許文献1に記載されている発明では、はんだ厚の確保と放熱の信頼性向上を両立できない。
【課題を解決するための手段】
【0005】
本発明の第1の態様による電力変換装置は、リードフレーム上に接合された半導体素子を内蔵する半導体パッケージと、表面および裏面を有する平板状であり、前記表面に前記半導体パッケージが搭載され、かつ前記リードフレームと電気的に接続される基板と、を備え、前記基板は前記表面と前記裏面とを結ぶ厚み方向に貫通する孔の内周に施した金属皮膜である第1スルーホールおよび第2スルーホールを備え、前記第1スルーホールは、前記半導体素子と前記厚み方向に重なる領域に設けられ、前記第2スルーホールは、前記半導体素子と前記厚み方向に重ならない領域に設けられ、前記第1スルーホールおよび前記第2スルーホールにおける前記半導体素子に近い側の前記厚み方向の端部と前記リードフレームとを接続し、かつ前記第1スルーホールに充填される接合材をさらに備え、前記第2スルーホールを構成する孔内には充填剤が充填され、前記充填剤と前記金属皮膜との線膨張係数の差は、前記接合材と前記金属皮膜との線膨張係数の差よりも大きい。
本発明の第2の態様による電力変換装置の製造方法は、平板状の基板に厚み方向に貫通する孔を複数形成する孔形成工程と、前記複数の孔のそれぞれの内周に金属皮膜を形成することで、第1スルーホールおよび第2スルーホールを形成する孔形成工程と、前記第2スルーホールを構成する孔の内部に充填剤を充填する充填剤充填工程と、前記基板の表面の上部に、前記第1スルーホールおよび前記第2スルーホールを覆うように接合材を配し、かつ前記接合材の上に、リードフレーム上に接合された半導体素子を内蔵する半導体パッケージを配する配置工程と、を含み、前記配置工程では、前記第1スルーホールと前記半導体素子とが前記厚み方向に重なるように配され、前記配置工程の後に、加熱されて溶融した前記接合材を前記第1スルーホールを構成する孔の内部に充填する接合工程、を含み、前記充填剤と前記金属皮膜との線膨張係数の差は、前記接合材と前記金属皮膜との線膨張係数の差よりも大きい。
【発明の効果】
【0006】
本発明によれば、はんだ厚の確保と放熱の信頼性向上を両立できる。
【図面の簡単な説明】
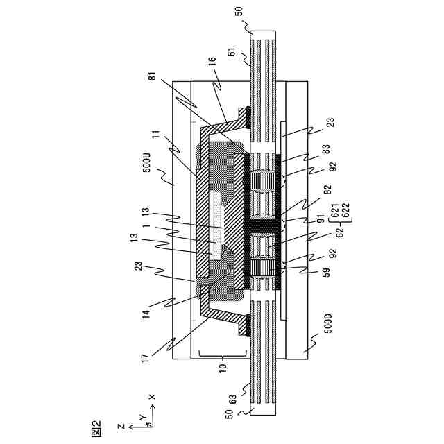
【0007】
電力変換装置の電気回路図
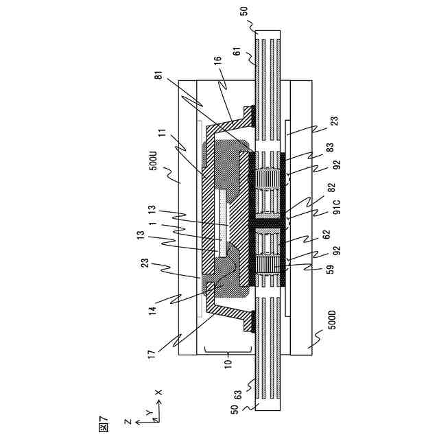
実施の形態における電力変換装置の断面図
図2の視点を変更した図
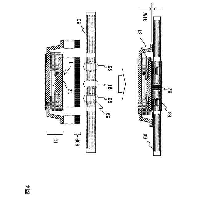
配置工程および接合工程を示す図
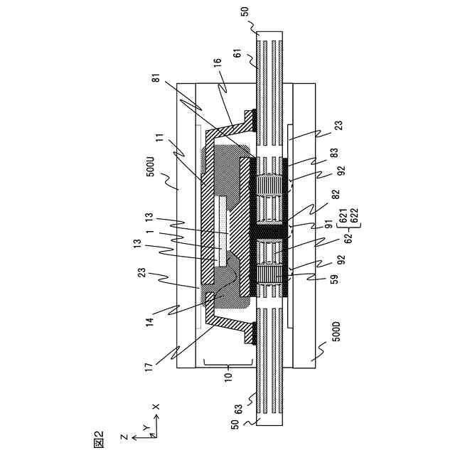
変形例1における電力変換装置の断面図
変形例2における電力変換装置の断面図
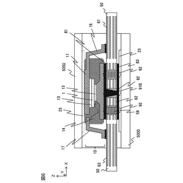
変形例3における電力変換装置の断面図
【発明を実施するための形態】
【0008】
―実施の形態―
以下、図1~図4を参照して、電力変換装置の実施の形態を説明する。
【0009】
(回路図)
図1は、電力変換装置100の電気回路図である。電力変換装置100は、U相を処理するU相回路100U、V相を処理するV相回路100V、W相を処理するW相回路100Wを備える。各相の回路の構成は同一なので、ここではU相回路100Uのみを説明する。U相回路100Uは4組の上下アームを備え、各アームは半導体素子1を有する。U相回路100Uは、図示上部の正極配線71、図示中央の交流配線72、図示下部の負極配線73、および図示左のセラミックコンデンサ75を備える。V相回路100Vの内部に示す2つの囲みは、上アーム素子回路1Uおよび下アーム素子回路1Dである。
【0010】
半導体素子1はたとえば、IGBTやMOSFETなどである。半導体素子1は主端子と信号端子17とを備える。主端子は主回路用高圧電位(IGBTであればコレクタ電位、MOSFETであればドレイン電位)と、主回路用低圧電極(IGBTであればエミッタ電位、MOSFETであればソース電位)を有する。半導体素子1を多並列接続することにより、電力変換装置100の出力電流を増大させることができる。1相分の電力変換回路は、直列接続された上アーム半導体素子と下アーム半導体素子とコンデンサが対になって構成される。各相出力配線はモータなどの負荷に接続される。
(【0011】以降は省略されています)
この特許をJ-PlatPat(特許庁公式サイト)で参照する
関連特許
株式会社日立製作所
回転電機
6日前
株式会社日立製作所
鉄道車両
1か月前
株式会社日立製作所
冷却構造
今日
株式会社日立製作所
軌条車両
今日
株式会社日立製作所
演算装置
6日前
株式会社日立製作所
放射線モニタ
1か月前
株式会社日立製作所
電力変換装置
1日前
株式会社日立製作所
電力変換装置
今日
株式会社日立製作所
ガス分離システム
1か月前
株式会社日立製作所
電力変換システム
14日前
株式会社日立製作所
システム検証方法
29日前
株式会社日立製作所
調停案提示システム
1か月前
株式会社日立製作所
鉄道車両用空調装置
28日前
株式会社日立製作所
部品管理装置及び方法
1か月前
株式会社日立製作所
分散電源管理システム
1日前
株式会社日立製作所
生産ライン設計システム
22日前
株式会社日立製作所
乗降床及び乗客コンベア
27日前
株式会社日立製作所
施設管理装置および方法
14日前
株式会社日立製作所
店舗管理装置および方法
29日前
株式会社日立製作所
検索システム及び検索方法
29日前
株式会社日立製作所
飲食店提案装置および方法
29日前
株式会社日立製作所
乗りかご及びエレベーター
29日前
株式会社日立製作所
乗りかご及びエレベーター
1か月前
株式会社日立製作所
署名照合システム及び方法
1か月前
株式会社日立製作所
データ変換装置および方法
1か月前
株式会社日立製作所
ソフトウェア生成システム
1か月前
株式会社日立製作所
IT運用管理装置および方法
7日前
株式会社日立製作所
ソースコードを生成する方法
22日前
株式会社日立製作所
ソフトエラー率評価システム
15日前
株式会社日立製作所
宇宙機、地上局及びアンテナ
14日前
株式会社日立製作所
情報処理装置、情報処理方法
1か月前
株式会社日立製作所
膜分離設備設計支援システム
14日前
株式会社日立製作所
生体認証装置、生体認証方法
28日前
株式会社日立製作所
モータ、及びロータ固定構造
6日前
株式会社日立製作所
検証システムおよび検証方法
6日前
株式会社日立製作所
鉄道車両の排障器及び鉄道車両
1日前
続きを見る
他の特許を見る