TOP
|
特許
|
意匠
|
商標
特許ウォッチ
Twitter
他の特許を見る
10個以上の画像は省略されています。
公開番号
2025158560
公報種別
公開特許公報(A)
公開日
2025-10-17
出願番号
2024061220
出願日
2024-04-05
発明の名称
ガス分離システム
出願人
株式会社日立製作所
代理人
弁理士法人信友国際特許事務所
主分類
B01D
53/22 20060101AFI20251009BHJP(物理的または化学的方法または装置一般)
要約
【課題】分離膜の劣化診断のための機器増設を最小にし、複数の分離膜を有する場合に劣化した分離膜を特定できるガス分離システムを提供する。
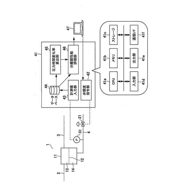
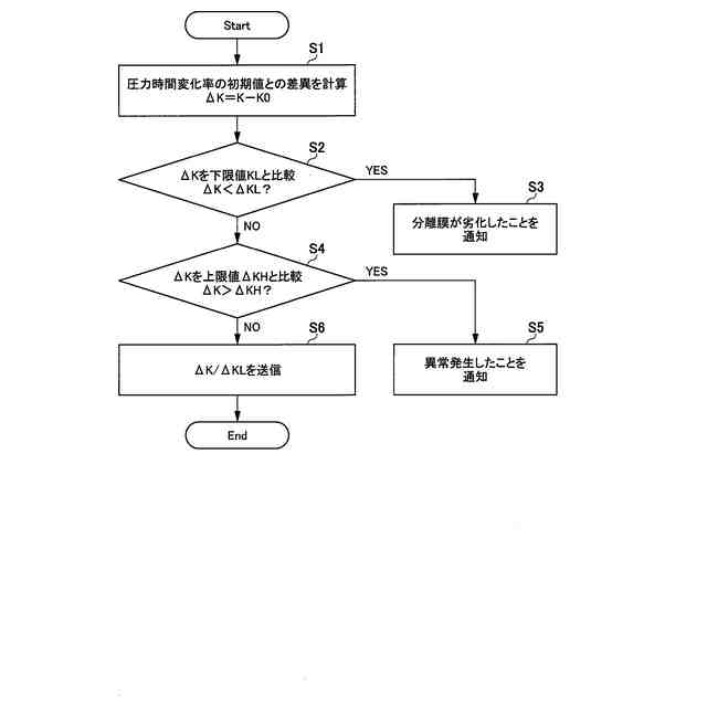
【解決手段】混合ガスから特定成分のガスを分離する分離膜12により分離されたガスの流量を制御する調節弁21と、分離膜12と調節弁21の間の圧力を計測する圧力計31とを用いて、分離膜12の性能を評価するシステムに適用される。ガス分離システムの構成としては、調節弁21の弁開度と、圧力計31の計測値の時系列データを用いて、予め定めた弁開度状態における圧力時間変化率を算出する圧力時間変化率算出部45と、圧力時間変化率算出部45が算出した圧力時間変化率を初期値と比較して、分離膜12の性能を評価する分離膜性能評価部46と、を備える。
【選択図】図1
特許請求の範囲
【請求項1】
混合ガスから特定成分のガスを分離する分離膜により分離されたガスの流量を制御する調節弁と、前記分離膜と前記調節弁の間の圧力を計測する圧力計とを用いて、前記分離膜の性能を評価するガス分離システムであり、
前記調節弁の弁開度と、前記圧力計の計測値の時系列データを用いて、予め定めた弁開度状態における圧力時間変化率を算出する圧力時間変化率算出部と、
前記圧力時間変化率算出部が算出した圧力時間変化率を初期値と比較して、前記分離膜の性能を評価する分離膜性能評価部と、を備える
ガス分離システム。
続きを表示(約 1,000 文字)
【請求項2】
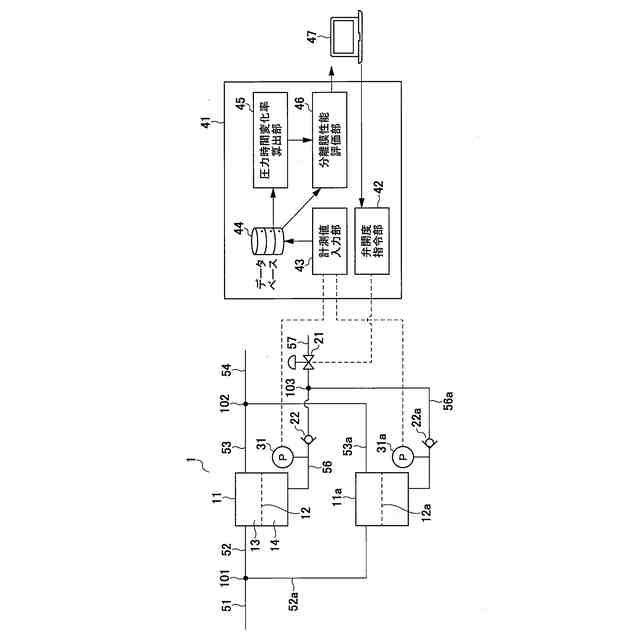
前記分離膜として複数の分離膜を有し、前記圧力計についても、それぞれの前記分離膜ごとに設置され、
前記調節弁は、前記複数の分離膜から排出されたガスが合流点で合流したガスの流量を制御する調節弁であり、
それぞれの前記圧力計は、それぞれの前記分離膜を透過した側の圧力を計測する
請求項1に記載のガス分離システム。
【請求項3】
前記圧力時間変化率算出部は、前記調節弁の弁開度と、それぞれの前記圧力計の計測値の時系列データを用いて、予め定めた弁開度状態における圧力時間変化率を算出し、
前記分離膜性能評価部は、前記複数の分離膜のそれぞれの性能を評価する
請求項2に記載のガス分離システム。
【請求項4】
それぞれの前記圧力計が設置された配管の流量を遮断する開閉弁を有し、
前記分離膜性能評価部は、前記開閉弁を開から閉にした状態で、閉にした配管に設置された前記圧力計で一定期間の圧力計測値をデータベースとして保存し、前記データベースが保存した圧力計測値と、実際に計測された前記時系列データとから、前記複数の分離膜のそれぞれの性能を評価する
請求項3に記載のガス分離システム。
【請求項5】
前記複数の分離膜として、第1の分離膜と、前記第1の分離膜の1次側から排出されたガスを分離する、前記第1の分離膜と直列に接続された第2の分離膜と、を有し、
圧力計として、前記第1の分離膜の2次側に接続された配管の圧力を計測する第1の圧力計と、前記第2の分離膜の2次側に接続された配管の圧力を計測する第2の圧力計とを備え、
分離膜性能評価部は、前記第1の圧力計による圧力計測値と、前記第2の圧力計による圧力計測値から、直列接続された前記第1の分離膜の性能と前記第2の分離膜の性能を評価する
請求項2に記載のガス分離システム。
【請求項6】
前記第1の分離膜の2次側についても、配管を介して前記第2の分離膜の2次側と直列に接続した構成とし、
前記圧力時間変化率算出部は、前記調節弁の弁開度と、それぞれの前記圧力計の計測値の時系列データを同時に取得して、予め定めた弁開度状態における圧力時間変化率を算出し、
前記分離膜性能評価部は、前記複数の分離膜のそれぞれの性能を評価する
請求項5に記載のガス分離システム。
発明の詳細な説明
【技術分野】
【0001】
本発明は、ガス分離システムに関する。
続きを表示(約 1,700 文字)
【背景技術】
【0002】
複数の混合ガスから特定のガスを分離する方法として、ガスを選択的に透過する分離膜を利用する方法がある。分離膜には、例えば、セラミック膜に代表される分子径の差により分離する分子ふるい膜や、膜へのガスの溶解性の差を利用した高分子膜等がある。これらの分離膜は、透過させたい特定ガス以外も一定量のガスを透過させる。なお、分離膜を透過させる前を1次側、透過させた後を2次側と呼ぶ。
【0003】
分離膜のガス透過量は、1次側のガス分圧と2次側のガス分圧の差に膜面積を乗じたものに比例する。また、分離膜のガス透過量は、分離膜の劣化により減量する。ガス分離システムでは、分離効率を保持するため、分離膜の劣化状態を診断し、分離膜が劣化した場合には分離膜の交換などのメンテナンスを実施する必要がある。
【0004】
分離膜の劣化診断方法として、たとえば、特許文献1に記載された技術がある。特許文献1には、製品ガスの下流の経路の圧力変化を検出し、装置停止後の圧力変化に基づいて、分離膜の交換時期を判定する技術が記載されている。装置が停止すると、分離膜の上流側にある入口側開閉弁と下流側にある出口側開閉弁が閉じるので、特許文献1に記載の技術は、これら開閉弁の間の圧力を下げ、その変化に基づいて交換時期を決定している。
【先行技術文献】
【特許文献】
【0005】
特開2000-102717号公報
【発明の概要】
【発明が解決しようとする課題】
【0006】
ところで、既存のメタンを主成分とする天然ガス等のガスグリッドを用いて、天然ガスとは異なる特定ガスを天然ガスと混ぜて輸送する場合に、特定ガスの濃度が正常に制御できず、許容範囲外のガス濃度のガスが機器に供給されると、機器が故障する場合がある。
このような場合には、生産設備や化学プラントなどの設備では、大事故につながる場合があり、ガス分離システムの劣化診断は定期的に実施する必要がある。
【0007】
このため、ガス分離システムの劣化診断は、高精度に実現する必要がある。しかしながら、分離膜の劣化診断では、濃度や流量など多数の計測が必要であるため、ガス濃度計や流量計など多数のセンサを要し、コストが高くなるという問題がある。また、複数の分離膜を有する場合は、全体評価しかできず、劣化した分離膜を特定することができないという問題がある。
【0008】
本発明の目的は、分離膜の劣化診断のための機器増設を最小にし、複数の分離膜を有する場合に劣化した分離膜を特定できるガス分離システムを提供することにある。
【課題を解決するための手段】
【0009】
上記課題を解決するために、例えば請求の範囲に記載の構成を採用する。
本願は、上記課題を解決する手段を複数含んでいるが、その一例を挙げるならば、ガス分離システムとして、混合ガスから特定成分のガスを分離する分離膜により分離されたガスの流量を制御する調節弁と、分離膜と調節弁の間の圧力を計測する圧力計とを用いて、分離膜の性能を評価するシステムに適用される。
ガス分離システムの構成としては、調整弁の弁開度と、圧力計の計測値の時系列データを用いて、予め定めた弁開度状態における圧力時間変化率を算出する圧力時間変化率算出部と、圧力時間変化率算出部が算出した圧力時間変化率を初期値と比較して、分離膜の性能を評価する分離膜性能評価部と、を備える。
【発明の効果】
【0010】
本発明によれば、分離膜の劣化診断のための機器増設を削減でき、適切に分離膜の性能を評価できるようになる。例えば、複数の分離膜を有する場合に、劣化した分離膜を特定できるようになる。
上記した以外の課題、構成及び効果は、以下の実施形態の説明により明らかにされる。
【図面の簡単な説明】
(【0011】以降は省略されています)
この特許をJ-PlatPat(特許庁公式サイト)で参照する
関連特許
株式会社日立製作所
環境負荷算出装置
2日前
株式会社日立製作所
診断装置及び診断方法
2日前
株式会社日立製作所
情報提示装置及び方法
2日前
株式会社日立製作所
実行ハードウエア決定方法
2日前
株式会社日立製作所
脆弱性分析装置、脆弱性分析方法
2日前
株式会社日立製作所
量子デバイス及び量子情報処理装置
2日前
株式会社日立製作所
位置推定システム及び位置推定方法
3日前
株式会社日立製作所
材料提案システムおよび材料提案装置
2日前
株式会社日立製作所
車両運行制御装置及び車両運行制御方法
2日前
株式会社日立製作所
システム設計最適化システムおよび方法
2日前
株式会社日立製作所
外転型回転電機、巻上機、エレベーター
2日前
株式会社日立製作所
電解システム及び電解システムの診断方法
2日前
株式会社日立製作所
支援装置、支援方法、及び支援プログラム
2日前
株式会社日立製作所
実験設計支援装置、及び実験設計支援方法
2日前
株式会社日立製作所
ダイヤ作成システムおよびダイヤ作成方法
2日前
株式会社日立製作所
鉄道保守支援システム、鉄道保守支援方法
2日前
株式会社日立製作所
計画作成支援方法及び計画作成支援システム
2日前
株式会社日立製作所
施策立案支援システム及び施策立案支援方法
2日前
株式会社日立製作所
電力系統安定化装置および電力系統安定化方法
2日前
株式会社日立製作所
SOC目標設定システム及び二次電池システム
2日前
株式会社日立製作所
脆弱性対策管理システム、及び脆弱性対策管理方法
2日前
株式会社日立製作所
脆弱性対策管理システム、及び脆弱性対策管理方法
2日前
株式会社日立製作所
衣料回収システム、衣料回収装置および衣料管理装置
2日前
株式会社日立製作所
生成支援システム、生成支援方法、および生成支援プログラム
2日前
株式会社日立製作所
管制マップ作成装置、管制装置、管制システム、および管制方法
2日前
株式会社日立製作所
分散行動制御装置、分散行動制御システムおよび分散行動制御方法
2日前
株式会社日立製作所
画像認識支援装置、画像認識支援方法、及び、画像認識支援プログラム
2日前
株式会社日立製作所
ロボット制御装置、ロボット制御システム、ロボット、及びロボット制御方法
2日前
株式会社日立製作所
トレーサビリティ情報作成支援システム及びトレーサビリティ情報作成支援方法
2日前
株式会社日立製作所
サプライチェーンネットワーク作成方法、サプライチェーンネットワーク作成装置、及びプログラム
2日前
株式会社西部技研
除湿装置
1か月前
株式会社日本触媒
ドロー溶質
1か月前
プライミクス株式会社
攪拌装置
17日前
サンノプコ株式会社
消泡剤
1か月前
日本バイリーン株式会社
フィルタ
1か月前
東レ株式会社
遠心ポッティング方法
1か月前
続きを見る
他の特許を見る