TOP
|
特許
|
意匠
|
商標
特許ウォッチ
Twitter
他の特許を見る
公開番号
2025177801
公報種別
公開特許公報(A)
公開日
2025-12-05
出願番号
2024084909
出願日
2024-05-24
発明の名称
外転型回転電機、巻上機、エレベーター
出願人
株式会社日立製作所
代理人
ポレール弁理士法人
主分類
H02K
9/22 20060101AFI20251128BHJP(電力の発電,変換,配電)
要約
【課題】
部品数を増やすことなく固定子フレーム10の熱伝導性を高め、固定子20の冷却性能を向上する。
【解決手段】
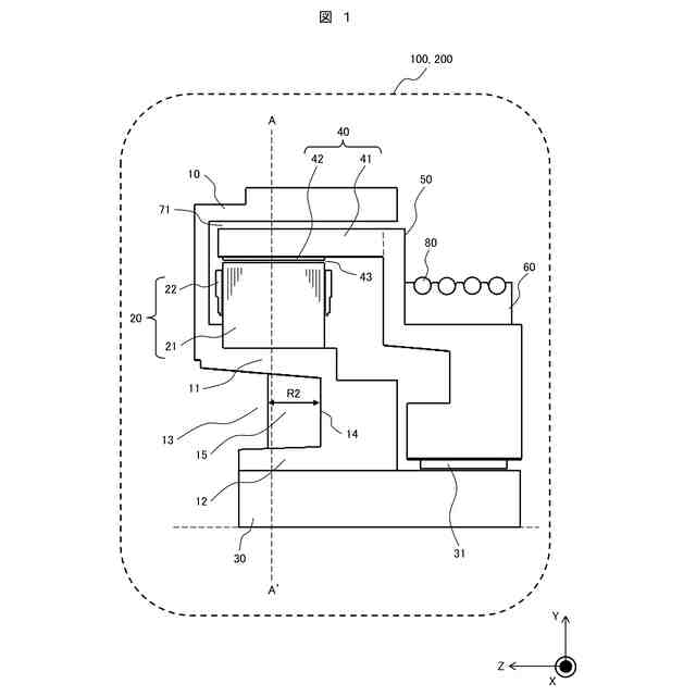
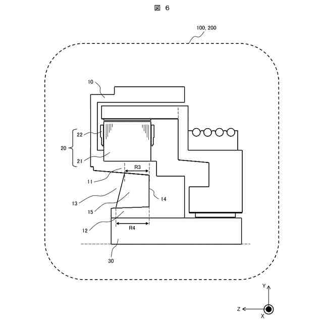
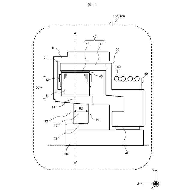
固定子フレーム10と、固定子フレーム10に取付けられた固定子20と、固定子フレーム10に固定された軸30と、固定子20よりも軸30の外周側に配置された回転子40と、を有する外転型回転電機100であって、固定子20は、固定子コア21と、コイル22と、を有し、固定子フレーム10は、軸30の周囲に形成され軸30の軸方向に窪んだ凹部13と、凹部13と固定子コア21との間に位置して固定子コア21に接触する第一部分11と、凹部13と軸30との間に位置して軸30に接触する第二部分12と、凹部13内に形成され第一部分11と第二部分12との間を接続するリブ15と、を有し、リブ15は、第一部分11および第二部分12と一体的に形成されているとともに、固定子コア21と重なる位置に配置されている。
【選択図】図1
特許請求の範囲
【請求項1】
固定子フレームと、
前記固定子フレームに取付けられた固定子と、
前記固定子フレームに固定された軸と、
前記固定子よりも前記軸の外周側に配置された回転子と、を有する外転型回転電機であって、
前記固定子は、固定子コアと、コイルと、を有し、
前記固定子フレームは、前記軸の周囲に形成され前記軸の軸方向に窪んだ凹部と、前記凹部と前記固定子コアとの間に位置して前記固定子コアに接触する第一部分と、前記凹部と前記軸との間に位置して前記軸に接触する第二部分と、前記凹部内に形成され前記第一部分と前記第二部分との間を接続するリブと、を有し、
前記リブは、前記第一部分および前記第二部分と一体的に形成されているとともに、前記固定子コアと重なる位置に配置されていることを特徴とする外転型回転電機。
続きを表示(約 840 文字)
【請求項2】
請求項1において、
前記固定子フレームは、前記凹部の前記軸方向の底部を有し、
前記リブは、前記底部に接続されているとともに、前記底部と一体的に形成されていることを特徴とする外転型回転電機。
【請求項3】
請求項1において、
前記固定子フレームは、複数の前記リブを有することを特徴とする外転型回転電機。
【請求項4】
請求項1において、
前記固定子コアの前記軸方向の寸法の半分の位置が、前記凹部と重なることを特徴とする外転型回転電機。
【請求項5】
請求項1において、
前記リブの前記軸の円周方向の寸法のうち最も狭い部分の寸法は、前記リブの前記軸方向の寸法よりも小さいことを特徴とする外転型回転電機。
【請求項6】
請求項1において、
前記リブの前記軸の円周方向の寸法が、前記軸に近づくほど大きくなることを特徴とする外転型回転電機。
【請求項7】
請求項1において、
前記リブの前記軸方向の寸法が、前記軸に近づくほど大きくなることを特徴とする外転型回転電機。
【請求項8】
請求項3において、
前記固定子フレームは、隣接する前記リブ同士を接続するリブブリッジを有することを特徴とする外転型回転電機。
【請求項9】
請求項1から8の何れか1項に記載の外転型回転電機と、
前記軸を中心に前記回転子と一体に回転するドラムと、
前記ドラムに設けられ外側にロープを巻付けるためのシーブと、
前記ドラムの回転を抑制するためのブレーキと、を有することを特徴とする巻上機。
【請求項10】
請求項9に記載の巻上機と、
前記巻上機の前記シーブに巻付けられた前記ロープと、
前記ロープに接続された乗りかごと、を有することを特徴とするエレベーター。
発明の詳細な説明
【技術分野】
【0001】
本発明は、外転型回転電機、巻上機、エレベーターに関する。
続きを表示(約 1,600 文字)
【背景技術】
【0002】
エレベーターの巻上機は、駆動力源となるモータ(回転電機)と、ロープを巻き上げるシーブ(綱車)と、シーブを停止するブレーキを一体化した構造の機械である。シーブは、モータの回転子と一体になったドラムとともに回転する。ブレーキは、モータの固定子をカバーするフレームに取り付けられている。
【0003】
モータに通電することで巻上機を運転すると、モータを構成する固定子や回転子にはそれぞれ損失が発生し、コイルやコアが発熱する。通常、コイルは絶縁被膜のある銅線をコアに巻くことで形成されており、コイルやコアの発熱による温度上昇によって、コイルの絶縁被膜の温度が耐久温度を越えると、コイルの損傷やモータ自体の故障の原因となる。
【0004】
モータの放熱に関する技術としては、例えば特許文献1がある。
【0005】
特許文献1の請求項1には、「軸と、該軸の軸中心まわりに回転可能な回転子フレームと、該回転子フレームの内周側に取付けた回転子コアおよび永久磁石を備えた回転子と、前記軸のまわりに設けた固定子フレームと、前記永久磁石と所定の空隙を有して前記回転子の内径側に配置され前記固定子フレームに取付けられた固定子コアおよびコイルを備えた固定子と、を有する外転型回転電機であって、前記固定子の内側から前記軸に並行に前記固定子フレームの外側の面を超えて延伸する放熱フィンを有し、該放熱フィンを前記固定子フレームの外側において固定した外転型回転電機」との記載がある。
【0006】
また、特許文献1の図1および要約には、「放熱フィンは、固定子フレームの外側の面に取付けられる。これにより、放熱フィンの取付けは簡単になり、かつフィン放熱部により放熱が促進されるので冷却性能を向上させることができる」との記載がある。
【先行技術文献】
【特許文献】
【0007】
特開2020-43693号公報
【発明の概要】
【発明が解決しようとする課題】
【0008】
しかしながら、特許文献1の図1のように、外付けの放熱フィン(15)を固定子フレーム(8)の外側の面に取付ける構造だと、部品数増加や、大型化、重量化の原因となり、機械のコストが上がるだけでなく、エレベーターの巻上機として用いた場合に、昇降路内への設置や運搬が困難になるという課題がある。また、外付けの放熱フィン(15)と固定子フレーム(8)とが別体であるため、両者の間の隙間を完全になくすことは困難であり、熱伝導性を高めるのに限界があるという課題がある。
【0009】
本発明が解決しようとする課題は、部品数を増やすことなく固定子フレームの熱伝導性を高め、固定子の冷却性能を向上した外転型回転電機、巻上機、エレベーターを提供することである。
【課題を解決するための手段】
【0010】
上記した課題を解決するために、本発明の外転型回転電機は、固定子フレームと、前記固定子フレームに取付けられた固定子と、前記固定子フレームに固定された軸と、前記固定子よりも前記軸の外周側に配置された回転子と、を有する外転型回転電機であって、前記固定子は、固定子コアと、コイルと、を有し、前記固定子フレームは、前記軸の周囲に形成され前記軸の軸方向に窪んだ凹部と、前記凹部と前記固定子コアとの間に位置して前記固定子コアに接触する第一部分と、前記凹部と前記軸との間に位置して前記軸に接触する第二部分と、前記凹部内に形成され前記第一部分と前記第二部分との間を接続するリブと、を有し、前記リブは、前記第一部分および前記第二部分と一体的に形成されているとともに、前記固定子コアと重なる位置に配置されていることを特徴とする。
(【0011】以降は省略されています)
この特許をJ-PlatPat(特許庁公式サイト)で参照する
関連特許
株式会社日立製作所
環境負荷算出装置
3日前
株式会社日立製作所
診断装置及び診断方法
3日前
株式会社日立製作所
情報提示装置及び方法
3日前
株式会社日立製作所
実行ハードウエア決定方法
3日前
株式会社日立製作所
脆弱性分析装置、脆弱性分析方法
3日前
株式会社日立製作所
量子デバイス及び量子情報処理装置
3日前
株式会社日立製作所
位置推定システム及び位置推定方法
4日前
株式会社日立製作所
材料提案システムおよび材料提案装置
3日前
株式会社日立製作所
車両運行制御装置及び車両運行制御方法
3日前
株式会社日立製作所
システム設計最適化システムおよび方法
3日前
株式会社日立製作所
外転型回転電機、巻上機、エレベーター
3日前
株式会社日立製作所
電解システム及び電解システムの診断方法
3日前
株式会社日立製作所
支援装置、支援方法、及び支援プログラム
3日前
株式会社日立製作所
実験設計支援装置、及び実験設計支援方法
3日前
株式会社日立製作所
ダイヤ作成システムおよびダイヤ作成方法
3日前
株式会社日立製作所
鉄道保守支援システム、鉄道保守支援方法
3日前
株式会社日立製作所
計画作成支援方法及び計画作成支援システム
3日前
株式会社日立製作所
施策立案支援システム及び施策立案支援方法
3日前
株式会社日立製作所
電力系統安定化装置および電力系統安定化方法
3日前
株式会社日立製作所
SOC目標設定システム及び二次電池システム
3日前
株式会社日立製作所
脆弱性対策管理システム、及び脆弱性対策管理方法
3日前
株式会社日立製作所
脆弱性対策管理システム、及び脆弱性対策管理方法
3日前
株式会社日立製作所
衣料回収システム、衣料回収装置および衣料管理装置
3日前
株式会社日立製作所
生成支援システム、生成支援方法、および生成支援プログラム
3日前
株式会社日立製作所
管制マップ作成装置、管制装置、管制システム、および管制方法
3日前
株式会社日立製作所
分散行動制御装置、分散行動制御システムおよび分散行動制御方法
3日前
株式会社日立製作所
画像認識支援装置、画像認識支援方法、及び、画像認識支援プログラム
3日前
株式会社日立製作所
ロボット制御装置、ロボット制御システム、ロボット、及びロボット制御方法
3日前
株式会社日立製作所
トレーサビリティ情報作成支援システム及びトレーサビリティ情報作成支援方法
3日前
株式会社日立製作所
サプライチェーンネットワーク作成方法、サプライチェーンネットワーク作成装置、及びプログラム
3日前
個人
電気を重力で発電装置
1か月前
個人
高圧電気機器の開閉器
19日前
キヤノン電子株式会社
モータ
1か月前
キヤノン電子株式会社
モータ
1か月前
コーセル株式会社
電源装置
1か月前
日星電気株式会社
ケーブル組立体
1か月前
続きを見る
他の特許を見る