TOP
|
特許
|
意匠
|
商標
特許ウォッチ
Twitter
他の特許を見る
10個以上の画像は省略されています。
公開番号
2025177503
公報種別
公開特許公報(A)
公開日
2025-12-05
出願番号
2024084407
出願日
2024-05-23
発明の名称
システム設計最適化システムおよび方法
出願人
株式会社日立製作所
代理人
弁理士法人ウィルフォート国際特許事務所
主分類
G06F
8/10 20180101AFI20251128BHJP(計算;計数)
要約
【課題】対象システムの設計を効率的に最適化することができるシステム設計最適化システムおよび方法を提供すること。
【解決手段】対象システムの設計を最適化するシステム設計最適化システム1は、対象システムの利害関係人1000から対象システムの改善に関するフィードバックを取得し、取得したフィードバックを対象システムへ適用するために解釈し、解釈の結果から対象システムへ与える指示セットを生成し、指示セットの実施状況を利害関係人に提供し、利害関係人が承認するまで、対象システムの改善に関するフィードバックを取得する。
【選択図】図1
特許請求の範囲
【請求項1】
対象システムの設計を最適化するシステム設計最適化システムであって、
前記対象システムの利害関係人から前記対象システムの改善に関するフィードバックを取得し、
前記取得したフィードバックを前記対象システムへ適用するために解釈し、
前記解釈の結果から前記対象システムへ与える指示セットを生成し、
前記指示セットの実施状況を前記利害関係人に提供し、
前記利害関係人が承認するまで、前記対象システムの改善に関するフィードバックを取得する
システム設計最適化システム。
続きを表示(約 1,800 文字)
【請求項2】
前記対象システムについての前記利害関係人から前記フィードバックを受け付けるフィードバック受付部と、
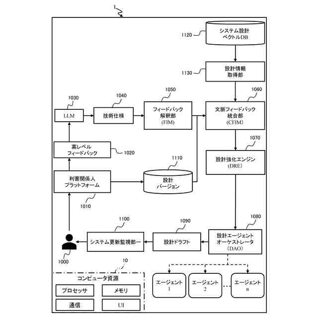
入力された情報から技術仕様を生成するように学習された大規模言語モデル部であって、前記フィードバック受付部により受け付けられた前記フィードバックから技術仕様を生成する大規模言語モデル部と、
前記大規模言語モデル部により生成された前記技術仕様を解釈するフィードバック解釈部と、
前記フィードバック解釈部による解釈の結果に基づいて、前記対象システムの持つ複数の要素のうち変更すべき要素と変更内容とを示す構造化された実行可能な指示セットを生成する文脈フィードバック統合部と、
前記文脈フィードバック統合部により生成された前記指示セットから、前記対象システムの設計を更新させる設計更新指示を生成する設計強化部と、
前記設計強化部により生成された前記設計更新指示に基づいて、前記設計更新指示を前記対象システムに実装する変更実行部へ送って駆動させる実装制御部と、
前記実装制御部による実装状態を監視し、監視結果を含む監視情報を前記利害関係人へ提供する更新監視部と、
を備える請求項1に記載のシステム設計最適化システム。
【請求項3】
前記フィードバック受付部は、前記監視情報を受領した前記利害関係人から新たなフィードバックを受け付ける
請求項2に記載のシステム設計最適化システム。
【請求項4】
前記文脈フィードバック統合部は、前記構造化された実行可能な指示セットに含まれる各指示に実装の優先順位を設定する
請求項3に記載のシステム設計最適化システム。
【請求項5】
前記文脈フィードバック統合部は、前記要素のうち変更対象の要素と前記要素のうち他の要素との依存関係に基づいて、前記指示セットを生成する
請求項4に記載のシステム設計最適化システム。
【請求項6】
前記文脈フィードバック統合部は、前記対象システムに設定されているシステム制約を満たすように、前記指示セットを生成する
請求項5に記載のシステム設計最適化システム。
【請求項7】
前記設計強化部は、前記受け付けられたフィードバックに基づいて学習する強化学習部を備え、前記強化学習部により前記設計更新指示を生成する
請求項6に記載のシステム設計最適化システム。
【請求項8】
前記設計強化部は、定義された状態空間、アクション空間、報酬関数に基づいて、前記強化学習部により前記設計更新指示を繰り返して生成させる
請求項7に記載のシステム設計最適化システム。
【請求項9】
前記状態空間は前記対象システムにおいて可能なすべての設定を示し、前記アクション空間は前記対象モデルが実行可能なすべてのアクションであって、最適な選択である可能性を示す確率の重みを有する前記アクションを含んでおり、前記報酬関数は前記対象モデルが実行する前記各アクションの有効性を評価するものである
請求項8に記載のシステム設計最適化システム。
【請求項10】
コンピュータによって、対象システムの設計を最適化させるシステム設計最適化方法であって、
前記コンピュータは、
前記対象システムの利害関係人から前記対象システムの改善に関するフィードバックを受け付け、
入力された情報から技術仕様を生成するように学習された大規模言語モデル部により、前記受け付けられたフィードバックから技術仕様を生成し、
前記生成された技術仕様を解釈し、
前記解釈の結果に基づいて、前記対象システムの持つ複数の要素のうち変更すべき要素と変更内容とを示す構造化された実行可能な指示セットを生成し、
前記生成された指示セットから、前記対象システムの設計を更新させる設計更新指示を生成し、
前記生成された設計更新指示に基づいて、前記設計更新指示を前記対象システムに実装させ、
前記実装の状態を監視し、監視結果を含む監視情報を前記利害関係人へ提供する
システム設計最適化方法。
(【請求項11】以降は省略されています)
発明の詳細な説明
【技術分野】
【0001】
本開示は、システム設計最適化システムおよび方法に関する。
続きを表示(約 960 文字)
【背景技術】
【0002】
システム設計最適化の分野は、従来、意思決定プロセスを自動化して強化するための計算モデルに依存してきた。従来のシステム設計手法では、設計プロセス全体を通して、システムエンジニアなどの専門家による継続的な監視が存在しない。このことは、複雑な依存関係や性能要件が存在する複雑な対象システムの最適化においては、大きな制約となっていた。
【0003】
システム最適化の手法としては、近似ベイズモンテカルロ木探索(ABMCTS)を含む技術が知られている(特許文献1)。この先行技術は、洗練されたアルゴリズムアプローチによって、設計パラメータの自動的な最適化を試みる。
【先行技術文献】
【特許文献】
【0004】
米国特許出願公開第2023/0088146号明細書
【発明の概要】
【発明が解決しようとする課題】
【0005】
しかし、先行技術には、以下の課題がある。
【0006】
第1に、人間の専門知識と対象システムへのフィードバックとが直接統合されていないため、微妙な洞察が欠落する可能性がある。
【0007】
第2に、予期せぬ設計要件や、初期モデルでは想定していなかった変更にうまく対応できない可能性がある。
【0008】
第3に、反復探索と最適化プロセスとを行うために、計算資源に大きく依存する。したがって、対象システムが複雑な場合は非効率になる可能性がある。
【0009】
第4に、アルゴリズムは局所最適に収束する可能性がある。したがって、より根本的な設計変更を必要とする、より良い解決策を見逃す可能性がある。
【0010】
さらに、先行技術には、対象システムの設計者や管理者などの重要な利害関係人からのタイムリーで詳細なフィードバックが機能として組み込まれていないため、対象システムの設計が実際のニーズを満たすことが難しい。先行技術では、通常、新しい要件やフィードバックに基づいてシステム設計を調整することができないため、効果的なシステム設計ができず、開発期間が長くなる可能性がある。
(【0011】以降は省略されています)
この特許をJ-PlatPat(特許庁公式サイト)で参照する
関連特許
他の特許を見る