TOP
|
特許
|
意匠
|
商標
特許ウォッチ
Twitter
他の特許を見る
10個以上の画像は省略されています。
公開番号
2025176769
公報種別
公開特許公報(A)
公開日
2025-12-05
出願番号
2024083065
出願日
2024-05-22
発明の名称
鉄道保守支援システム、鉄道保守支援方法
出願人
株式会社日立製作所
代理人
青稜弁理士法人
主分類
G06Q
10/20 20230101AFI20251128BHJP(計算;計数)
要約
【課題】
部品の余剰在庫を減らした部品発注計画を立案する。
【解決手段】
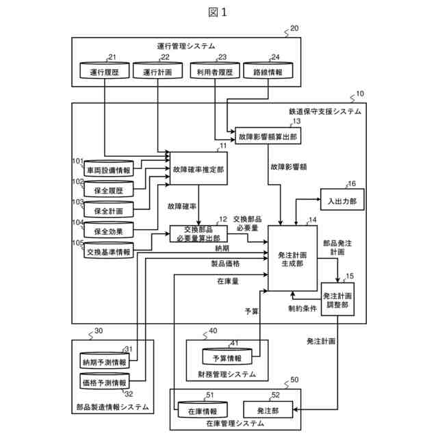
鉄道機器の在庫量および発注時期を管理する鉄道保守支援システムであって、鉄道車両の運行履歴より故障確率を推定する故障確率推定部と、鉄道機器の故障確率より同一型鉄道機器の必要量を算出する鉄道機器必要量算出部と、確率的な鉄道機器必要量を受け付け、在庫不足となり運行障害が発生する運行障害リスク、在庫過多によるコスト、鉄道機器の納期と価格に基づいて発注計画を生成する鉄道機器発注計画生成部と、生成された発注計画を出力する入出力部とを備える鉄道保守支援システム。
【選択図】 図1
特許請求の範囲
【請求項1】
鉄道機器の在庫量および発注時期を管理する鉄道保守支援システムであって、
鉄道車両の運行履歴より故障確率を推定する故障確率推定部と、
鉄道機器の故障確率より同一型鉄道機器の必要量を算出する鉄道機器必要量算出部と、
確率的な鉄道機器必要量を受け付け、在庫不足となり運行障害が発生する運行障害リスク、在庫過多によるコスト、鉄道機器の納期と価格に基づいて発注計画を生成する鉄道機器発注計画生成部と、
生成された発注計画を出力する入出力部とを備える鉄道保守支援システム。
続きを表示(約 1,100 文字)
【請求項2】
請求項1に記載の鉄道保守支援システムにおいて、
鉄道機器は部品である鉄道保守支援システム。
【請求項3】
請求項1に記載の鉄道保守支援システムにおいて、
鉄道機器は編成車両である鉄道保守支援システム。
【請求項4】
請求項1に記載の鉄道保守支援システムにおいて、
前記鉄道機器必要量算出部は鉄道機器の交換時期を変更し、鉄道機器の交換時期に基づいた鉄道機器の使用量を求める鉄道保守支援システム。
【請求項5】
請求項1に記載の鉄道保守支援システムにおいて、
前記鉄道機器必要量算出部は、鉄道機器毎に運行履歴、将来の運行計画、保全履歴、将来の保全計画に基づいて故障確率を推定し、求めた故障確率を加算することにより鉄道機器必要量を求める鉄道保守支援システム。
【請求項6】
請求項1に記載の鉄道保守支援システムにおいて、
前記入出力部は前記鉄道機器発注計画生成部が生成した発注計画に基づいて鉄道機器必要量と発注計画に基づく鉄道機器の在庫量の計画を出力し、発注量と発注時期の変更を受付け、
前記鉄道機器発注計画生成部は受付けた発注量と発注時期に基づき発注計画を再計算する鉄道保守支援システム。
【請求項7】
請求項1に記載の鉄道保守支援システムにおいて、
鉄道機器発注計画生成部が発注計画を作成するのに用いる運行障害リスクは、鉄道機器の不足により鉄道を運行できないとき、影響を受ける利用者数、対象路線の重要度をもとに算出した影響額である鉄道保守支援システム。
【請求項8】
請求項1に記載の鉄道保守支援システムにおいて、
故障確率推定部は保全作業による部品の実質稼働時間の低減効果を求め、求めた低減効果を基に故障確率低減分を算出する保全効果算出部を備える鉄道保守支援システム。
【請求項9】
鉄道機器の在庫量および発注時期を管理する鉄道保守支援方法であって、
故障確率推定部が鉄道車両の運行履歴より故障確率を推定し、
鉄道機器必要量算出部が鉄道機器の故障確率より同一型鉄道機器の必要量を算出し、
鉄道機器発注計画生成部が確率的な鉄道機器必要量を受け付け、在庫不足となり運行障害が発生する運行障害リスク、在庫過多によるコスト、鉄道機器の納期と価格に基づいて発注計画を生成し、
入出力部が生成された発注計画を出力する鉄道保守支援方法。
【請求項10】
請求項9に記載の鉄道保守支援方法において、
鉄道機器は部品である鉄道保守支援方法。
(【請求項11】以降は省略されています)
発明の詳細な説明
【技術分野】
【0001】
本発明は、鉄道保守支援システム、鉄道保守支援方法に関するものである。
続きを表示(約 1,200 文字)
【背景技術】
【0002】
従来、鉄道事業者では設備の定期的な保全を行う時間基準保全が一般的であった。一方で、近年、設備の劣化状況を基に異常や故障の予兆を検知し、必要な設備のみ保全を行う状態基準保全又は予知保全への転換が進展している。
【0003】
一般に、機器の交換部品の在庫を管理する際、在庫量がしきい値を下回ったら発注するという運用がされる。特に鉄道会社の場合には汎用品ではなく特注品の機器や部品が多いため、発注リードタイムが大きい場合に在庫不足のリスクが高く、その予防のために過剰在庫を抱えてコスト増となることが予想される。
【0004】
上述の背景に対して、特許文献1には、鉄道車両に搭載される部品の寿命情報に基づき部品の交換を判断し、交換部品の納期予測情報に基づき、交換部品の発注処理を行う保守管理システムが記載されている。
【先行技術文献】
【特許文献】
【0005】
WO2021/100125号公報
【発明の概要】
【発明が解決しようとする課題】
【0006】
特許文献1では、寿命情報が確定論的に推定されている。寿命情報はあくまで推定値であり、本来は確率的な情報である。そのため、低確率で早期に故障するリスクを考慮できていない。
【0007】
また、特許文献1では、ある一定のしきい値の寿命を迎えたら部品交換および部品の発注が実行される。このしきい値に余裕を持たせた値に設定すると、部品の故障発生時のリスクを下げることはできるが、より多くの部品交換が必要となり、固定資産や在庫の過剰化によりコストが増加する。すわなち、特許文献1では部品の故障リスクと故障を防ぐためのコストを定量的に評価して発注計画を立てることは考慮されていない。
【0008】
そこで、本発明は、上記課題に鑑みてなされたもので、その目的は、確率的な交換部品の必要量を算出し、故障リスクと故障を防ぐためのコストをバランスした交換部品発注計画を生成する技術を提供することにある。
【課題を解決するための手段】
【0009】
上記課題は鉄道機器の在庫量および発注時期を管理する鉄道保守支援システムであって、鉄道車両の運行履歴より故障確率を推定する故障確率推定部と、鉄道機器の故障確率より同一型鉄道機器の必要量を算出する鉄道機器必要量算出部と、確率的な鉄道機器必要量を受け付け、在庫不足となり運行障害が発生する運行障害リスク、在庫過多によるコスト、鉄道機器の納期と価格に基づいて発注計画を生成する鉄道機器発注計画生成部と、生成された発注計画を出力する入出力部とを備える鉄道保守支援システムにより達成される。
【発明の効果】
【0010】
本発明によれば、部品の余剰在庫を減らした部品発注計画を立案することができる。
【図面の簡単な説明】
(【0011】以降は省略されています)
この特許をJ-PlatPat(特許庁公式サイト)で参照する
関連特許
他の特許を見る