TOP
|
特許
|
意匠
|
商標
特許ウォッチ
Twitter
他の特許を見る
10個以上の画像は省略されています。
公開番号
2025177043
公報種別
公開特許公報(A)
公開日
2025-12-05
出願番号
2024083533
出願日
2024-05-22
発明の名称
量子デバイス及び量子情報処理装置
出願人
株式会社日立製作所
代理人
青稜弁理士法人
主分類
H10N
60/00 20230101AFI20251128BHJP()
要約
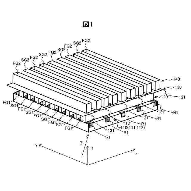
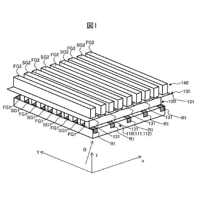
【課題】ジュール熱の増加を抑制しつつ漏れ磁場を抑制すると共にFidelityを向上できる量子デバイス及び量子情報処理装置を提供する。
【解決手段】量子デバイスは、列状に配置された量子ドットを有する半導体層を含む量子ドット形成層と、量子ドットに磁場を印加するゲート電極を含むゲート電極層と、ゲート電極層と量子ドット形成層との間に設けられ、超伝導材料で構成された磁気遮蔽部を複数含み、且つ、磁気遮蔽部の間に空隙が形成された磁気遮蔽層と、を備える。
【選択図】図1
特許請求の範囲
【請求項1】
列状に配置された量子ドットを有する半導体層を含む量子ドット形成層と、
前記量子ドットに磁場を印加するゲート電極を含むゲート電極層と、
前記ゲート電極層と前記量子ドット形成層との間に設けられ、超伝導材料で構成された磁気遮蔽部を複数含み、且つ、前記磁気遮蔽部の間に空隙が形成された磁気遮蔽層と、
を備える、
量子デバイス。
続きを表示(約 1,400 文字)
【請求項2】
請求項1に記載の量子デバイスにおいて、
前記ゲート電極層は、前記ゲート電極を含む第1ゲート電極層及び第2ゲート電極層を含み、
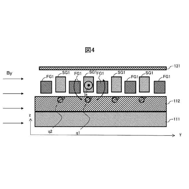
前記量子ドット形成層の法線方向に沿う方向をz方向とした場合において、前記z方向において前記量子ドット形成層上に前記第1ゲート電極層が配置され、前記第1ゲート電極層上に前記磁気遮蔽層が配置され、前記磁気遮蔽層上に、前記第2ゲート電極層が配置されている、
量子デバイス。
【請求項3】
請求項2に記載の量子デバイスにおいて、
前記磁気遮蔽部は、前記z方向において前記量子ドットと重なる位置に設けられている、
量子デバイス。
【請求項4】
請求項3に記載の量子デバイスにおいて、
前記第2ゲート電極層の前記ゲート電極は、前記z方向において前記磁気遮蔽部と重なる位置に設けられている、
量子デバイス。
【請求項5】
請求項1に記載の量子デバイスにおいて、
前記量子ドットは、
前記磁気遮蔽層には、前記空隙が前記量子ドットの列に沿うように形成される、
量子デバイス。
【請求項6】
請求項1に記載の量子デバイスにおいて、
前記量子ドットは、二次元列状に配置され、
前記磁気遮蔽層には、前記空隙が、第1の方向に並ぶ前記量子ドットの列に沿うように形成され、且つ、前記第1の方向に並ぶ前記量子ドットの列に直交するように形成される、
量子デバイス。
【請求項7】
請求項2に記載の量子デバイスにおいて、
前記z方向と直交する面内の所定の方向の外部磁場が前記量子ドット形成層に対して印加される、
量子デバイス。
【請求項8】
列状に配置された量子ドットを有する半導体層を含む量子ドット形成層と、
ゲート電極を含むゲート電極層と、
超伝導材料で構成される磁気遮蔽層と常伝導体で構成される常伝導体層とを含むバイメタル構造の配線を複数含み、且つ、前記バイメタル構造の配線の間に空隙が形成されたバイメタル配線層と、
を備える、
量子デバイス。
【請求項9】
請求項8に記載の量子デバイスにおいて、
前記ゲート電極層は、前記ゲート電極を含む第1ゲート電極層及び第2ゲート電極層を含み、
前記バイメタル配線層は、第1の方向に沿って前記バイメタル構造の配線が配置された第1バイメタル配線層と、前記第1の方向に直交する第2の方向に沿って前記バイメタル構造の配線が配置された第2バイメタル配線層と、を含み、
前記量子ドット形成層の法線方向に沿う方向をz方向とした場合において、前記z方向において前記第1バイメタル配線層上に前記第2バイメタル配線層が配置され、前記第2バイメタル配線層上に、前記量子ドット形成層が配置され、前記量子ドット形成層上に、前記第1ゲート電極層が配置され、前記第1ゲート電極層上に、前記第2ゲート電極層が配置された、
量子デバイス。
【請求項10】
請求項8に記載の量子デバイスにおいて、
前記バイメタル構造の配線は、前記量子ドット形成層の法線方向に沿う方向をz方向とした場合に、前記z方向において前記量子ドットと重なる位置に設けられている、
量子デバイス。
(【請求項11】以降は省略されています)
発明の詳細な説明
【技術分野】
【0001】
本発明は、量子デバイス及び量子情報処理装置に関する。
続きを表示(約 1,500 文字)
【背景技術】
【0002】
シリコン量子コンピュータは、量子ビット(qubit)を使用して情報を処理するコンピュータであり、高度なコヒーレンス時間と既存の半導体製造技術との互換性から、量子コンピューティングの有望な候補として研究及び開発が進められている。
【0003】
特許文献1は、量子情報処理システムに適用されるフレキシブル基板を開示する。フレキシブル基板は、第1の側にアレイ状に配置された複数の導電性トレースと、第1の側とは反対の第2の側に電子遮蔽層とが形成されている。フレキシブル基板は、電磁遮蔽層が、第1の導電性トレースと第2の導電性トレースとの間に電磁遮蔽を提供するように、第1の導電性トレースと第2の導電性トレースの間に折畳み領域を含む。
【0004】
特許文献2は、量子コンピューティングデバイスを開示する。量子コンピューティングデバイスは、超伝導体からなるチップセットと、1組のワイヤボンドによってチップセット・ダイに取り付けられた少なくとも1つの超伝導データ線と、1組のワイヤボンドをそれぞれ分離する磁気遮蔽壁とを含む。
【先行技術文献】
【特許文献】
【0005】
特開2022-136080号公報
特表2021-521626号公報
【発明の概要】
【発明が解決しようとする課題】
【0006】
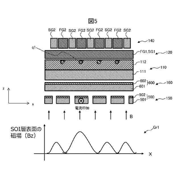
量子ドットアレイチップは、極低温(例えば100mK)で動作し、アレイ状に配置した量子ビットを選択的に制御するため、外部から印加する磁場(例えば0.7T)に加えて、直交するゲート電極に局所電流を印加して局所磁場を発生し、選択量子ビットの歳差運動の周波数をシフトさせ量子ビット操作を行う。局所磁場は実際には非選択量子ビットにも広がり(漏れ磁場)、Fidelityの劣化要因となる。
【0007】
そこで、漏れ磁場をキャンセルするため、平行な2線のゲート電極に対して、互いに逆方向の電流を印加することで漏れ磁場をキャンセルすること(以下、「二線方式」と称呼される場合がある。)が行われている。しかし、二線方式では、電流を流す配線数が増加するので、ジュール熱が増大してしまう。
【0008】
なお、特許文献1の技術は、フレキシブル基板による電磁遮蔽である。特許文献1には、本発明のような空隙を有する電磁遮蔽層が配置される構成について記載されていない。特許文献2には、ワイヤボンド間に、水平方向の空間を隔離する空隙のない鉛直方向に沿った磁気遮蔽壁を設置することが記載されているが、特許文献1と同様、上記本発明の構成について記載されていない。
【0009】
本発明は上記課題を解決するためになされた。即ち、本発明の目的の一つは、ジュール熱の増加を抑制しつつ漏れ磁場を抑制すると共にFidelityを向上できる量子デバイス及び量子情報処理装置を提供することにある。
【課題を解決するための手段】
【0010】
上記課題を解決するために、本発明の量子デバイスは、列状に配置された量子ドットを有する半導体層を含む量子ドット形成層と、前記量子ドットに磁場を印加するゲート電極を含むゲート電極層と、前記ゲート電極層と前記量子ドット形成層との間に設けられ、超伝導材料で構成された磁気遮蔽部を複数含み、且つ、前記磁気遮蔽部の間に空隙が形成された磁気遮蔽層と、を備える。
(【0011】以降は省略されています)
この特許をJ-PlatPat(特許庁公式サイト)で参照する
関連特許
株式会社日立製作所
回転電機
9日前
株式会社日立製作所
軌条車両
3日前
株式会社日立製作所
冷却構造
3日前
株式会社日立製作所
演算装置
9日前
株式会社日立製作所
電力変換装置
3日前
株式会社日立製作所
電力変換装置
4日前
株式会社日立製作所
電力変換システム
17日前
株式会社日立製作所
環境負荷算出装置
2日前
株式会社日立製作所
分散電源管理システム
4日前
株式会社日立製作所
情報提示装置及び方法
2日前
株式会社日立製作所
診断装置及び診断方法
2日前
株式会社日立製作所
施設管理装置および方法
17日前
株式会社日立製作所
生産ライン設計システム
25日前
株式会社日立製作所
乗降床及び乗客コンベア
1か月前
株式会社日立製作所
実行ハードウエア決定方法
2日前
株式会社日立製作所
モータ、及びロータ固定構造
9日前
株式会社日立製作所
IT運用管理装置および方法
10日前
株式会社日立製作所
ソフトエラー率評価システム
18日前
株式会社日立製作所
ソースコードを生成する方法
25日前
株式会社日立製作所
膜分離設備設計支援システム
17日前
株式会社日立製作所
検証システムおよび検証方法
9日前
株式会社日立製作所
宇宙機、地上局及びアンテナ
17日前
株式会社日立製作所
設計支援装置及び設計支援方法
9日前
株式会社日立製作所
鉄道車両の排障器及び鉄道車両
4日前
株式会社日立製作所
広告支援装置および広告支援方法
10日前
株式会社日立製作所
ガス分離システムの劣化診断装置
17日前
株式会社日立製作所
スカートモール及び乗客コンベア
17日前
株式会社日立製作所
水素製造制御システムおよび方法
11日前
株式会社日立製作所
脆弱性分析装置、脆弱性分析方法
2日前
株式会社日立製作所
立体構造宇宙機及びその制御方法
1か月前
株式会社日立製作所
量子デバイス及び量子情報処理装置
2日前
株式会社日立製作所
情報処理システム及び情報処理方法
9日前
株式会社日立製作所
位置推定システム及び位置推定方法
3日前
株式会社日立製作所
異常診断装置及び異常診断システム
9日前
株式会社日立製作所
テスト支援装置及びテスト支援方法
17日前
株式会社日立製作所
データ処理装置およびデータ処理方法
1か月前
続きを見る
他の特許を見る